TOP
|
特許
|
意匠
|
商標
特許ウォッチ
Twitter
他の特許を見る
公開番号
2025089814
公報種別
公開特許公報(A)
公開日
2025-06-16
出願番号
2023204706
出願日
2023-12-04
発明の名称
調査ロボットユニット
出願人
国立大学法人 長崎大学
代理人
個人
,
個人
,
個人
,
個人
主分類
B63B
35/00 20200101AFI20250609BHJP(船舶またはその他の水上浮揚構造物;関連艤装品)
要約
【課題】海面及び海中の両方においてそれぞれの状態を調査できる調査ロボットユニットを提供する。
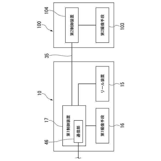
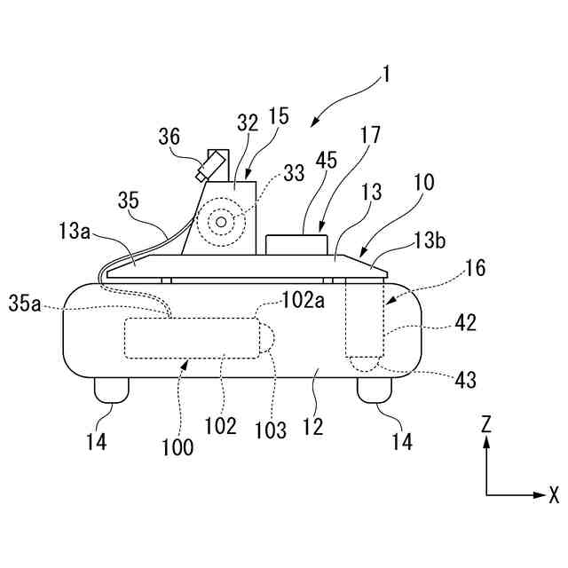
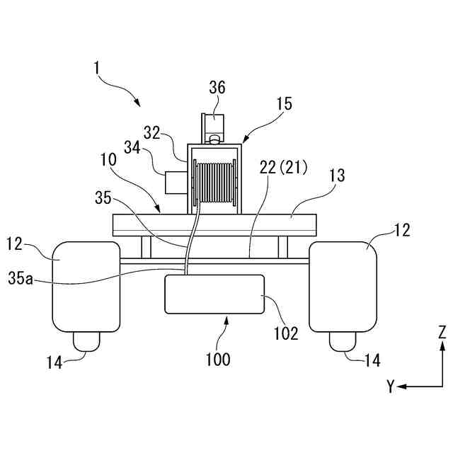
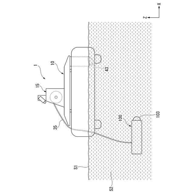
【解決手段】調査ロボットユニット1は、海面に浮かぶ船型ロボット10と、海中を移動する水中ロボット100と、を備える。船型ロボット10は、通信部を有する。水中ロボット100は、船型ロボット10のケージに分離可能に収納可能で、かつ、船型ロボット10と通信部を介して通信可能である。船型ロボット10は、海面を撮影する第1カメラ43を備える。水中ロボット100は、海中を撮影する第3カメラ103を備える。
【選択図】図2
特許請求の範囲
【請求項1】
通信部を有する船型ロボットと、
前記船型ロボットに分離可能に固定可能で、かつ、前記船型ロボットと通信可能な水中ロボットと、を備え、
前記船型ロボット及び前記水中ロボットのそれぞれに撮像手段が備えられている、調査ロボットユニット。
続きを表示(約 62 文字)
【請求項2】
前記水中ロボットは、前記船型ロボットに格納可能である、請求項1に記載の調査ロボットユニット。
発明の詳細な説明
【技術分野】
【0001】
本発明は、調査ロボットユニットに関する。
続きを表示(約 1,400 文字)
【背景技術】
【0002】
調査ロボットユニットとして、水中を移動可能な水中航走体と、水中航走体の移動に合わせて水面を移動する水上移動体と、を備えたものが知られている。水中航走体には、カメラが備えられている。カメラは、海中(水中)を撮影した画像を海中情報として収集する。よって、水中航走体のカメラで海中の状態を調査することが可能である(例えば、特許文献1参照)。
【先行技術文献】
【特許文献】
【0003】
特開2010-139270号公報
【発明の概要】
【発明が解決しようとする課題】
【0004】
しかし、調査ロボットユニットは、水中航走体のみにカメラが備えられている。このため、海面の状態(例えば、海面のごみの状態等)を調査することが難しい。
【0005】
本発明は、前述した事情に鑑みてなされたものであって、海面及び海中の両方においてそれぞれの状態を調査できる調査ロボットユニットを提供することを目的とする。
【課題を解決するための手段】
【0006】
前記課題を解決するために、本発明は以下の手段を提案している。
<1>本発明の一態様に係る調査ロボットユニットは、通信部を有する船型ロボットと、前記船型ロボットに分離可能に固定可能で、かつ、前記船型ロボットと通信可能な水中ロボットと、前記船型ロボット及び前記水中ロボットのそれぞれに撮像手段が備えられている。
【0007】
調査ロボットユニットによれば、船型ロボットに水中ロボットを分離可能に固定可能とした。また、船型ロボットと水中ロボットとを通信可能とした。さらに、船型ロボット及び水中ロボットのそれぞれに撮像手段を備えた。よって、船型ロボットの撮像手段で海面の画像を撮影できる。また、水中ロボットの撮像手段で海中の画像を撮影できる。これにより、海面の画像及び海中の画像を船型ロボットの通信部から外部に送信して、海面及び海中の情報を収集できる。この結果、海面及び海中の両方において漂流する物体(例えば、ごみ)の状態を調査できる。
【0008】
また、得られた映像情報を基づいて、地形情報、海底情報、潮流シミュレーション等と組み合わせて、海洋ゴミの3D予想マップをシミュレーションできる。この予想マップに基づいて、海洋ゴミが流れていく場所に範囲を事前に提示できる。
さらに、調査ロボットユニットを、養殖用の生け簀等において、魚類の成育状態等を確認する場合にも応用できる。加えて、調査ロボットユニットを、海底遺跡や海中構造物を調査する場合にも応用できる。
【0009】
<2>上記<1>に係る調査ロボットユニットでは、前記水中ロボットは、前記船型ロボットに格納可能であってもよい。
【0010】
調査ロボットユニットによれば、船型ロボットに水中ロボットを格納するようにした。よって、調査ロボットユニットをコンパクトにまとめることができる。これにより、例えば、海面において船型ロボットから水中ロボットを分離させることにより、調査ロボットユニットを海面に容易に浮かべることができる。また、例えば、海面において船型ロボットに水中ロボットを格納させることにより、調査ロボットユニットを海面から容易に回収できる。
【発明の効果】
(【0011】以降は省略されています)
この特許をJ-PlatPat(特許庁公式サイト)で参照する
関連特許
国立大学法人 長崎大学
調査ロボットユニット
3か月前
国立大学法人 長崎大学
殺原虫速度の評価方法
4か月前
国立大学法人 長崎大学
清掃ロボット及び清掃ロボットユニット
5か月前
国立大学法人 長崎大学
給餌制御システム、給餌制御方法、及びプログラム
9日前
国立大学法人 長崎大学
水処理方法、該方法に使用するビーズ及び水処理装置
3か月前
株式会社マンダム
皮膚疾患抑制剤のスクリーニング方法
4か月前
長崎県
生物学的検体の分析方法及び検体回収容器の再生方法
9日前
株式会社mAbProtein
活性型IL-18検出キット、及び検査方法
4か月前
大阪ガスケミカル株式会社
分子篩炭素及びその製造方法、並びにガス分離装置
5か月前
国立大学法人 長崎大学
細胞、細胞を用いたタンパク質を発現させる方法、発現コンストラクト及び形質転換細胞
6か月前
個人
水上遊具
4か月前
個人
川下り用船
10か月前
個人
洋上研究所
2か月前
個人
発電船
11か月前
個人
津波防災ウエア
1か月前
個人
補助機構
7か月前
個人
船用横揺防止具
8か月前
個人
コンパクトシティ船
7か月前
個人
渦流動力推進構造
6か月前
個人
セールのバテンガイド装置
3か月前
炎重工株式会社
浮標
9か月前
個人
水質浄化・集熱昇温システム
3か月前
炎重工株式会社
浮標
9か月前
住友重機械工業株式会社
船舶
3か月前
炎重工株式会社
移動体
12か月前
株式会社フルトン
水中捕捉装置
7か月前
個人
船舶
9か月前
株式会社ラフティ
サーフボード
3か月前
個人
スクリュープロペラ
6か月前
個人
回転式による流体流出防止タンカー
7か月前
オーケー工業株式会社
係留フック
7か月前
スズキ株式会社
船外機
6か月前
スズキ株式会社
船外機
5か月前
スズキ株式会社
船外機
5か月前
スズキ株式会社
船外機
6か月前
朝日電装株式会社
船外機用照明装置
2か月前
続きを見る
他の特許を見る