TOP
|
特許
|
意匠
|
商標
特許ウォッチ
Twitter
他の特許を見る
公開番号
2025032624
公報種別
公開特許公報(A)
公開日
2025-03-12
出願番号
2023138014
出願日
2023-08-28
発明の名称
アクチュエータ
出願人
カヤバ株式会社
代理人
弁理士法人後藤特許事務所
主分類
F15B
15/18 20060101AFI20250305BHJP(流体圧アクチュエータ;水力学または空気力学一般)
要約
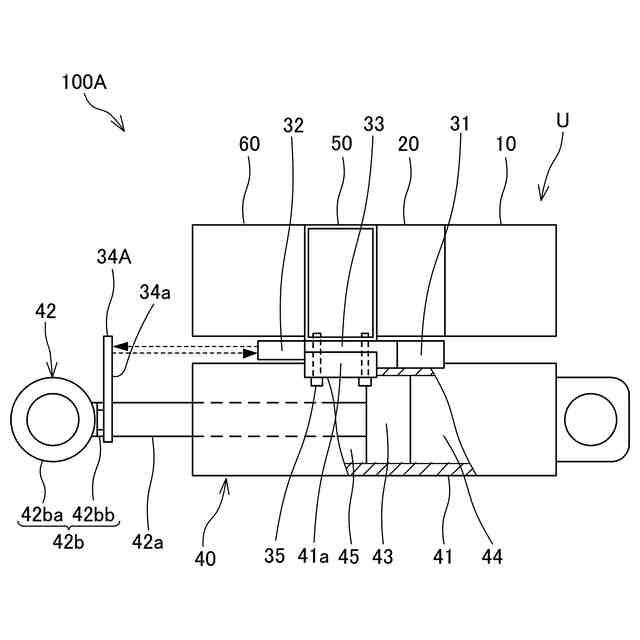
【課題】サイズ拡大を抑制しつつ状態センサを設置する。
【解決手段】電動油圧シリンダ100Aは、シリンダ部としての油圧シリンダ40と、油圧シリンダ40と並列に配置され油圧シリンダ40を駆動する駆動部としてのユニットUと、油圧シリンダ40とユニットUとの間に配置され、電動油圧シリンダ100Aの状態を検出する状態センサとしての圧力センサ31とストロークセンサ32とを備える。
【選択図】図1
特許請求の範囲
【請求項1】
シリンダ部と、前記シリンダ部と並列に配置され前記シリンダ部を駆動する駆動部と、を備えるアクチュエータであって、
前記シリンダ部と前記駆動部との間に配置され、前記アクチュエータの状態を検出する状態センサを有する、
ことを特徴とするアクチュエータ。
続きを表示(約 1,000 文字)
【請求項2】
請求項1に記載のアクチュエータであって、
前記シリンダ部は、流体圧シリンダであり、
前記駆動部は、前記流体圧シリンダへの作動流体の給排を行う作動流体供給源であり、
前記シリンダ部及び前記駆動部は、流体圧アクチュエータを構成し、
前記状態センサは、前記流体圧シリンダに給排される作動流体の圧力を検出する圧力センサである、
ことを特徴とするアクチュエータ。
【請求項3】
請求項1に記載のアクチュエータであって、
前記シリンダ部は、流体圧シリンダであり、
前記駆動部は、前記流体圧シリンダへの作動流体の給排を行う作動流体供給源であり、
前記シリンダ部及び前記駆動部は、流体圧アクチュエータを構成し、
前記状態センサは、前記流体圧シリンダのピストンロッドのストローク量を検出するストロークセンサである、
ことを特徴とするアクチュエータ。
【請求項4】
請求項1に記載のアクチュエータであって、
前記シリンダ部は、流体圧シリンダであり、
前記駆動部は、前記流体圧シリンダへの作動流体の給排を行う作動流体供給源であり、
前記シリンダ部及び前記駆動部は、流体圧アクチュエータを構成し、
前記状態センサは、前記流体圧シリンダに給排される作動流体の圧力を検出する圧力センサと、前記流体圧シリンダのピストンロッドのストローク量を検出するストロークセンサと、を含み、
前記圧力センサ及び前記ストロークセンサは、前記流体圧シリンダと前記作動流体供給源との間に配置され前記流体圧シリンダと前記作動流体供給源とが接続する接続部材に設けられる、
ことを特徴とするアクチュエータ。
【請求項5】
請求項4に記載のアクチュエータであって、
前記圧力センサ及び前記ストロークセンサは、前記接続部材と一体構成される、
ことを特徴とするアクチュエータ。
【請求項6】
請求項1に記載のアクチュエータであって、
前記シリンダ部は、シリンダと、前記シリンダ内を軸方向に沿って移動可能に設けられた可動部と、を有する軸方向可動機構であり、
前記駆動部は、前記軸方向可動機構を駆動する電動機であり、
前記シリンダ部及び前記駆動部は、電動アクチュエータを構成する、
ことを特徴とするアクチュエータ。
発明の詳細な説明
【技術分野】
【0001】
本発明はアクチュエータに関する。
続きを表示(約 1,300 文字)
【背景技術】
【0002】
特許文献1には、作動状態を検知する検出部が、ピストンロッドに設けられた検出棒と、シリンダの筒部に設けられ検出棒の移動に伴い作動するリミットスイッチとを有する構成の電動油圧シリンダが開示されている。特許文献2には、ピストンに取り付けられた作動棒の位置を測定するエンコーダをハウジングに取り付けた電気的油圧作動装置が開示されている。
【先行技術文献】
【特許文献】
【0003】
特開2016-56658号公報
特開平3-304号公報
【発明の概要】
【発明が解決しようとする課題】
【0004】
引用文献1に記載の発明では、作動状態を検知する検出部が電動油圧シリンダから張り出して設けられており、引用文献2に記載の発明では、作動状態を検知するエンコーダが電気的油圧作動装置から張り出して設けられている。このため、作動状態を検知する検出部を備えていないアクチュエータと交換しようとした場合に、検出部が周囲の部材と干渉するおそれがあり、互換性を確保することが困難である。
【0005】
本発明はこのような課題に鑑みてなされたもので、サイズ拡大を抑制しつつ状態センサを設置することを目的とする。
【課題を解決するための手段】
【0006】
本発明は、シリンダ部と、シリンダ部と並列に配置されシリンダ部を駆動する駆動部と、を備えるアクチュエータであって、シリンダ部と駆動部との間に配置され、アクチュエータの状態を検出する状態センサを有する、ことを特徴とするアクチュエータである。
【0007】
この発明によれば、シリンダ部と駆動部との間に状態センサを配置したので、状態センサがアクチュエータから大きく張り出すことを抑制できる。従って、状態センサを設置しても、アクチュエータのサイズ拡大を抑制できる。
【0008】
また、本発明は、シリンダ部は、流体圧シリンダであり、駆動部は、流体圧シリンダへの作動流体の給排を行う作動流体供給源であり、シリンダ部及び駆動部は、流体圧アクチュエータを構成し、状態センサは、流体圧シリンダに給排される作動流体の圧力を検出する圧力センサである、ことを特徴とする。
【0009】
この発明によれば、状態センサとして圧力センサを配置することで、流体圧シリンダに給排される作動流体の圧力を検出し易い位置に圧力センサを配置できる。つまり、状態センサが圧力センサであれば、検出に適した位置にセンサを設置しつつも、アクチュエータのサイズ拡大を抑制できる。
【0010】
また、本発明は、シリンダ部は、流体圧シリンダであり、駆動部は、流体圧シリンダへの作動流体の給排を行う作動流体供給源であり、シリンダ部及び駆動部は、流体圧アクチュエータを構成し、状態センサは、流体圧シリンダのピストンロッドのストローク量を検出するストロークセンサである、ことを特徴とする。
(【0011】以降は省略されています)
この特許をJ-PlatPat(特許庁公式サイト)で参照する
関連特許
カヤバ株式会社
減圧弁
1日前
カヤバ株式会社
摩擦試験機
3日前
カヤバ株式会社
電動ポンプ
1か月前
カヤバ株式会社
ベーンポンプ
2か月前
カヤバ株式会社
冗長システム
29日前
カヤバ株式会社
電磁リリーフ弁
2か月前
カヤバ株式会社
チェックバルブ
3日前
カヤバ株式会社
流体圧制御装置
15日前
カヤバ株式会社
モータ制御装置
1か月前
カヤバ株式会社
モータ制御装置
1か月前
カヤバ株式会社
反力アクチュエータ
23日前
カヤバ株式会社
バルブおよび緩衝器
3日前
カヤバ株式会社
バルブおよび緩衝器
3日前
カヤバ株式会社
ステアバイワイヤ装置
1か月前
カヤバ株式会社
アクチュエータユニット
13日前
カヤバ株式会社
粒子検出装置及びプログラム
2か月前
カヤバ株式会社
モータ制御装置、及びプログラム
今日
カヤバ株式会社
インレットブロック及びバルブ装置
13日前
豊和工業株式会社
クランプ装置
4か月前
株式会社SUBARU
油圧回路
7か月前
株式会社豊田自動織機
流体圧シリンダ
27日前
川崎重工業株式会社
液圧駆動装置
7か月前
川崎重工業株式会社
液圧駆動装置
7か月前
株式会社コスメック
シリンダ装置
2か月前
株式会社不二越
電磁切替弁
1か月前
株式会社不二越
油圧システム
4か月前
個人
省エネ改良型油圧リバースブースター
1か月前
コベルコ建機株式会社
建設機械
6か月前
日立建機株式会社
作業機械
5か月前
学校法人東海大学
流れ制御装置
5か月前
日立建機株式会社
作業機械
今日
株式会社不二越
油圧駆動システム
1か月前
ナブテスコ株式会社
方向切換弁装置
4か月前
日立建機株式会社
油圧駆動装置
6か月前
住友建機株式会社
ショベルの制御方法
2か月前
川崎重工業株式会社
マルチコントロールバルブ
7か月前
続きを見る
他の特許を見る