TOP
|
特許
|
意匠
|
商標
特許ウォッチ
Twitter
他の特許を見る
公開番号
2025082058
公報種別
公開特許公報(A)
公開日
2025-05-28
出願番号
2023195283
出願日
2023-11-16
発明の名称
方向切換弁装置
出願人
ナブテスコ株式会社
代理人
個人
,
個人
主分類
F15B
11/00 20060101AFI20250521BHJP(流体圧アクチュエータ;水力学または空気力学一般)
要約
【課題】ロック弁に接続されるドレンポートを必要としない方向切換弁装置を提供する。
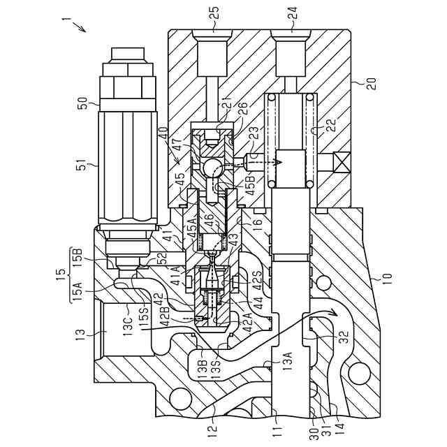
【解決手段】方向切換弁装置1は、スプール30が摺動するスプール孔11と、スプール孔11に開口されるとともにアクチュエータに接続されるアクチュエータ通路13と、を備える弁本体ブロック10と、アクチュエータとスプール孔11との間を遮断状態に保持するロック弁40と、を備える。弁本体ブロック10は、ロック弁40の遮断状態を解除するための解除圧が導入される解除圧力室21と、スプール30に作用するパイロット圧が導入されるスプール用圧力室22と、ロック弁40とスプール用圧力室22とを接続する接続通路23と、を有し、解除圧力室21に解除圧が導入されたときに、ロック弁40を遮断状態に保持するためにアクチュエータ通路13から作用していた圧をロック弁40から接続通路23を介してスプール用圧力室22に排出する。
【選択図】図2
特許請求の範囲
【請求項1】
スプールが摺動するスプール孔と、前記スプール孔に開口されるとともにアクチュエータに接続されるアクチュエータ通路と、を備える弁本体ブロックと、
前記アクチュエータと前記スプール孔との間を遮断状態に保持するロック弁と、を備え、
前記弁本体ブロックは、前記ロック弁の前記遮断状態を解除するための解除圧が導入される解除圧力室と、前記スプールに作用するパイロット圧が導入されるスプール用圧力室と、前記ロック弁と前記スプール用圧力室とを接続する接続通路と、を有し、
前記解除圧力室に解除圧が導入されたときに、前記ロック弁を前記遮断状態に保持するために前記アクチュエータ通路から作用していた圧を前記ロック弁から前記接続通路を介して前記スプール用圧力室に排出する
方向切換弁装置。
続きを表示(約 510 文字)
【請求項2】
前記スプール用圧力室から前記ロック弁への流れを閉鎖するチェック弁が設けられる
請求項1に記載の方向切換弁装置。
【請求項3】
前記チェック弁は、前記ロック弁の内部に設けられる
請求項2に記載の方向切換弁装置。
【請求項4】
前記ロック弁は、前記アクチュエータ通路を開閉する主弁と、
前記主弁を閉弁方向に押圧する圧が前記アクチュエータ通路から導入される圧力室と、
前記解除圧力室に解除圧が導入されたときに小弁用弁座から離れて前記圧力室の密閉状態を開放する小弁と、
前記主弁と前記小弁との間に設けられて両者を相対的に離れる方向に付勢する付勢部材と、
前記解除圧力室に解除圧が導入されると前記小弁を前記小弁用弁座から離れる方向に押すピストンと、を備え、
前記圧力室の圧は、前記ピストンに設けられる通路を介して前記接続通路に排出される
請求項2又は請求項3に記載の方向切換弁装置。
【請求項5】
前記ピストンに設けられる通路に前記チェック弁が設けられる
請求項4に記載の方向切換弁装置。
発明の詳細な説明
【技術分野】
【0001】
本発明は、方向切換弁装置に関する。
続きを表示(約 1,700 文字)
【背景技術】
【0002】
特許文献1に記載の方向切換弁装置は、建設機械のアームやブーム等のアクチュエータを制御する。方向切換弁装置では、スプール孔を有する弁本体と、スプール孔を移動可能に設けられるスプールとを有する。方向切換弁装置は、弁本体においてスプールを移動させることで作動油の供給及び遮断が切り換えられる。
【0003】
方向切換弁装置では、方向切換弁から供給される作動油に応じて伸縮する油圧シリンダによって建設機械のアームやブームが駆動される。ここで、アームやブームを静止状態に保持する状況が生じると、方向切換弁装置は、作動油の供給源であるポンプとの接続を遮断するとともに、油圧シリンダから戻る作動油の排出先であるタンクとの接続を遮断する状態に切り換えられる。
【0004】
しかしながら、重量の大きいアーム又はブームに用いられる方向切換弁装置では、ポンプ及びタンクとの遮断のみでは、アームやブームの自重の影響により作動油がスプールとスプール孔の内周面との間を通ってタンクに漏れ出して、アームやブームを静止状態に保持することが困難となる。そのため、アーム又はブームに用いられる方向切換弁装置においては通常、作動油の漏れを防止するためのロック弁が設けられている。
【先行技術文献】
【特許文献】
【0005】
実公平7-47604号公報
【発明の概要】
【発明が解決しようとする課題】
【0006】
ところで、上記特許文献1に記載のロック弁は、スプールを駆動する圧力がロック弁のピストンの第1端面に作用するとともに、ピストンの第2端面にはドレン圧が作用する。このような構成では、ピストンの第2端面にドレン圧を作用させるために、ロック弁に接続されるドレンポートを設ける必要がある。そこで、ロック弁に接続されるドレンポートを必要としない方向切換弁装置が求められている。
【課題を解決するための手段】
【0007】
上記課題を解決する方向切換弁装置は、スプールが摺動するスプール孔と、前記スプール孔に開口されるとともにアクチュエータに接続されるアクチュエータ通路と、を備える弁本体ブロックと、前記アクチュエータと前記スプール孔との間を遮断状態に保持するロック弁と、を備え、前記弁本体ブロックは、前記ロック弁の前記遮断状態を解除するための解除圧が導入される解除圧力室と、前記スプールに作用するパイロット圧が導入されるスプール用圧力室と、前記ロック弁と前記スプール用圧力室とを接続する接続通路と、を有し、前記解除圧力室に解除圧が導入されたときに、前記ロック弁を前記遮断状態に保持するために前記アクチュエータ通路から作用していた圧を前記ロック弁から前記接続通路を介して前記スプール用圧力室に排出する。
【0008】
上記構成によれば、解除圧力室に解除圧が導入されるとアクチュエータ通路とスプール孔との遮断状態が解除され、ロック弁の圧がロック弁から接続通路を介してスプール用圧力室に排出される。このため、ロック弁に接続されるドレンポートを必要としない。
【0009】
上記方向切換弁装置について、前記スプール用圧力室から前記ロック弁への流れを閉鎖するチェック弁が設けられることが好ましい。
上記方向切換弁装置について、前記チェック弁は、前記ロック弁の内部に設けられることが好ましい。
【0010】
上記方向切換弁装置について、前記ロック弁は、前記アクチュエータ通路を開閉する主弁と、前記主弁を閉弁方向に押圧する圧が前記アクチュエータ通路から導入される圧力室と、前記解除圧力室に解除圧が導入されたときに小弁用弁座から離れて前記圧力室の密閉状態を開放する小弁と、前記主弁と前記小弁との間に設けられて両者を相対的に離れる方向に付勢する付勢部材と、前記解除圧力室に解除圧が導入されると前記小弁を前記小弁用弁座から離れる方向に押すピストンと、を備え、前記圧力室の圧は、前記ピストンに設けられる通路を介して前記接続通路に排出されることが好ましい。
(【0011】以降は省略されています)
この特許をJ-PlatPat(特許庁公式サイト)で参照する
関連特許
ナブテスコ株式会社
主機制御システム
6日前
ナブテスコ株式会社
駆動装置及び位置調整装置
13日前
ナブテスコ株式会社
主機制御システム及び航行支援装置
6日前
ナブテスコ株式会社
推進装置制御システム、航行支援装置
6日前
ナブテスコ株式会社
推進装置制御システムおよび航行支援装置
6日前
ナブテスコ株式会社
推進装置制御システムおよび航行支援装置
6日前
ナブテスコ株式会社
ワークポジショナ及びワークポジショナの設置方法
1か月前
豊和工業株式会社
クランプ装置
4か月前
株式会社豊田自動織機
流体圧シリンダ
27日前
株式会社SUBARU
油圧回路
7か月前
株式会社不二越
電磁切替弁
1か月前
株式会社コスメック
シリンダ装置
2か月前
川崎重工業株式会社
液圧駆動装置
7か月前
川崎重工業株式会社
液圧駆動装置
7か月前
個人
省エネ改良型油圧リバースブースター
1か月前
株式会社不二越
油圧システム
4か月前
コベルコ建機株式会社
建設機械
6か月前
日立建機株式会社
作業機械
5か月前
学校法人東海大学
流れ制御装置
5か月前
日立建機株式会社
作業機械
今日
株式会社不二越
油圧駆動システム
1か月前
ナブテスコ株式会社
方向切換弁装置
4か月前
日立建機株式会社
油圧駆動装置
6か月前
住友建機株式会社
ショベルの制御方法
2か月前
川崎重工業株式会社
マルチコントロールバルブ
7か月前
学校法人 中央大学
人工筋アクチュエータ装置
1か月前
川崎重工業株式会社
マルチコントロールバルブ
7か月前
川崎重工業株式会社
マルチコントロールバルブ
7か月前
川崎重工業株式会社
弁装置
7か月前
株式会社LIXIL
脈動流生成装置及び建築設備
4か月前
アズビル株式会社
パイロットリレー及びポジショナ
1か月前
コベルコ建機株式会社
建設機械の油圧駆動装置
5か月前
カヤバ株式会社
流体圧制御装置
15日前
株式会社ジェイテクトフルードパワーシステム
サージタンク
7か月前
カヤバ株式会社
流体圧制御装置
6か月前
ナブテスコ株式会社
ロータリーアクチュエータ
4か月前
続きを見る
他の特許を見る