TOP
|
特許
|
意匠
|
商標
特許ウォッチ
Twitter
他の特許を見る
公開番号
2025074472
公報種別
公開特許公報(A)
公開日
2025-05-14
出願番号
2023185293
出願日
2023-10-30
発明の名称
インレットハウジング
出願人
カヤバ株式会社
代理人
弁理士法人後藤特許事務所
主分類
F15B
11/00 20060101AFI20250507BHJP(流体圧アクチュエータ;水力学または空気力学一般)
要約
【課題】走行左右差の発生を抑制するとともに小型化を図る。
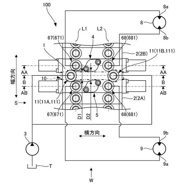
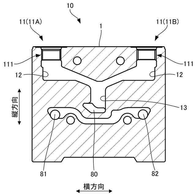
【解決手段】インレットハウジング1では、入口ポート11及び内部流路12が、左側走行用制御弁4と右側走行用制御弁5の間に設けられる。入口ポート11は、左側走行用制御弁4及び右側走行用制御弁5のそれぞれの一対の走行用給排ポート67,68間で、同じ側に配置された一方の走行用給排ポート67のそれぞれを通る仮想線L1、及び他方の走行用給排ポート68のそれぞれを通る仮想線L2に対してオフセットし、左側走行用制御弁4の一対の走行用給排ポート67,68と、右側走行用制御弁5の一対の走行用給排ポート67,68との間の距離D1は、入口ポート11の径D2よりも小さい。
【選択図】図1
特許請求の範囲
【請求項1】
流体圧供給源から作動流体が供給されるインレットハウジングであって、
前記インレットハウジングの内部に組み込まれ、左側走行モータを制御する左側走行用制御弁と、
前記インレットハウジングの内部に組み込まれ、右側走行モータを制御する右側走行用制御弁と、
前記インレットハウジングの外面に開口して前記流体圧供給源に連通する入口ポートと、
前記入口ポートに連通するとともに、前記左側走行用制御弁及び前記右側走行用制御弁に作動流体を導くポンプ通路に接続される内部流路と、
を備え、
前記左側走行用制御弁は、前記外面に開口して前記左側走行モータに作動流体を給排する一対の左側走行用給排ポートを有し、
前記右側走行用制御弁は、前記外面に開口して前記右側走行モータに作動流体を給排する一対の右側走行用給排ポートを有し、
前記入口ポート及び前記内部流路は、前記左側走行用制御弁と前記右側走行用制御弁の間に設けられ、
前記入口ポートは、前記左側走行用制御弁及び前記右側走行用制御弁において、同じ側に配置された左側走行用給排ポート及び右側走行用給排ポートが構成する2つの給排ポート列を通る仮想線のそれぞれに対してオフセットし、
前記一対の左側走行用給排ポートと前記一対の右側走行用給排ポートの間の距離は、前記入口ポートの径よりも小さい、
ことを特徴とするインレットハウジング。
発明の詳細な説明
【技術分野】
【0001】
本発明はインレットハウジングに関する。
続きを表示(約 1,600 文字)
【背景技術】
【0002】
特許文献1には主ポンプからの吐出油が圧油供給用油路を介して供給されるエンドブロックと、右走行用制御バルブ及び左走行用制御バルブと、を有する油圧回路構造が開示されている。当該油圧回路構造では、エンドブロック、右走行用制御バルブ、左走行用制御バルブの順にこれらが並んで配置されている。
【先行技術文献】
【特許文献】
【0003】
特開2003-227503号公報(例えば、図3参照)
【発明の概要】
【発明が解決しようとする課題】
【0004】
上記油圧回路構造では、エンドブロックから右走行用制御バルブまでの油路長さと、エンドブロックから左走行用制御バルブまでの油路長さが異なることに起因して走行左右差が発生し、走行直進性に影響を及ぼす可能性がある。また、エンドブロック、右走行用制御バルブ及び左走行用制御バルブのそれぞれで、ポートのサイズによりハウジングの幅が決まってしまうことで、小型化が制限される可能性がある。
【0005】
本発明はこのような課題に鑑みてなされたもので、走行左右差の発生を抑制するとともに小型化を図ることを目的とする。
【課題を解決するための手段】
【0006】
本発明は、流体圧供給源から作動流体が供給されるインレットハウジングであって、インレットハウジングの内部に組み込まれ、左側走行モータを制御する左側走行用制御弁と、インレットハウジングの内部に組み込まれ、右側走行モータを制御する右側走行用制御弁と、インレットハウジングの外面に開口して流体圧供給源に連通する入口ポートと、入口ポートに連通するとともに、左側走行用制御弁及び右側走行用制御弁に作動流体を導くポンプ通路に接続される内部流路と、を備え、左側走行用制御弁は、外面に開口して左側走行モータに作動流体を給排する一対の左側走行用給排ポートを有し、右側走行用制御弁は、外面に開口して右側走行モータに作動流体を給排する一対の右側走行用給排ポートを有し、入口ポート及び内部流路は、左側走行用制御弁と右側走行用制御弁の間に設けられ、入口ポートは、左側走行用制御弁及び右側走行用制御弁において、同じ側に配置された左側走行用給排ポート及び右側走行用給排ポートが構成する2つの給排ポート列を通る仮想線のそれぞれに対してオフセットし、一対の左側走行用給排ポートと一対の右側走行用給排ポートとの間の距離は、入口ポートの径よりも小さい、ことを特徴とする。
【0007】
この発明によれば、入口ポート及び内部流路を左側走行用制御弁及び右側走行用制御弁の間に設けるので、入口ポートから各給排ポートまでの流路長さの均等化が図られ、これにより走行左右差の発生が抑制される。また、左側走行用制御弁及び右側走行用制御弁を内部に組み込みつつ、入口ポートを同じ側に配置された一方及び他方の双方の左側走行用給排ポート及び右側走行用給排ポートからずらして配置し、一対の左側走行用給排ポートと一対の右側走行用給排ポートの間の距離を入口ポートの径よりも小さくするので、インレットハウジングとは別に左右の走行モータ用にバルブハウジングを設ける場合と比べ、全体としてのハウジングの幅を縮小でき、小型化を図ることができる。
【発明の効果】
【0008】
これらの発明によれば、走行左右差の発生を抑制するとともに小型化を図ることができる。
【図面の簡単な説明】
【0009】
本発明の実施形態に係る流体圧制御装置の概略構成図である。
図1のAA-AA断面、又はAB-AB断面に対応する断面図である。
図1に示すB-B断面でインレットハウジングを示す図である。
【発明を実施するための形態】
【0010】
以下、添付図面を参照しながら本発明の実施形態について説明する。
(【0011】以降は省略されています)
この特許をJ-PlatPat(特許庁公式サイト)で参照する
関連特許
カヤバ株式会社
減圧弁
6日前
カヤバ株式会社
電動ポンプ
2か月前
カヤバ株式会社
摩擦試験機
8日前
カヤバ株式会社
電動ポンプ
4日前
カヤバ株式会社
高所作業装置
4日前
カヤバ株式会社
冗長システム
1か月前
カヤバ株式会社
流体圧制御装置
20日前
カヤバ株式会社
チェックバルブ
8日前
カヤバ株式会社
ポンプの取付構造
今日
カヤバ株式会社
回転機の製造方法
4日前
カヤバ株式会社
バルブおよび緩衝器
8日前
カヤバ株式会社
反力アクチュエータ
28日前
カヤバ株式会社
バルブおよび緩衝器
8日前
カヤバ株式会社
ステアバイワイヤ装置
2か月前
カヤバ株式会社
ブッシュ及び液圧回転機
4日前
カヤバ株式会社
アクチュエータユニット
18日前
カヤバ株式会社
ステアバイワイヤユニット
4日前
カヤバ株式会社
モータ制御装置、及びプログラム
5日前
カヤバ株式会社
インレットブロック及びバルブ装置
18日前
豊和工業株式会社
クランプ装置
5か月前
株式会社SUBARU
油圧回路
8か月前
株式会社豊田自動織機
流体圧シリンダ
1か月前
株式会社コスメック
シリンダ装置
2か月前
株式会社不二越
電磁切替弁
1か月前
川崎重工業株式会社
液圧駆動装置
7か月前
川崎重工業株式会社
液圧駆動装置
7か月前
個人
省エネ改良型油圧リバースブースター
1か月前
株式会社不二越
油圧システム
4か月前
学校法人東海大学
流れ制御装置
5か月前
日立建機株式会社
作業機械
4日前
日立建機株式会社
作業機械
5日前
コベルコ建機株式会社
建設機械
6か月前
日立建機株式会社
作業機械
6か月前
株式会社不二越
油圧駆動システム
1か月前
トヨタ自動車株式会社
流体漏れ検出装置
8か月前
日立建機株式会社
油圧駆動装置
6か月前
続きを見る
他の特許を見る