TOP
|
特許
|
意匠
|
商標
特許ウォッチ
Twitter
他の特許を見る
公開番号
2025077237
公報種別
公開特許公報(A)
公開日
2025-05-19
出願番号
2023189289
出願日
2023-11-06
発明の名称
メタノールの製造方法及び製造装置
出願人
ENEOS株式会社
,
学校法人早稲田大学
代理人
個人
,
個人
,
個人
,
個人
主分類
C07C
29/15 20060101AFI20250512BHJP(有機化学)
要約
【課題】二酸化炭素から高純度のメタノールを容易に製造可能な新規のメタノールの製造方法を提供すること。
【解決手段】酸素キャリアを含む第一の材料と二酸化炭素と水素とを接触させて、前記酸素キャリアの酸化物を含む第二の材料とメタノールとを得る酸化工程を含む、メタノールの製造方法。
【選択図】図1
特許請求の範囲
【請求項1】
酸素キャリアを含む第一の材料と二酸化炭素と水素とを接触させて、前記酸素キャリアの酸化物を含む第二の材料とメタノールとを得る酸化工程を含む、メタノールの製造方法。
続きを表示(約 730 文字)
【請求項2】
前記第二の材料は、還元処理されて前記第一の材料として再利用される、請求項1に記載の製造方法。
【請求項3】
前記第二の材料と水素とを接触させて、前記酸化物を還元して、前記第一の材料と水とを得る還元工程を更に含む、請求項1に記載の製造方法。
【請求項4】
前記酸化工程と還元工程とを交互に実施する、請求項3に記載の製造方法。
【請求項5】
前記酸化工程を実施する酸化処理部と、前記還元工程を実施する還元処理部と、を備える製造装置により実施され、
前記酸化工程で生成した前記第二の材料が前記酸化処理部から前記還元処理部に供給され、
前記還元工程で生成した前記第一の材料が前記還元処理部から前記酸化処理部に供給される、
請求項3に記載の製造方法。
【請求項6】
前記第一の材料が、一酸化炭素の水素化反応の活性点を含む、請求項1に記載の製造方法。
【請求項7】
前記第一の材料が、二酸化炭素の水素化反応の活性点を含む、請求項1に記載の製造方法。
【請求項8】
前記酸素キャリアが、コバルトと、銅及びインジウムからなる群より選択される少なくとも一種と、を含む、請求項1に記載の製造方法。
【請求項9】
前記酸素キャリアが、インジウムと、コバルト、銅、ニッケルからなる群より選択される少なくとも一種と、を含む、請求項1に記載の製造方法。
【請求項10】
前記第一の材料が、担体と、前記担体上に担持された前記酸素キャリアと、を含む、請求項8又は9に記載の製造方法。
(【請求項11】以降は省略されています)
発明の詳細な説明
【技術分野】
【0001】
本開示は、メタノールの製造方法及び製造装置に関する。
続きを表示(約 2,200 文字)
【背景技術】
【0002】
従来から、二酸化炭素の固定化の手段の一つとして、二酸化炭素からメタノールを製造する方法が検討されている。例えば、特許文献1には、メタノールと、銅及び亜鉛を含む酸化物からなる触媒と、の存在下で、水素及び二酸化炭素を含む原料ガスを反応させて、メタノールを製造する方法が開示されている。
【先行技術文献】
【特許文献】
【0003】
特開2021-031480号公報
【発明の概要】
【発明が解決しようとする課題】
【0004】
しかし、特許文献1の方法では、副生成物として水が生じるため、高純度のメタノールを得るためにはメタノールと水とを分離する工程が必要である。
【0005】
本開示の目的の一つは、二酸化炭素から高純度のメタノールを容易に製造可能な新規のメタノールの製造方法、及び、当該製造方法を実施可能な製造装置を提供することにある。
【課題を解決するための手段】
【0006】
本開示は、例えば以下の[1]~[12]に関する。
[1]
酸素キャリアを含む第一の材料と二酸化炭素と水素とを接触させて、前記酸素キャリアの酸化物を含む第二の材料とメタノールとを得る酸化工程を含む、メタノールの製造方法。
[2]
前記第二の材料は、還元処理されて前記第一の材料として再利用される、[1]に記載の製造方法。
[3]
前記第二の材料と水素とを接触させて、前記酸化物を還元して、前記第一の材料と水とを得る還元工程を更に含む、[1]又は[2]に記載の製造方法。
[4]
前記酸化工程と還元工程とを交互に実施する、[4]に記載の製造方法。
[5]
前記酸化工程を実施する酸化処理部と、前記還元工程を実施する還元処理部と、を備える製造装置により実施され、
前記酸化工程で生成した前記第二の材料が前記酸化処理部から前記還元処理部に供給され、
前記還元工程で生成した前記第一の材料が前記還元処理部から前記酸化処理部に供給される、
[3]又は[4]に記載の製造方法。
[6]
前記第一の材料が、一酸化炭素の水素化反応の活性点を含む、[1]~[5]のいずれか一つに記載の製造方法。
[7]
前記第一の材料が、二酸化炭素の水素化反応の活性点を含む、[1]~[6]のいずれか一つに記載の製造方法。
[8]
前記酸素キャリアが、コバルトと、銅及びインジウムからなる群より選択される少なくとも一種と、を含む、[1]~[7]のいずれか一つに記載の製造方法。
[9]
前記酸素キャリアが、インジウムと、コバルト、銅、ニッケルからなる群より選択される少なくとも一種と、を含む、[1]~[7]のいずれか一つに記載の製造方法。
[10]
前記第一の材料が、担体と、前記担体上に担持された前記酸素キャリアと、を含む、[8]又は[9]に記載の製造方法。
[11]
前記酸化工程における反応温度が280℃以上400℃以下である、[1]~[10]のいずれか一つに記載の製造方法。
[12]
酸素キャリアを含む第一の材料と二酸化炭素と水素とを接触させて、前記酸素キャリアの酸化物を含む第二の材料とメタノールとを生成させる酸化処理部と、
前記第二の材料と水素とを接触させて、前記酸化物を還元して、前記第一の材料と水とを生成させる還元処理部と、
前記酸化処理部から、前記第二の材料を前記還元処理部に移送する第一の移送手段と、
前記還元処理部から、前記第一の材料を前記酸化処理部に移送する第二の移送手段と、
を備える、製造装置。
【発明の効果】
【0007】
本開示によれば、二酸化炭素から高純度のメタノールを容易に製造可能な新規のメタノールの製造方法、及び、当該製造方法を実施可能な製造装置が提供される。
【図面の簡単な説明】
【0008】
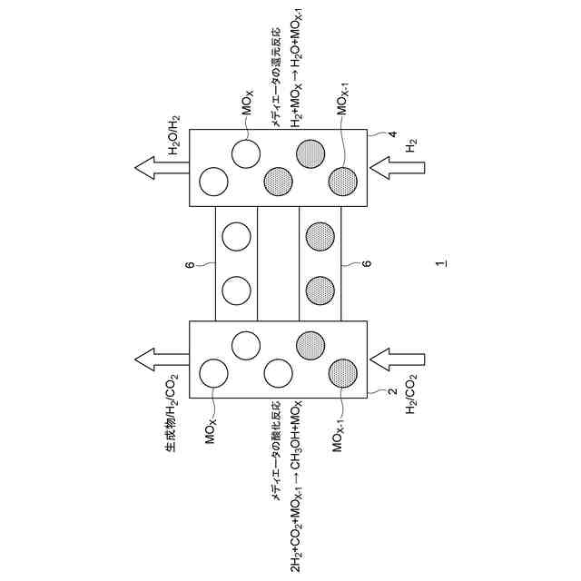
図1は、ケミカルルーピングシステムの一例を示す模式図である。
図2(A)、図2(B)、図2(C)及び図2(D)は、ケミカルルーピングシステムの他の一例を示す模式図である。
【発明を実施するための形態】
【0009】
以下、本開示の好適な実施形態について図面を参照しながら詳細に説明する。実施形態は、本開示の技術的範囲を限定するものではなく例示であって、実施形態の内容は、発明の思想を逸脱しない範囲において構成要素の変更、追加、削除等の設計変更が可能である。また、実施形態として記述した各構成要素は、任意の組み合わせが可能である。
【0010】
各図面において、同一又は同等の構成要素、部材、処理等には同一の符号を付し、重複した説明は省略する。また、各図面に示す各部の縮尺及び形状は、説明を容易にするために便宜的に設定されており、特に言及がない限り限定的に解釈されるものではない。また、各図面において実施形態を説明する上で重要ではない部材は省略する場合がある。
(【0011】以降は省略されています)
この特許をJ-PlatPat(特許庁公式サイト)で参照する
関連特許
ENEOS株式会社
情報処理装置、情報処理方法及びプログラム
3日前
ENEOS株式会社
情報処理装置、情報処理方法及びプログラム
3日前
ENEOS株式会社
状態判定装置、状態判定プログラム、及び状態判定システム
3日前
東ソー株式会社
タンパク質の発現方法
24日前
株式会社トクヤマ
四塩化炭素の製造方法
3か月前
東ソー株式会社
炭素-窒素結合形成方法
3か月前
株式会社トクヤマ
シロキサン類の回収方法
3か月前
株式会社トクヤマ
ビオチン誘導体の製造方法
2か月前
株式会社半導体エネルギー研究所
有機化合物
2か月前
栗田工業株式会社
ギ酸の回収方法
6日前
株式会社コスモス
液状炭化水素の増産方法
2か月前
株式会社トクヤマ
ベンザゼピン化合物の製造方法
2か月前
株式会社トクヤマ
ホルムアミド化合物の製造方法
1か月前
東ソー株式会社
イソシアネート化合物の製造方法
1か月前
株式会社トクヤマ
チオラクトン誘導体の製造方法
14日前
株式会社コスモス
液状炭化水素の増産方法
2か月前
信越化学工業株式会社
新規化合物
3か月前
artience株式会社
四塩基酸無水物の製造方法
3か月前
日産化学株式会社
ピラゾール化合物及び有害生物防除剤
2か月前
国立大学法人東京農工大学
深共晶溶媒
2か月前
株式会社トクヤマ
サフィナミド若しくはその塩の製造方法
3か月前
三菱ケミカル株式会社
アルコールの製造方法
1か月前
本田技研工業株式会社
CO2変換方法
10日前
大阪瓦斯株式会社
メタン製造システム
10日前
東ソー株式会社
免疫グロブリン結合性タンパク質の製造方法
24日前
JNC株式会社
有機ケイ素化合物およびこれを用いた重合体
2か月前
JNC株式会社
有機ケイ素化合物およびこれを用いた重合体
1か月前
キヤノン株式会社
有機化合物及び有機発光素子
14日前
株式会社トクヤマ
アシル化ベンゼン誘導体の酸塩の製造方法
1か月前
東ソー株式会社
免疫グロブリン結合性タンパク質の保存溶液
3か月前
株式会社半導体エネルギー研究所
有機金属錯体、発光デバイス
1か月前
キヤノン株式会社
有機金属錯体及び有機発光素子
10日前
個人
IL-17産生誘導能を有する化合物及びその用途
11日前
デンカ株式会社
有機酸又はその塩の製造方法
1か月前
国立大学法人京都大学
抗がん剤
1か月前
国立大学法人岩手大学
反応性付与化合物
2か月前
続きを見る
他の特許を見る