TOP
|
特許
|
意匠
|
商標
特許ウォッチ
Twitter
他の特許を見る
公開番号
2025079552
公報種別
公開特許公報(A)
公開日
2025-05-22
出願番号
2023192296
出願日
2023-11-10
発明の名称
核酸配列編集方法及び核酸配列製造方法
出願人
公立大学法人大阪
代理人
個人
,
個人
,
個人
,
個人
主分類
C12N
15/09 20060101AFI20250515BHJP(生化学;ビール;酒精;ぶどう酒;酢;微生物学;酵素学;突然変異または遺伝子工学)
要約
【課題】ノックインされる核酸断片が長いホモロジーアームを必要としない核酸配列編集方法及び核酸配列製造方法の提供。
【解決手段】ガイド配列及びタンパク質結合配列を含むガイドRNAと、CRISPR酵素と、二本鎖である標的核酸とを会合させることと、前記CRISPR酵素により前記標的核酸を切断し、第1の突出末端を有する切断部分を形成することと、前記第1の突出末端の塩基配列と相補的な配列を含む第2の突出末端を両末端に有する核酸断片を前記標的核酸の切断部分に挿入すること、を含み、前記ガイド配列が、前記標的核酸と相補的な配列を含み、前記タンパク質結合配列は、前記CRISPR酵素と会合する領域であり、前記核酸断片が、前記第2の突出末端に挟まれる二本鎖を有する、核酸配列編集方法。
【選択図】図1
特許請求の範囲
【請求項1】
ガイド配列及びタンパク質結合配列を含むガイドRNAと、CRISPR酵素と、二本鎖である標的核酸とを会合させることと、
前記CRISPR酵素により前記標的核酸を切断し、第1の突出末端を有する切断部分を形成することと、
前記第1の突出末端の塩基配列と相補的な配列を含む第2の突出末端を両末端に有する核酸断片を前記標的核酸の切断部分に挿入すること、を含み、
前記ガイド配列が、前記標的核酸と相補的な配列を含み、
前記タンパク質結合配列は、前記CRISPR酵素と会合する領域であり、
前記核酸断片が、前記第2の突出末端に挟まれる二本鎖を有する、核酸配列編集方法。
続きを表示(約 900 文字)
【請求項2】
前記第2の突出末端が、前記第1の突出末端と相補的な前記配列の5’末端側に隣接する塩基配列をさらに含み、
前記第1の突出末端と相補的な前記配列の5’末端側に隣接する塩基配列が、前記第1の突出末端の3’末端側に隣接する前記標的核酸と相補的な塩基配列を含む、請求項1に記載の核酸配列編集方法。
【請求項3】
前記第2の突出末端における、前記第1の突出末端と相補的な前記配列の5’末端側に隣接する前記塩基配列が、5~20塩基である、請求項2に記載の核酸配列編集方法。
【請求項4】
前記CRISPR酵素が、Cas12j8、Cas12a又はCas9ニッカーゼである、請求項1~3のいずれか一項に記載の核酸配列編集方法。
【請求項5】
前記標的核酸が0.5~20kbp以上のベクター又はゲノムDNAである、請求項1~3のいずれか一項に記載の核酸配列編集方法。
【請求項6】
前記核酸断片が10bp~20kbpである、請求項1~3のいずれか一項に記載の核酸配列編集方法。
【請求項7】
さらに、前記ガイドRNAをコードする配列を含むベクターと、前記CRISPR酵素をコードする配列を含むベクターと、前記核酸断片と、を細胞にトランスフェクトすることを含む、請求項1~3のいずれか一項に記載の核酸配列編集方法。
【請求項8】
さらに、前記ガイドRNAをコードする配列と前記CRISPR酵素をコードする配列を含むベクターと、前記核酸断片と、を細胞にトランスフェクトすることを含む、請求項1~3のいずれか一項に記載の核酸配列編集方法。
【請求項9】
前記細胞が、ヒト胎児腎細胞、CHO細胞及びCos7細胞からなる群から選択される一種である、請求項7に記載の核酸配列編集方法。
【請求項10】
前記細胞が、ヒト胎児腎細胞、CHO細胞及びCos7細胞からなる群から選択される一種である、請求項8に記載の核酸配列編集方法。
(【請求項11】以降は省略されています)
発明の詳細な説明
【技術分野】
【0001】
本発明は、核酸配列編集方法及び核酸配列製造方法に関する。
続きを表示(約 3,600 文字)
【背景技術】
【0002】
CRISPR/Cas(Clustered Regularly Interspaced Short Palindromic Repeats-CRISPR associated proteins)システムは、次世代のゲノム編集技術として注目を集めている。中でもRNA誘導型DNAエンドヌクレアーゼとして、Cas9を用いる方法は、盛んに研究が進められている。
【0003】
特許文献1は、Cas9を用いたゲノム編集について開示している。CRISPR/Cas9システムでは、Cas9と、標的DNA配列と相同な配列を有するガイドRNAとを共発現させ、標的DNAを切断する。このように、CRISPR/Cas9システムは、標的DNA配列と相同な配列を有するガイドRNAを合成し、単一のタンパク質であるCas9を用いてゲノム編集が可能であるという利点がある。
【先行技術文献】
【特許文献】
【0004】
国際公開第2014/093661号
【発明の概要】
【発明が解決しようとする課題】
【0005】
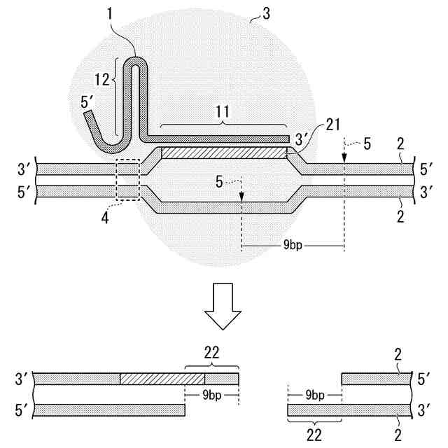
Cas9によって標的二本鎖DNAを切断すると、その切断箇所は平滑末端となる。そのため、切断箇所に遺伝子ノックインを行う場合、ノックインされる核酸断片(以降、ノックインドナーともいう)は、標的二本鎖DNAの切断箇所と隣接する配列に相同性のある長いホモロジーアームを必要とする。例えば、ノックインドナーが1~数十bp程度のオリゴDNA断片である場合、一般的に40塩基以上のホモロジーアームが用いられる。ノックインドナーが数百bp程度以上の遺伝子のノックインでは、一般的に500bp~2kbp程度のホモロジーアームが用いられる。
【0006】
本発明の目的は、ノックインされる核酸断片が長いホモロジーアームを必要としない核酸配列編集方法及び核酸配列製造方法を提供することにある。
【課題を解決するための手段】
【0007】
本発明は、以下の態様を包含する。
[1]ガイド配列及びタンパク質結合配列を含むガイドRNAと、CRISPR酵素と、二本鎖である標的核酸とを会合させることと、前記CRISPR酵素により前記標的核酸を切断し、第1の突出末端を有する切断部分を形成することと、前記第1の突出末端の塩基配列と相補的な配列を含む第2の突出末端を両末端に有する二本鎖の核酸断片を前記標的核酸の切断部分に挿入すること、を含み、前記ガイド配列が、前記標的核酸と相補的な配列を含み、前記タンパク質結合配列は、前記CRISPR酵素と会合する領域であり、前記核酸断片が、前記第2の突出末端に挟まれる二本鎖を有する、核酸配列編集方法。
[2]前記第2の突出末端が、前記第1の突出末端と相補的な前記配列の5’末端側に隣接する塩基配列をさらに含み、前記第1の突出末端と相補的な前記配列の5’末端側に隣接する塩基配列が、前記第1の突出末端の3’末端側に隣接する前記標的核酸と相補的な塩基配列を含む、[1]に記載の核酸配列編集方法。
[3]前記第2の突出末端における、前記第1の突出末端と相補的な前記配列の5’末端側に隣接する前記塩基配列が、5~20塩基である、[2]に記載の核酸配列編集方法。
[4]前記CRISPR酵素が、Cas12j8、Cas12a又はCas9ニッカーゼである、[1]~[3]のいずれか一項に記載の核酸配列編集方法。
[5]前記標的核酸が0.5~20kbp以上のベクター又はゲノムDNAである、[1]~[4]のいずれか一項に記載の核酸配列編集方法。
[6]前記核酸断片が10bp~20kbpである、[1]~[5]のいずれか一項に記載の核酸配列編集方法。
[7]さらに、前記ガイドRNAをコードする配列を含むベクターと、前記CRISPR酵素をコードする配列を含むベクターと、前記核酸断片と、を細胞にトランスフェクトすることを含む、[1]~[6]のいずれか一項に記載の核酸配列編集方法。
[8]さらに、前記ガイドRNAをコードする配列と前記CRISPR酵素をコードする配列を含むベクターと、前記核酸断片と、を細胞にトランスフェクトすることを含む、[1]~[6]のいずれか一項に記載の核酸配列編集方法。
[9]前記細胞が、ヒト胎児腎細胞、CHO細胞及びCos7細胞からなる群から選択される一種である、[7]に記載の核酸配列編集方法。
[10]前記細胞が、ヒト胎児腎細胞、CHO細胞及びCos7細胞からなる群から選択される一種である、[8]に記載の核酸配列編集方法。
[11]ガイド配列及びタンパク質結合配列を含むガイドRNAと、CRISPR酵素と、二本鎖である標的核酸と会合させることと、前記CRISPR酵素により前記標的核酸を切断し、第1の突出末端を有する切断部分を形成することと、前記第1の突出末端の塩基配列と相補的な配列を含む第2の突出末端を有する二本鎖の核酸断片を前記標的核酸の切断面に挿入して核酸配列を得ること、を含み、前記ガイド配列が、前記標的核酸と相補的な配列を含み、前記タンパク質結合配列は、前記CRISPR酵素と会合する領域であり、前記核酸断片が、前記第2の突出末端に挟まれる二本鎖を有する、核酸配列製造方法。
[12]前記第2の突出末端が、前記第1の突出末端と相補的な前記配列の5’末端側に隣接する塩基配列をさらに含み、前記第1の突出末端と相補的な前記配列の5’末端側に隣接する塩基配列が、前記第1の突出末端の3’末端側に隣接する前記標的核酸と相補的な塩基配列を含む、[11]に記載の核酸配列製造方法。
[13]前記第2の突出末端における、前記第1の突出末端と相補的な前記配列の5’末端側に隣接する前記塩基配列が、5~20塩基である、[11]又は[12]に記載の核酸配列製造方法。
[14]前記CRISPR酵素が、Cas12j8、Cas12a又はCas9ニッカーゼである、[11]~[13]のいずれか一項に記載の核酸配列製造方法。
[15]前記標的核酸が0.5~20kbp以上のベクター又はゲノムDNAである、[11]~[14]のいずれか一項に記載の核酸配列製造方法。
[16]前記核酸断片が10bp~20kbpである、[11]~[15]のいずれか一項に記載の核酸配列製造方法。
[17]さらに、前記ガイドRNAをコードする配列を含むベクターと、前記CRISPR酵素をコードする配列を含むベクターと、前記核酸断片と、を細胞にトランスフェクトすることを含む、[11]~[16]のいずれか一項に記載の核酸配列製造方法。
[18]さらに、前記ガイドRNAをコードする配列と前記CRISPR酵素をコードする配列を含むベクターと、前記核酸断片と、を細胞にトランスフェクトすることを含む、[11]~[16]のいずれか一項に記載の核酸配列製造方法。
[19]前記細胞が、ヒト胎児腎細胞、CHO細胞及びCos7細胞からなる群から選択される一種である、[17]に記載の核酸配列製造方法。
[20]前記細胞が、ヒト胎児腎細胞、CHO細胞及びCos7細胞からなる群から選択される一種である、[18]に記載の核酸配列製造方法。
【発明の効果】
【0008】
上記態様によれば、ノックインされる核酸断片が長いホモロジーアームを必要としない核酸配列編集方法及び核酸配列製造方法を提供することができる。
【図面の簡単な説明】
【0009】
一実施形態に係る核酸配列編集方法及び核酸配列製造方法を説明する概略図である。
一実施形態に係る核酸配列編集方法及び核酸配列製造方法を説明する概略図である。
他の実施形態に係る核酸断片の一部を示す概略図である。
実験例1に係る標的ベクターを示す概略図である。
実施例1-1~1-2及び比較例1-1~1-3で測定された蛍光強度を示すグラフである。
実験例2に係る標的核酸の配列の一部を示す概略図である。
実施例2で観察された細胞の蛍光顕微鏡画像である。
【発明を実施するための形態】
【0010】
〈定義〉
「核酸」は、一本鎖又は二本鎖いずれかの形態でのデオキシリボ核酸(DNA)またはリボ核酸(RNA)又は、そのポリマーを指す。「核酸配列」は、一本鎖又は二本鎖いずれかの形態でのDNA又はRNAのポリマーを指す。
(【0011】以降は省略されています)
この特許をJ-PlatPat(特許庁公式サイト)で参照する
関連特許
公立大学法人大阪
硫化物
1か月前
公立大学法人大阪
タケ由来ミミズ堆肥
1か月前
公立大学法人大阪
細胞質送達剤及びその使用
8日前
公立大学法人大阪
カルボン酸化合物の製造方法
3か月前
公立大学法人大阪
リン化コバルト炭素複合粒子
2か月前
鹿島建設株式会社
空調システム
15日前
愛三工業株式会社
電力供給装置
1か月前
公立大学法人大阪
変異型アシル-ACPレダクターゼ
2か月前
三菱ケミカル株式会社
ガス吸着フィルム
1か月前
日東電工株式会社
ウレア化合物の製造方法
22日前
公立大学法人大阪
支援システム、支援方法、及び支援プログラム
3か月前
森村金属株式会社
蠕動運動で移動するロボット
1か月前
NTT株式会社
光ファイバの群遅延時間測定システム
28日前
公立大学法人大阪
脂肪酸アルキルエステルの製造方法および製造システム
8日前
飯田グループホールディングス株式会社
蟻酸生成装置
1か月前
学校法人神奈川大学
化合物及びそれを含んでなる発光材料
1か月前
公立大学法人大阪
画像処理装置、画像撮影装置、プログラム及び画像処理方法
1か月前
鹿島建設株式会社
帯水層蓄熱システム及び帯水層蓄熱方法
2か月前
公立大学法人大阪
3次元表示装置、ヘッドアップディスプレイシステム、及び移動体
3か月前
信越化学工業株式会社
熱伝導性樹脂組成物、及び高温高熱伝導シート
1か月前
飯田グループホールディングス株式会社
蟻酸分解装置及び水素供給システム
15日前
公立大学法人大阪
光ファイバグレーティングデバイスおよび光ファイバグレーティングデバイスの製造方法
14日前
公立大学法人大阪
表面処理装置、表面処理方法、表面被覆樹脂基体の製造方法及び表面被覆フッ素樹脂基体
1か月前
セイコーエプソン株式会社
時系列データ処理方法、学習方法、処理システム及び学習システム
2か月前
セイコーエプソン株式会社
時系列データ処理方法、学習方法、処理システム及び学習システム
1か月前
公立大学法人大阪
消化管又は皮膚移植片対宿主病の診断用キット、診断用デバイス、及び罹患の可能性を判断する方法
1か月前
公立大学法人大阪
カプセルタンパク質とその多量体組成物およびそれを用いた医薬組成物
1か月前
国立研究開発法人農業・食品産業技術総合研究機構
湿度制御装置、プログラム、湿度制御システムおよび湿度制御方法
1か月前
個人
抗遺伝子劣化装置
1か月前
個人
細胞内探査とその利用
1か月前
雪国アグリ株式会社
単糖類の製造方法
9日前
個人
細胞培養容器
3か月前
日本バイリーン株式会社
細胞用支持基材
3か月前
株式会社タクマ
バイオマス処理装置
2か月前
株式会社東洋新薬
経口組成物
1か月前
日油株式会社
蛋白質安定化剤
3か月前
続きを見る
他の特許を見る