TOP
|
特許
|
意匠
|
商標
特許ウォッチ
Twitter
他の特許を見る
公開番号
2025086705
公報種別
公開特許公報(A)
公開日
2025-06-09
出願番号
2023200911
出願日
2023-11-28
発明の名称
物品検査装置
出願人
アンリツ株式会社
代理人
弁理士法人有我国際特許事務所
主分類
B07C
5/36 20060101AFI20250602BHJP(固体相互の分離;仕分け)
要約
【課題】物品搬送速度を高速化しても安定した選別動作を実行でき、未習熟者でも安定した選別動作タイミングを容易に設定可能な物品検査装置を提供する。
【解決手段】物品Wの特定の注目点Ewがセンサ15に検知された時点t0から検査結果出力までの時間Tpを管理するタイマ48と、時間Tpの経過時点t1から検査済み物品Wが選別開始時搬送位置Prjに達するまでの遅延時間Trsを管理するタイマ51と、設定要求Rqmに応じ、経過時点t1からセンサ17により注目点Ewが検知される時点t2までの選別前搬送時間(t2-t1)および時点t2から物品Wが位置Prjに達するまでの搬送遅延時間を算出し、これらの時間を基に遅延時間管理タイマ51のタイムアップ時点t3から選別部30に選別指令信号を入力させるまでの補正遅延時間Taを算出し、その時間Taを合算して選別遅延時間Trsを補正する遅延時間補正手段53とを有する。
【選択図】図4
特許請求の範囲
【請求項1】
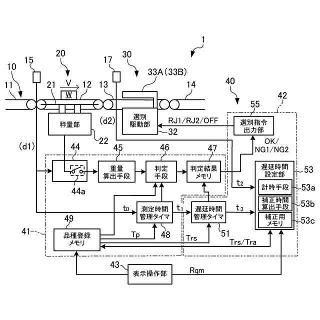
物品(W)を所定の搬送経路(12、13)で搬送する搬送部(10)と、前記搬送経路中の所定の検査区間(Zw)内で搬送中の前記物品の所定の品質状態を検査する検査部(20)と、選別指令信号入力に応動し、前記検査部で検査された検査済みの物品を検査結果に応じて選別動作する選別部(30)と、前記検査部および前記選別部を制御する制御部(40)と、を備えた物品検査装置であって、
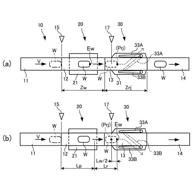
前記所定の検査区間の入口側に配置された第1の物品検知センサ(15)を有するとともに、前記所定の検査区間より下流側の選別区間(Zrj)の入り口側に配置された第2の物品検知センサ(17)を有しており、
前記制御部は、
前記物品の特定の注目点(Ew)が前記第1の物品検知センサに検知された時点(t0)から前記検査部により前記所定の品質状態が検査された検査済み物品の検査結果の出力までの検査時間(Tp)を管理する検査時間管理タイマ(48)と、
前記検査時間の経過時点(t1)から前記検査済み物品が前記選別部の選別動作を開始させるのに適した選別開始時搬送位置(Prj)に達するまでの時間として予め設定された選別遅延時間(Trs)を管理する遅延時間管理タイマ(51)と、
所定の設定要求(Rqm)に応じて、前記検査時間の経過時点(t1)から前記第2の物品検知センサにより前記検査済み物品の前記特定の注目点が検知される第2検知時点(t2)までの選別前搬送時間(t2-t1)および該第2検知時点から前記検査済み物品が前記選別開始時搬送位置に達するまでの搬送遅延時間(Tw/2)を算出するとともに、前記選別前搬送時間(t2-t1)、前記搬送遅延時間(Tw/2)および前記選別遅延時間(Trs)に基づいて前記遅延時間管理タイマのタイムアップ時点(t3)から前記選別部に前記選別指令信号を入力させるまでの補正遅延時間(Ta)を算出し、該補正遅延時間を前記予め設定された選別遅延時間に合算した時間(Trs+Ta)により、前記選別遅延時間を、前記検査時間の経過時点から前記選別部に前記選別指令信号を入力させるまでの実選別遅延時間(Tra)に補正する遅延時間補正手段(53)と、を有することを特徴とする物品検査装置。
続きを表示(約 360 文字)
【請求項2】
作業者の操作によって前記所定の設定要求を出力する表示操作部(43)と、
少なくとも前記検査時間(Tp)および前記選別遅延時間(Trs)を前記物品の品種毎の設定パラメータとして記憶する品種登録メモリ(49)と、をさらに備えたことを特徴とする請求項1に記載の物品検査装置。
【請求項3】
前記検査部が、前記搬送経路中の所定の検査区間(Zw)内で搬送中の前記物品の重量を測定する重量算出手段(45)と、該測定した重量を予め設定された許容重量範囲と比較して前記物品の選別方向を判定する判定手段(46)と、を有しており、
前記選別部が、前記判定手段で判定された前記物品の選別方向に応じて選別動作を実行することを特徴とする請求項1または2に記載の重量選別方式の物品検査装置。
発明の詳細な説明
【技術分野】
【0001】
本発明は、物品検査装置に関し、特に物品検査を行う検査部とその検査結果に応じて選別動作する選別部とを備えた物品検査装置に関する。
続きを表示(約 2,100 文字)
【背景技術】
【0002】
従来、物品を搬送しながら重量の過不足や金属等の異物の混入がないかを検査する検査部と、この検査部の搬送方向下流側に接続され、検査部による検査結果に応じて物品を選別する選別部とを備えた物品検査装置が多用されている。
【0003】
このような物品検査装置、例えば重量選別機においては、選別部の搬送速度や選別能力等を考慮した上で、検査ライン上で安定して検査および選別が行われるように、検査部の搬送速度を設定するようになっており、例えば検査部での検査・測定に要する時間と検査測定結果の出力から選別動作開始までの選別遅延時間とを予め算出し、これらを加算して選別開始までの予定時間を設定しておき、予定時間の経過を待って選別動作させるといったことがなされていた(例えば、特許文献1参照)。
【0004】
また、プッシャ方式の選別機を備えた物品検査装置において、選別対象物品と後続物品との間の物品間隔が所定動作時間より短くなったとき、その間隔に対応する短縮させた短縮動作時間だけ押出部材を往復移動させてもワークWが搬送経路から外れる割合(排出方向の搬送路幅/物品幅)が所定値以上となる場合には、押出部材を、通常の押出し終了位置に到達する前の途中折返し点から押出し開始位置側に早戻しするよう選別動作時間を制御するようにしたものが知られていた(例えば、特許文献2参照)。
【先行技術文献】
【特許文献】
【0005】
特許第2727024号公報
特開2021-160915号公報
【発明の概要】
【発明が解決しようとする課題】
【0006】
しかしながら、上述のような従来の前者の物品検査装置にあっては、検査部から選別部側への乗り移り時間がばらつき易い品種等で、選別動作の開始予定時間までに選別対象の物品を所定搬送位置に確実に到達させ、安定した選別動作を実行させる必要から、物品搬送速度をある程度低速度に抑えないと、タイミングの安定した選別動作を行うことが難しく、生産効率の低下を招いてしまうという問題があった。
【0007】
また、上述の従来の後者の物品検査装置にあっては、選別動作時間を短縮するようプッシャの早戻し制御を行うことで、物品搬送速度を低速度にする必要性を抑えることができるが、プッシャを早戻しすると製品押出し率が不足するような場合にはそれが難しくなるため、やはり、タイミングの安定した選別動作を行うことが難しいという問題があった。
【0008】
さらに、選別動作のタイミング設定のために変更されるパラメータが増えると、未習熟の利用者にとっては、設定の適否を評価することが容易でなく、習熟度が上がり難いものになってしまうという問題もあった。
【0009】
本発明は、上述のような従来の課題を解決すべくなされたものであり、物品搬送速度を高速化してもタイミングの安定した選別動作を行うことができ、未習熟の利用者であっても、品種登録時等の設定作業時に安定した選別動作タイミングを容易に設定可能な物品検査装置を提供することを目的とする。
【課題を解決するための手段】
【0010】
本発明に係る物品検査装置は、上記目的達成のため、(1)物品を所定の搬送経路で搬送する搬送部と、前記搬送経路中の所定の検査区間内で搬送中の前記物品の所定の品質状態を検査する検査部と、選別指令信号入力に応動し、前記検査部で検査された検査済みの物品を検査結果に応じて選別動作する選別部と、前記検査部および前記選別部を制御する制御部と、を備えた物品検査装置であって、前記所定の検査区間の入口側に配置された第1の物品検知センサを有するとともに、前記所定の検査区間より下流側の選別区間の入り口側に配置された第2の物品検知センサを有しており、前記制御部は、前記物品の特定の注目点が前記第1の物品検知センサに検知された時点から前記検査部により前記所定の品質状態が検査された検査済み物品の検査結果の出力までの検査時間を管理する検査時間管理タイマと、前記検査時間の経過時点から前記検査済み物品が前記選別部の選別動作を開始させるのに適した選別開始時搬送位置に達するまでの時間として予め設定された選別遅延時間を管理する遅延時間管理タイマと、所定の設定要求に応じて、前記第2の物品検知センサにより前記検査済み物品の前記特定の注目点が検知された時点から前記検査済み物品が前記選別開始時搬送位置に達するまでの遅延時間を算出するとともに、該遅延時間と前記選別遅延時間とに基づいて前記遅延時間管理タイマのタイムアップ時点から前記選別部に前記選別指令信号を入力させるまでの補正遅延時間を算出し、前記予め設定された選別遅延時間に該補正遅延時間を合算して、前記検査時間の経過時点から前記選別部に前記選別指令信号を入力させるまでの遅延時間に補正する遅延時間補正手段と、を有することを特徴とする。
(【0011】以降は省略されています)
この特許をJ-PlatPat(特許庁公式サイト)で参照する
関連特許
アンリツ株式会社
計量装置
10日前
アンリツ株式会社
物品検査装置
2日前
アンリツ株式会社
測定システム
9日前
アンリツ株式会社
測定装置および測定方法
5日前
アンリツ株式会社
測定装置および測定方法
5日前
アンリツ株式会社
分光器の校正装置及び校正方法
2日前
アンリツ株式会社
信号発生装置及び信号発生方法
3日前
アンリツ株式会社
予知保全装置及び予知保全方法
9日前
アンリツ株式会社
物品検査装置およびその校正方法
2日前
アンリツ株式会社
誤り率測定装置及び誤り率測定方法
3日前
アンリツ株式会社
測定装置と測定システムとその測定方法
5日前
アンリツ株式会社
ネットワーク測定装置とその遅延時間補正方法
2日前
アンリツ株式会社
信号発生装置および信号発生装置が実行する信号発生方法
3日前
個人
ゴミ分別システム
1か月前
シブヤ精機株式会社
農産物の集出荷装置
2日前
コネクテッドロボティクス株式会社
処理方法
2か月前
キヤノン株式会社
分別装置及び分別方法
2か月前
株式会社サタケ
測定装置および選別装置
2日前
株式会社シンセイ
砂乾燥選別装置
3か月前
日本協同企画株式会社
果菜引継ぎ搬送装置及び果菜箱詰め装置
2か月前
株式会社 東京ウエルズ
ワーク分類装置、ワーク分類方法
1か月前
株式会社山本工作所
空気分散部材及び乾式分離装置
1か月前
アンリツ株式会社
選別装置および物品検査装置
1か月前
アクセリア株式会社
情報提供システム、提供情報生成装置及び情報提供方法
3日前
UBE三菱セメント株式会社
長尺物の篩い分け方法、焼却灰の処理方法、及び、振動篩機
1か月前
株式会社FUJI
異物除去方法
1か月前
日鉄エンジニアリング株式会社
異物分離装置及び異物分離方法
9日前
個人
複素環式THR-β受容体アゴニスト化合物ならびにその調製方法および使用
2か月前
リジェネックスバイオ インコーポレイテッド
完全ヒト翻訳後修飾抗体による治療剤
1か月前
他の特許を見る