TOP
|
特許
|
意匠
|
商標
特許ウォッチ
Twitter
他の特許を見る
公開番号
2025154481
公報種別
公開特許公報(A)
公開日
2025-10-10
出願番号
2024057510
出願日
2024-03-29
発明の名称
測定装置および選別装置
出願人
株式会社サタケ
代理人
弁理士法人勇智国際特許事務所
主分類
B07C
3/14 20060101AFI20251002BHJP(固体相互の分離;仕分け)
要約
【課題】 対象物の透明部材への付着防止性能を高める。
【解決手段】 対象物の状態を測定するための測定装置は、移送経路上を移送中の対象物に電磁波を照射するように構成された電磁波照射源と、電磁波照射源から照射され、対象物に関連付けられた電磁波を検出するように構成されたセンサと、対象物に関連付けられた電磁波に関してセンサによって取得される信号に基づいて、対象物の状態を識別するように構成された識別部と、電磁波照射源およびセンサが位置する第1の側と、移送経路が位置する第2の側と、を仕切る透明部材と、除電エアを生成するように構成されたイオナイザと、第2の側において、透明部材と平行に、または、透明部材に向けて除電エアを噴射するように構成された除電エア噴射部と、を備えている。
【選択図】図3
特許請求の範囲
【請求項1】
対象物の状態を測定するための測定装置であって、
移送経路上を移送中の前記対象物に電磁波を照射するように構成された電磁波照射源と、
前記電磁波照射源から照射され、前記対象物に関連付けられた電磁波を検出するように構成されたセンサと、
前記対象物に関連付けられた電磁波に関して前記センサによって取得される信号に基づいて、前記対象物の状態を識別するように構成された識別部と、
前記電磁波照射源および前記センサが位置する第1の側と、前記移送経路が位置する第2の側と、を仕切る透明部材と、
除電エアを生成するように構成されたイオナイザと、
前記第2の側において、前記透明部材と平行に、または、前記透明部材に向けて前記除電エアを噴射するように構成された除電エア噴射部と
を備える測定装置。
続きを表示(約 420 文字)
【請求項2】
請求項1に記載の測定装置であって、
前記除電エア噴射部からの前記除電エアの噴射を制御するように構成されたコントローラを備え、
前記コントローラは、
前記対象物が前記移送経路上を移送されている間、常時、前記除電エアを噴射する第1の制御と、
前記対象物が前記移送経路上を移送されない所定のタイミングで前記除電エアを噴射する第2の制御と
を実行するように構成され、
前記第2の制御における前記除電エアの噴射風量および噴射圧力の少なくとも一方は、前記第1の制御における前記除電エアの前記噴射風量および前記噴射圧力の少なくとも一方よりも大きい
測定装置。
【請求項3】
選別装置であって、
請求項1または請求項2に記載の測定装置と、
前記識別部の識別結果に基づいて前記対象物の選別を行うように構成された選別部と
を備える選別装置。
発明の詳細な説明
【技術分野】
【0001】
本発明は光学式測定技術に関する。
続きを表示(約 2,400 文字)
【背景技術】
【0002】
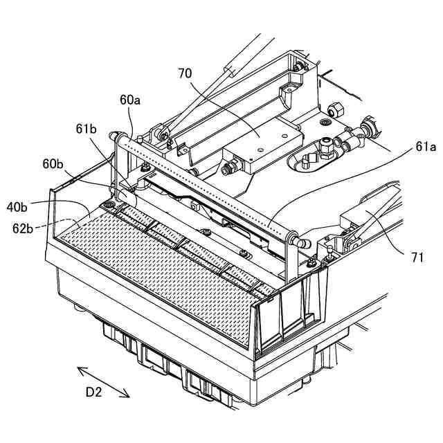
移送経路上を移送中の選別対象物(以下、単に対象物とも呼ぶ)に光源から光を照射した際に光学センサによって得られる光情報を使用して、対象物に含まれる異物や不良品を識別して除去する光学式選別機(以下、単に選別機とも呼ぶ)が従来から知られている。この種の選別機では、光源および光学センサの設置スペースと、移送経路と、を区切る透明部材が設置されることがある。これにより、対象物の移送にともって発生する粉塵や、対象物自体が、光源および光学センサの設置スペース内に侵入することを防止できる。しかしながら、このような構成においても、粉塵や対象物が透明部材に付着すると、透明部材の光透過性が阻害されて光学センサの検出感度が低下したり、付着した対象物が光学センサによって得られる画像に映り込んで、異物や不良品の識別性能が低下したりする恐れがある。
【0003】
このようなことから、下記の特許文献1は、送風機と排風機とを用いて透明部材に平行にエアカーテンを形成する技術を開示している。この技術によれば、移送経路から透明部材に向けて飛散する粉塵や対象物が透明部材に到達することがエアカーテンによって抑制され、その結果、粉塵や対象物が透明部材に付着することが抑制される。
【先行技術文献】
【特許文献】
【0004】
特開昭57-65367号
【発明の概要】
【発明が解決しようとする課題】
【0005】
しかしながら、特許文献1の技術では、付着防止性能を高めるためにエアカーテンの風量を大きくすると、対象物の円滑な移送を阻害することになるので、風量に制限が生じる。その結果、高い付着防止性能を得ることができない。対象物が透明部材に付着しやすい場合、対象物の供給を停止して、透明部材の清掃を頻繁に行う必要が生じるので、処理効率が低下する。特に、水分量が少なく軽量な対象物(例えば、破砕プラスチック、樹脂ペレット、ごま、コーヒー皮)は、選別機に投入される前から静電気を帯びやすい。静電気を帯びた対象物がエアカーテンを通過して透明部材に付着すると、透明部材も帯電するので、対象物が透明部材にますます付着しやすくなる。また、静電気を帯びた対象物が一旦、透明部材に付着すると、付着した対象物が静電気によって除去しにくくなる。このようなことから、対象物の透明部材への付着防止性能を高めること、および/または、透明部材に付着した対象物を除去しやすくすることが期待される。また、このことは、選別機に限らず、対象物の状態を測定するための測定装置にも共通する。
【課題を解決するための手段】
【0006】
本発明は、上述の課題の少なくとも一部を解決するためになされたものであり、例えば、以下の形態として実現することが可能である。
【0007】
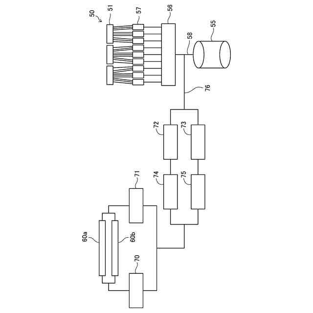
本発明の第1の形態によれば、対象物の状態を測定するための測定装置が提供される。この測定装置は、移送経路上を移送中の対象物に電磁波を照射するように構成された電磁波照射源と、電磁波照射源から照射され、対象物に関連付けられた電磁波を検出するように構成されたセンサと、対象物に関連付けられた電磁波に関してセンサによって取得される信号に基づいて、対象物の状態を識別するように構成された識別部と、電磁波照射源およびセンサが位置する第1の側と、移送経路が位置する第2の側と、を仕切る透明部材と、除電エアを生成するように構成されたイオナイザと、第2の側において、透明部材と平行に、または、透明部材に向けて除電エアを噴射するように構成された除電エア噴射部と、を備えている。
【0008】
電磁波照射源は、可視光、近赤外光、X線のうちの少なくとも一つを照射してもよい。「対象物に関連付けられた電磁波」とは、対象物で反射した光である反射電磁波であってもよいし、対象物を透過した光である透過光であってもよいし、あるいは、反射電磁波と透過電磁波との両方であってもよい。
【0009】
この測定装置によれば、除電エアが透明部材と平行に噴射される場合には、静電気を帯びた対象物が移送経路から透明部材に向かって飛散したとしても、当該対象物は、除電エアと接触して除電される。このため、対象物が透明部材に付着しにくくなる。また、この対象物が透明部材に付着したとしても、透明部材が帯電することが抑制される。したがって、静電気に起因して対象物が透明部材に付着しやすくなることを抑制できる。あるいは、上述した従来のエアカーテン方式と比べて、小さい風量で必要な付着防止効果を得ることができる。このため、除電エアが対象物の円滑な移送を阻害することがない。また、除電エアが透明部材に向けて噴射される場合には、除電エアが透明部材と平行に噴射される場合と同様に、対象物が透明部材に付着しにくくなる。また、透明部材が帯電したとしても、除電エアが透明部材に接触することによって、透明部材も除電される。このため、透明部材が帯電して、静電気を帯びた対象物が付着しやすくなることを抑制できる。しかも、対象物が透明部材に到達または付着したとしても、当該対象物が除電エアと接触して除電されるので、静電気による付着力が解除される。このため、透明部材に到達または付着した対象物を除電エアによって容易に除去できる。あるいは、当該対象物を小さい風量で除去できる。
【0010】
本発明の第2の形態によれば、第1の形態において、除電エア噴射部は、透明部材に向けて除電エアを噴射するように構成される。この形態によれば、上述の効果を得ることができる。
(【0011】以降は省略されています)
この特許をJ-PlatPat(特許庁公式サイト)で参照する
関連特許
株式会社サタケ
種子の消毒装置
1か月前
株式会社サタケ
粒状物の乾燥装置
8日前
株式会社サタケ
共同乾燥調製施設
11日前
株式会社サタケ
循環式穀物乾燥機
22日前
株式会社サタケ
原料の受け渡し装置
1か月前
株式会社サタケ
測定装置および選別装置
8日前
株式会社サタケ
精白米中の土砂混入率の検査方法
1日前
株式会社サタケ
集塵機における圧力計測配管の取付構造
29日前
株式会社サタケ
研削式精穀機、および、そのメンテナンス方法
1か月前
日清製粉株式会社
篩
3か月前
日東精工株式会社
検査装置
4か月前
個人
ゴミ分別システム
1か月前
株式会社タケエイ
振動篩装置
3か月前
株式会社レクザム
基板アンローダ
3か月前
株式会社クボタ
豆類選別機
4日前
株式会社クボタ
豆類選別機
4日前
株式会社クボタ
豆類選別機
4日前
川崎重工業株式会社
廃棄物処理システム
1日前
シブヤ精機株式会社
農産物の集出荷装置
8日前
コネクテッドロボティクス株式会社
処理方法
2か月前
キヤノン株式会社
分別装置及び分別方法
2か月前
株式会社栗本鐵工所
ローラスクリーン
4日前
株式会社クボタ
豆類選別機
4日前
株式会社サタケ
測定装置および選別装置
8日前
株式会社クボタ
豆類選別機
4日前
株式会社クボタ
豆類選別機
4日前
株式会社シンセイ
砂乾燥選別装置
3か月前
日本協同企画株式会社
果菜引継ぎ搬送装置及び果菜箱詰め装置
2か月前
株式会社 東京ウエルズ
ワーク分類装置、ワーク分類方法
1か月前
株式会社山本工作所
空気分散部材及び乾式分離装置
1か月前
アンリツ株式会社
選別装置および物品検査装置
2か月前
株式会社PFU
物体撮像装置および物体認識装置
3か月前
株式会社ダルトン
振動ふるい装置及び振動ふるい方法
3日前
アクセリア株式会社
情報提供システム、提供情報生成装置及び情報提供方法
9日前
ウエノテックス株式会社
風力選別機および風力選別システム
4か月前
UBE三菱セメント株式会社
長尺物の篩い分け方法、焼却灰の処理方法、及び、振動篩機
1か月前
続きを見る
他の特許を見る