TOP
|
特許
|
意匠
|
商標
特許ウォッチ
Twitter
他の特許を見る
公開番号
2025127070
公報種別
公開特許公報(A)
公開日
2025-09-01
出願番号
2024023565
出願日
2024-02-20
発明の名称
長尺物の篩い分け方法、焼却灰の処理方法、及び、振動篩機
出願人
UBE三菱セメント株式会社
代理人
個人
,
個人
,
個人
主分類
B07B
1/38 20060101AFI20250825BHJP(固体相互の分離;仕分け)
要約
【課題】本開示は、焼却灰に含まれる長尺物に付着している灰成分を長尺物から十分に除去しつつ、長尺物と灰成分とを精度よく篩い分けすることが可能な長尺物の篩い分け方法、焼却灰の処理方法、及び、振動篩機を説明する。
【解決手段】長尺物の篩い分け方法は、円形状を呈する篩部材の平坦部に焼却灰を投入することと、篩部材の周方向に焼却灰を移動させ、篩部材の篩網部において、焼却灰に含まれる長尺物を篩上物として焼却灰の灰成分から分離することと、焼却灰から分離されて篩網部を通過せずに篩部材上に残った篩上物を第1の排出部から排出することと、篩網部を通過した灰成分を篩下物として第2の排出部から排出することとを含む。平坦部は、篩部材のうち中心角が180°以上の略扇形状の領域であり、貫通孔が設けられていない。篩網部は、篩部材のうち中心角が180°以下の略扇形状の領域であり、複数の貫通孔が設けられている。
【選択図】図3
特許請求の範囲
【請求項1】
円形状を呈する篩部材の平坦部に焼却灰を投入することと、
駆動部により前記篩部材を振動させることにより、前記篩部材の周方向に前記焼却灰を移動させ、前記篩部材の篩網部において、前記焼却灰に含まれる長尺物を篩上物として前記焼却灰の灰成分から分離することと、
前記焼却灰から分離されて前記篩網部を通過せずに前記篩部材上に残った前記篩上物を第1の排出部から排出することと、
前記篩網部を通過した前記灰成分を篩下物として第2の排出部から排出することとを含み、
前記平坦部は、前記篩部材のうち中心角が180°以上の略扇形状の領域であり、貫通孔が設けられておらず、
前記篩網部は、前記篩部材のうち中心角が180°以下の略扇形状の領域であり、複数の貫通孔が設けられている、長尺物の篩い分け方法。
続きを表示(約 1,500 文字)
【請求項2】
前記篩網部に設けられている前記複数の貫通孔の直径は10mm~40mmである、請求項1に記載の方法。
【請求項3】
前記篩部材は、前記篩網部のうち前記篩部材の中心部から前記平坦部に向けて延び、且つ、複数の別の貫通孔が設けられた突出部をさらに含む、請求項1に記載の方法。
【請求項4】
前記篩部材の上面に、前記第1の排出部から前記篩網部に向けて延び、且つ、前記篩部材上に残った前記篩上物を前記第1の排出部に誘導するように構成されたガイド部材が配置されている、請求項1~3のいずれか一項に記載の方法。
【請求項5】
長尺物を含む焼却灰から、第1の選別機によって鉄類を分離することと、
鉄類が分離された後の前記焼却灰を篩機によって篩い分けることと、
前記篩機によって篩い分けられた第1の篩下物を、第2の選別機によって非鉄類と灰成分とに分離することと、
前記篩機によって篩い分けられた第1の篩上物を破砕機によって破砕することと、
破砕された前記第1の篩上物を、円形状を呈する篩部材を備える振動篩機によって篩い分けることとを含み、
前記第1の篩上物を前記振動篩機によって篩い分けることは、
前記第1の篩上物を前記篩部材の平坦部に投入することと、
駆動部により前記篩部材を振動させることにより、前記篩部材の周方向に前記第1の篩上物を移動させ、前記篩部材の篩網部において、前記第1の篩上物に含まれる前記長尺物を第2の篩上物として前記第1の篩上物の灰成分から分離することと、
前記第1の篩上物から分離されて前記篩網部を通過せずに前記篩部材上に残った前記第2の篩上物を第1の排出部から排出することと、
前記篩網部を通過した前記第1の篩上物の灰成分を第2の篩下物として第2の排出部から排出することと、
前記第2の排出部から排出された前記第2の篩下物を、前記第2の選別機によって非鉄類と灰成分とに分離することとを含み、
前記平坦部は、前記篩部材のうち中心角が180°以上の略扇形状の領域であり、貫通孔が設けられておらず、
前記篩網部は、前記篩部材のうち中心角が180°以下の略扇形状の領域であり、複数の貫通孔が設けられている、焼却灰の処理方法。
【請求項6】
破砕された前記第1の篩上物から、第3の選別機によって鉄類を分離することをさらに含み、
前記第1の篩上物を前記篩部材の平坦部に投入することは、前記第3の選別機によって鉄類が分離された後の前記第1の篩上物を前記篩部材の平坦部に投入することを含む、請求項5に記載の方法。
【請求項7】
前記第1の排出部から排出された前記第2の篩上物を別の篩機によって液体を用いて篩い分けることと、
前記別の篩機によって篩い分けられた第3の篩下物を乾燥して、前記第1の選別機に供給することとをさらに含む、請求項5に記載の方法。
【請求項8】
前記篩網部に設けられている前記複数の貫通孔の直径は10mm~40mmである、請求項5~7のいずれか一項に記載の方法。
【請求項9】
前記篩部材は、前記篩網部のうち前記篩部材の中心部から前記平坦部に向けて延び、且つ、複数の別の貫通孔が設けられた突出部をさらに含む、請求項5~7のいずれか一項に記載の方法。
【請求項10】
前記篩部材の上面に、前記第1の排出部から前記篩網部に向けて延び、且つ、前記篩部材上に残った前記篩上物を前記第1の排出部に誘導するように構成されたガイド部材が配置されている、請求項5~7のいずれか一項に記載の方法。
(【請求項11】以降は省略されています)
発明の詳細な説明
【技術分野】
【0001】
本開示は、長尺物の篩い分け方法、焼却灰の処理方法、及び、振動篩機に関する。
続きを表示(約 1,900 文字)
【背景技術】
【0002】
特許文献1は、中央部にパンチ孔が設けられていない平板部と、中央部の周囲において円環状に拡がり且つ多数個のパンチ孔が設けられた篩部とを含むパンチング板を篩部材とする円形振動篩機により、水砕スラグを一次篩い分けする方法を開示している。当該方法は、円形振動篩機により篩部材を振動させた状態で、水砕スラグをパンチング板の中央部に投入することを含む。中央部に供給された水砕スラグは、篩部材の振動により、篩部材の外周縁に向けて、放射状又は旋回しつつ放射状に拡散移動する。水砕スラグ中の針状物(針状スラグ)は、平板部においてほぼ水平に寝た状態であるので、水砕スラグの拡散移動の際にも立ち上がることなく寝た状態のまま移動する。そのため、針状物は、パンチ孔から落下せずに、篩上物として篩い分けされる。
【先行技術文献】
【特許文献】
【0003】
特開2006-181414号公報
【発明の概要】
【発明が解決しようとする課題】
【0004】
ところで、ゴミなどの焼却灰に含まれる長尺物(例えば、針状などを呈する長尺の異物)の表面には、通常、焼却灰の灰成分が付着している。特許文献1の方法では、中央部に焼却灰を投入した場合、中央部から篩部への焼却灰の移動距離及び移動時間が短い傾向にある。そのため、中央部から篩部に向けて焼却灰が直ちに移動してしまうので、長尺物に付着する灰成分が長尺物から分離しないまま、篩上物として篩い分けされる可能性がある。この場合、下流側の選別機において、長尺物と灰成分との分離が不十分となる懸念がある。
【0005】
そこで、本開示は、焼却灰に含まれる長尺物に付着している灰成分を長尺物から十分に除去しつつ、長尺物と灰成分とを精度よく篩い分けすることが可能な長尺物の篩い分け方法、焼却灰の処理方法、及び、振動篩機を説明する。
【課題を解決するための手段】
【0006】
長尺物の篩い分け方法の一例は、円形状を呈する篩部材の平坦部に焼却灰を投入することと、駆動部により篩部材を振動させることにより、篩部材の周方向に焼却灰を移動させ、篩部材の篩網部において、焼却灰に含まれる長尺物を篩上物として焼却灰の灰成分から分離することと、焼却灰から分離されて篩網部を通過せずに篩部材上に残った篩上物を第1の排出部から排出することと、篩網部を通過した灰成分を篩下物として第2の排出部から排出することとを含む。平坦部は、篩部材のうち中心角が180°以上の略扇形状の領域であり、貫通孔が設けられていない。篩網部は、篩部材のうち中心角が180°以下の略扇形状の領域であり、複数の貫通孔が設けられている。
【発明の効果】
【0007】
本開示に係る長尺物の篩い分け方法、焼却灰の処理方法、及び、振動篩機によれば、焼却灰に含まれる長尺物に付着している灰成分を長尺物から十分に除去しつつ、長尺物と灰成分とを精度よく篩い分けすることが可能となる。
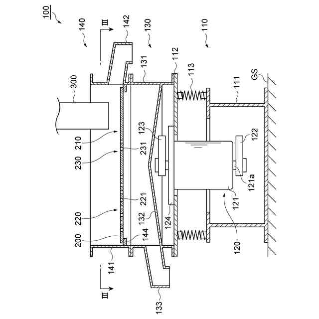
【図面の簡単な説明】
【0008】
図1は、焼却灰処理設備の一例を示す概略図である。
図2は、振動篩機の一例を側方から見て示す断面図である。
図3は、図2のIII-III線断面図である。
図4は、振動篩機の他の例を上方から見て示す断面図である。
図5は、振動篩機の他の例を上方から見て示す断面図である。
図6は、焼却灰処理設備の他の例を示す概略図である。
図7は、焼却灰処理設備の他の例を示す概略図である。
【発明を実施するための形態】
【0009】
以下の説明において、同一要素又は同一機能を有する要素には同一符号を用いることとし、重複する説明は省略する。なお、本明細書において、図の上、下、右、左というときは、図中の符号の向きを基準とすることとする。
【0010】
[焼却灰処理設備の構成]
図1を参照して、焼却灰処理設備1の構成について説明する。焼却灰処理設備1は、例えば、ゴミ焼却灰中の主灰W1から、金属異物M1,M2や長尺物M3などを分離するように構成されている。主灰W1は、例えば、ストーカ炉等のゴミ焼却設備の炉底から排出される焼却灰である。一方、ゴミ焼却設備の排ガスと共に排出される灰は、飛灰という。焼却灰処理設備1は、搬送部Cv1~Cv7と、ホッパ2と、選別機S1~S3と、破砕機3と、振動篩機100とを備える。
(【0011】以降は省略されています)
この特許をJ-PlatPat(特許庁公式サイト)で参照する
関連特許
個人
穀物選別機
4か月前
日清製粉株式会社
篩
3か月前
日東精工株式会社
検査装置
3か月前
個人
ゴミ分別システム
1か月前
株式会社タケエイ
振動篩装置
3か月前
株式会社レクザム
基板アンローダ
3か月前
川崎重工業株式会社
廃棄物処理システム
4か月前
シブヤ精機株式会社
農産物選別システム
4か月前
コネクテッドロボティクス株式会社
処理方法
2か月前
キヤノン株式会社
分別装置及び分別方法
2か月前
アンリツ株式会社
物品検査装置
4か月前
アンリツ株式会社
物品検査装置
4か月前
キヤノン株式会社
分別装置及び分別方法
4か月前
東芝ライテック株式会社
搬送システム
3か月前
株式会社シンセイ
砂乾燥選別装置
3か月前
日本協同企画株式会社
果菜引継ぎ搬送装置及び果菜箱詰め装置
2か月前
株式会社 東京ウエルズ
ワーク分類装置、ワーク分類方法
1か月前
株式会社山本工作所
空気分散部材及び乾式分離装置
1か月前
アンリツ株式会社
選別装置および物品検査装置
4か月前
アンリツ株式会社
選別装置および物品検査装置
1か月前
株式会社PFU
物体撮像装置および物体認識装置
3か月前
アクセリア株式会社
情報提供システム、提供情報生成装置及び情報提供方法
今日
ウエノテックス株式会社
風力選別機および風力選別システム
3か月前
キヤノン株式会社
識別装置
4か月前
UBE三菱セメント株式会社
長尺物の篩い分け方法、焼却灰の処理方法、及び、振動篩機
1か月前
株式会社FUJI
異物除去方法
1か月前
日鉄エンジニアリング株式会社
異物分離装置及び異物分離方法
6日前
個人
複素環式THR-β受容体アゴニスト化合物ならびにその調製方法および使用
2か月前
リジェネックスバイオ インコーポレイテッド
完全ヒト翻訳後修飾抗体による治療剤
1か月前
他の特許を見る