TOP
|
特許
|
意匠
|
商標
特許ウォッチ
Twitter
他の特許を見る
10個以上の画像は省略されています。
公開番号
2025150529
公報種別
公開特許公報(A)
公開日
2025-10-09
出願番号
2024051439
出願日
2024-03-27
発明の名称
信号発生装置及び信号発生方法
出願人
アンリツ株式会社
代理人
弁理士法人有我国際特許事務所
主分類
H04L
7/00 20060101AFI20251002BHJP(電気通信技術)
要約
【課題】複数のトランシーバからそれぞれ出力されるシリアルデータ間の位相整合可能な最大位相差を大幅に増加させることができる信号発生装置及び信号発生方法を提供する。
【解決手段】信号発生装置は、複数ビットのパラレルデータの位相を粗調整する複数の粗調整部111と、各粗調整部111により粗調整されたパラレルデータのうちのNビット分を1ビットのシリアルデータに変換する複数のトランシーバ20と、粗調整モードにおいてパラレルデータの位相を複数の粗調整部111により粗調整させることによって、各トランシーバ20から出力されるシリアルデータの位相を間接制御し、微調整モードにおいて各トランシーバ20から出力されるシリアルデータの位相を直接制御する位相同期制御部と、を備える。
【選択図】図3
特許請求の範囲
【請求項1】
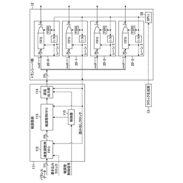
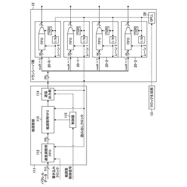
複数ビットのパラレルデータを出力するパラレルデータ出力部(11)と、
前記パラレルデータ出力部から出力された前記パラレルデータの位相を粗調整する複数の粗調整部(111)と、
各前記粗調整部により粗調整された前記パラレルデータのうちのNビット分を1ビットのシリアルデータに変換する複数のトランシーバ(20)と、
粗調整モードにおいて前記パラレルデータ出力部から出力された前記パラレルデータの位相を前記複数の粗調整部により粗調整させることによって、各前記トランシーバから出力される前記シリアルデータの位相を間接制御し、微調整モードにおいて各前記トランシーバから出力される前記シリアルデータの位相を直接制御する位相同期制御部(31)と、
外部クロックの周波数を分周した分周クロックを出力する分周クロック出力部(14)と、
前記分周クロックの分周比を前記分周クロック出力部に設定する分周比設定部(33)と、
前記分周クロックと前記外部クロックとのいずれかを選択するクロック選択部(17)と、
前記シリアルデータとして、前記クロック選択部により選択された前記分周クロック又は前記外部クロックの周波数の半分の周波数のトグルパターンを各前記トランシーバから出力させる制御を行うレート制御部(34)と、
前記クロック選択部により選択された前記分周クロック又は前記外部クロックと、前記トグルパターンとの位相差に対応する検波電圧を出力する位相検波部(40)と、を備え、
前記位相同期制御部は、
前記トグルパターンの位相を初期値から変化させながら、前記位相検波部から出力された前記検波電圧を取得する位相取得処理を実行する位相取得処理部(31b)と、
前記位相取得処理部により取得された前記検波電圧に基づいて、前記クロック選択部により選択された前記分周クロック又は前記外部クロックと前記トグルパターンの位相の前記初期値との初期位相差を算出する位相差算出処理を実行する位相差算出処理部(31d)と、
前記クロック選択部により選択された前記分周クロック又は前記外部クロックと前記トグルパターンとの位相差が所定の範囲内の値になるように、前記トグルパターンの位相を前記初期値から前記初期位相差の分だけ移動する位相移動処理を実行する位相移動処理部(31e)と、を含み、
前記位相同期制御部は、前記分周比設定部により前記分周比を段階的に減少させながら、前記位相取得処理、前記位相差算出処理、及び前記位相移動処理を繰り返し実行し、
前記クロック選択部は、前記分周比があらかじめ定められた所定値以下のときに前記位相移動処理が実行された後に、前記分周クロックに代えて前記外部クロックを選択し、
前記粗調整モードにおいて前記分周比設定部により設定される前記分周比の最小値は、前記微調整モードにおいて前記分周比設定部により設定される前記分周比の最大値以上であることを特徴とする信号発生装置。
続きを表示(約 2,000 文字)
【請求項2】
各前記粗調整部は、
前記パラレルデータのうちのLビット分が順次書き込まれる書き込みアドレスと、書き込まれた前記Lビット分の前記パラレルデータが順次読み出される読み出しアドレスとの差分を、前記位相同期制御部から出力される粗調整制御信号に応じて変化させる複数の粗調整用FIFO(113)と、
各前記粗調整用FIFOから読み出された前記Lビットの前記パラレルデータを、前記粗調整制御信号に応じて前記Nビット単位で遅延させて前記複数のトランシーバに出力する複数の遅延出力部(114)と、を有し、
前記位相同期制御部は、前記粗調整モードにおいて前記粗調整制御信号の値を変化させることにより、前記トグルパターンの位相を変化させることを特徴とする請求項1に記載の信号発生装置。
【請求項3】
4つの前記トランシーバは1つのトランシーバ部(12)を構成し、
各前記粗調整部は、各前記トランシーバ部に対応して設けられ、
前記トランシーバ部における4つの前記トランシーバは、共通のクロック信号のタイミングで、各前記粗調整部により粗調整された前記パラレルデータのうちの前記Nビット分を1ビットの前記シリアルデータに変換することを特徴とする請求項1又は請求項2に記載の信号発生装置。
【請求項4】
前記クロック選択部は、前記分周比が4以下のときに前記位相移動処理が実行された後に、前記分周クロックに代えて前記外部クロックを選択することを特徴とする請求項1又は請求項2に記載の信号発生装置。
【請求項5】
複数ビットのパラレルデータを出力するパラレルデータ出力部(11)と、
前記パラレルデータ出力部から出力された前記パラレルデータの位相を粗調整する複数の粗調整部(111)と、
各前記粗調整部により粗調整された前記パラレルデータのうちのNビット分を1ビットのシリアルデータに変換する複数のトランシーバ(20)と、
外部クロックの周波数を分周した分周クロックを出力する分周クロック出力部(14)と、
前記分周クロックと前記外部クロックとのいずれかを選択するクロック選択部(17)と、
前記クロック選択部により選択された前記分周クロック又は前記外部クロックと、前記シリアルデータとの位相差に対応する検波電圧を出力する位相検波部(40)と、を備える信号発生装置(1)を用いて、
粗調整モードにおいて前記パラレルデータ出力部から出力された前記パラレルデータの位相を前記複数の粗調整部により粗調整させることによって、各前記トランシーバから出力される前記シリアルデータの位相を間接制御し、微調整モードにおいて各前記トランシーバから出力される前記シリアルデータの位相を直接制御する信号発生方法であって、
前記分周クロックの分周比を前記分周クロック出力部に設定する分周比設定ステップ(S23,S27,S35)と、
前記シリアルデータとして、前記クロック選択部により選択された前記分周クロック又は前記外部クロックの周波数の半分の周波数のトグルパターンを各前記トランシーバから出力させる制御を行うレート制御ステップ(S41,S44,S47)と、
前記トグルパターンの位相を初期値から変化させながら、前記位相検波部から出力された前記検波電圧を取得する位相取得処理を実行する位相取得処理ステップ(S42,S45,S48)と、
前記位相取得処理ステップにより取得された前記検波電圧に基づいて、前記クロック選択部により選択された前記分周クロック又は前記外部クロックと前記トグルパターンの位相の前記初期値との初期位相差を算出する位相差算出処理を実行する位相差算出処理ステップ(S43,S46,S49)と、
前記クロック選択部により選択された前記分周クロック又は前記外部クロックと前記トグルパターンとの位相差が所定の範囲内の値になるように、前記トグルパターンの位相を前記初期値から前記初期位相差の分だけ移動する位相移動処理を実行する位相移動処理ステップ(S25,S33,S39)と、
前記分周比設定ステップにより前記分周比を段階的に減少させながら、前記位相取得処理、前記位相差算出処理、及び前記位相移動処理を繰り返し実行するステップ(S25~S28,S33~S36)と、
前記分周比があらかじめ定められた所定値以下のときに前記位相移動処理が実行された後に、前記クロック選択部により前記分周クロックに代えて前記外部クロックを選択する外部クロック選択ステップ(S37)と、を含み、
前記粗調整モードにおいて前記分周比設定ステップにより設定される前記分周比の最小値は、前記微調整モードにおいて前記分周比設定ステップにより設定される前記分周比の最大値以上であることを特徴とする信号発生方法。
発明の詳細な説明
【技術分野】
【0001】
本発明は、信号発生装置及び信号発生方法に関し、特に、パラレルデータを高速のシリアルデータに変換出力するトランシーバを備えた信号発生装置及び信号発生方法に関する。
続きを表示(約 1,900 文字)
【背景技術】
【0002】
Ethernet(登録商標) 800GbE(Gigabit Ethernet)やPCIe(登録商標)(Peripheral Component Interconnect Express) Gen(Generation)6等の通信規格の高速化に伴い、信号の伝送方法もPAM(Pulse Amplitude Modulation)4に代表されるように、NRZ(Non Return to Zero)のような単純な2値デジタル信号ではなくなっている。今後はPAM8、PAM16といった伝送方法が規格化されることも考えられる。これらの信号を用いる製品の開発や試験を行う場合、テスト用の信号源が必要となる。
【0003】
このような信号源は、PAM4、PAM8等の信号が生成できることは当然ながら、特定の伝送経路を通過した信号や、エンファシスやフィルタ処理が行われた信号を発生できることが望ましい。ゆえに、アナログ的に任意の波形が生成可能で、かつ100Gsps(G Symbol/s)を超えるような高速度の任意信号発生器(Arbitrary Waveform Generator:AWG)が求められている。
【0004】
AWGにおいては、出力するアナログ波形をユーザが自在に設定できる必要がある。また、当然ではあるが、任意の信号の発生が求められるため、数値データで波形を設定できることが必要となる。よって、AWGは、内部において、FPGA(Field Programmable Gate Array)やASIC(Application Specific Integrated Circuit)等から出力されたデジタルデータをアナログデータに変換する機構が必要になる。この変換自体はデジタルアナログコンバータ(Digital Analog Converter:DAC)で可能である。
【0005】
しかしながら、要求されるアナログデータの出力レートが高速である場合、マルチプレクサ(Multiplexer:MUX)による多重化で高速化された信号をDACに入力する必要が生じるだけではなく、DACやその前段のMUXに入力される複数の入力信号間の位相差の影響が無視できなくなる。例えば、FPGAの出力レートが32Gsps、DACのビット分解能が8ビットであった場合、MUXに入力される全信号間の最大位相差が0.1UI(Unit Interval)(3.125ps)未満であることが望まれる。
【0006】
ここで、特許文献1に記載された技術を用いることによって、MUXに入力される全信号間の最大位相差を0.1UI未満ないしそれに近い値に調整することが可能である。
【先行技術文献】
【特許文献】
【0007】
特許第6346212号公報
【発明の概要】
【発明が解決しようとする課題】
【0008】
しかしながら、特許文献1に記載された技術は、MUXに入力される信号間の位相を1クロック(1UI)分ずれた位置で調整してしまうことがある。これは、この調整前の信号間の位相が大きくずれていた場合に発生する。
【0009】
具体的には、特許文献1に記載された技術は、調整前の信号間に1UIを超える位相差が生じている場合、対応することができない。さらに、調整前の信号間の位相差を別の手段であらかじめ1UI以内に抑える場合においても、FPGAのトランシーバ等に与えるクロック位相を調整する追加機構や、周波数によって変化する位相調整量の測定が必要になる等、技術的、コスト的課題もある。FPGAの場合、起動又はリセットを行うたびにトランシーバ間の位相差が変わる可能性があり、この場合は起動又はリセットを行うたびに位相調整量の再測定が必要になる。また、使用するFPGAによっては、FPGA内部の接続ルートの固定化を行った場合であっても、そもそも出力信号の位相差を1UI以内に抑えることができない可能性もある。
【0010】
この場合、MUXを用いて信号を多重化した際に意図しないデータが生成される。例えばこのデータを誤り率測定装置(Bit Error Rate Tester:BERT)のテスト信号として用いた場合、テスト信号自体に誤りがあることになるため、正しい誤り率(エラーレート)の測定が不可能になってしまう。
(【0011】以降は省略されています)
この特許をJ-PlatPat(特許庁公式サイト)で参照する
関連特許
WHISMR合同会社
収音装置
1か月前
サクサ株式会社
中継装置
6日前
サクサ株式会社
中継装置
5日前
キヤノン株式会社
撮像装置
1か月前
アイホン株式会社
電気機器
27日前
個人
ワイヤレスイヤホン対応耳掛け
25日前
キヤノン電子株式会社
画像読取装置
1か月前
株式会社リコー
画像形成装置
1か月前
サクサ株式会社
無線通信装置
5日前
サクサ株式会社
無線通信装置
5日前
株式会社リコー
画像形成装置
2か月前
サクサ株式会社
無線システム
4日前
株式会社リコー
画像形成装置
1か月前
個人
発信機及び発信方法
4日前
株式会社ニコン
撮像装置
2か月前
ブラザー工業株式会社
読取装置
2か月前
キヤノン株式会社
撮像システム
27日前
株式会社JVCケンウッド
通信システム
11日前
大日本印刷株式会社
写真撮影装置
26日前
有限会社フィデリックス
マイクロフォン
11日前
国立大学法人電気通信大学
小型光学装置
1か月前
沖電気工業株式会社
画像形成装置
15日前
株式会社小糸製作所
画像照射装置
1か月前
キヤノン電子株式会社
シート材搬送装置
2か月前
株式会社松平商会
携帯機器カバー
1か月前
パテントフレア株式会社
超高速電波通信
1か月前
パテントフレア株式会社
水中電波通信法
2か月前
DXO株式会社
情報処理システム
2か月前
沖電気工業株式会社
画像形成装置
7日前
日本無線株式会社
無線通信システム
1か月前
株式会社リコー
画像形成装置
1か月前
株式会社大林組
監視システム
1か月前
日本無線株式会社
無線通信システム
1か月前
株式会社JVCケンウッド
スピーカ
1か月前
日本無線株式会社
無線通信システム
1か月前
日本無線株式会社
無線通信システム
1か月前
続きを見る
他の特許を見る