TOP
|
特許
|
意匠
|
商標
特許ウォッチ
Twitter
他の特許を見る
公開番号
2025146960
公報種別
公開特許公報(A)
公開日
2025-10-03
出願番号
2025126288,2021117391
出願日
2025-07-29,2021-07-15
発明の名称
異物分離装置及び異物分離方法
出願人
日鉄エンジニアリング株式会社
,
日鉄環境エネルギーソリューション株式会社
代理人
弁理士法人英和特許事務所
主分類
B07B
4/02 20060101AFI20250926BHJP(固体相互の分離;仕分け)
要約
【課題】除塵器で捕集したダストに含まれる異物としての金属線を分離することのできる異物分離装置及び異物分離方法を提供する。
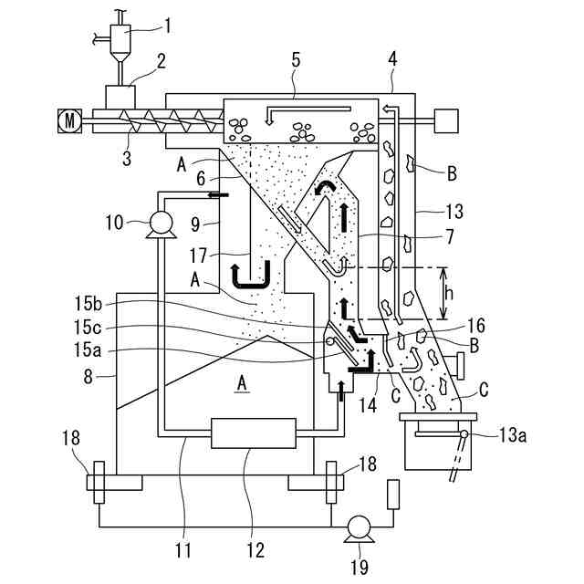
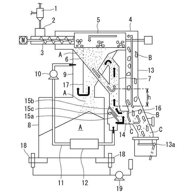
【解決手段】除塵器1で捕集したダストを篩5で機械的に篩分け、篩下のダストを鉛直管7に案内し、当該鉛直管7の下部から気体を流入して当該鉛直管7内に上昇気流を発生させ、当該上昇気流によって浮上分離したダストをダスト貯留タンク8に案内し、篩下のダスト中の金属線を沈降させることにより分離する。
【選択図】図1
特許請求の範囲
【請求項1】
除塵器で捕集され異物として塊状物及び金属線を含むダストから、塊状物と金属線を分離する異物分離装置であって、
ダスト中の塊状物を機械的に篩分けする篩と、金属線を含む篩下のダストを鉛直管に案内する案内シュートとを備え、
前記鉛直管の下部から気体を流入して当該鉛直管内に上昇気流を発生させ、当該上昇気流によって浮上分離したダストをダスト貯留タンクに案内し、篩下のダスト中の金属線を沈降させることにより分離する、異物分離装置。
続きを表示(約 1,300 文字)
【請求項2】
前記ダスト貯留タンクは前記篩の直下に位置する共にダストシュートを介して前記篩と接続され、
前記鉛直管は前記ダストシュートの外部に設けられ、
前記案内シュートは、前記ダストシュートの内部では当該ダストシュートと仕切られ、当該ダストシュートを貫通して前記鉛直管に連通し、
当該鉛直管の上部は前記ダストシュートに連通し、当該鉛直管の下部には、前記ダストシュート内の気体が循環ファンによって送気される、請求項1に記載の異物分離装置。
【請求項3】
前記鉛直管の上部は、ダスト移送管を介して前記ダスト貯留タンクの上部と接続され、
当該鉛直管の下部には、前記ダスト貯留タンクの上部内の気体が循環ファンによって送気される、請求項1に記載の異物分離装置。
【請求項4】
篩上の異物を排出する異物シュートを備え、
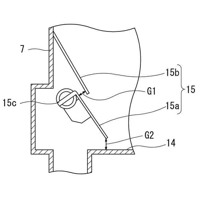
前記鉛直管の下部と前記異物シュートとを、水平又は当該異物シュートに向けて下方に傾斜する連絡管で接続し、
前記鉛直管の下部に、前記連絡管に向かう斜面板を設置し、当該斜面板の上方に隙間を持たせて庇板を設置して二重板構造体とし、
前記循環ファンの送気位置を前記二重板構造体の下方とし、その送気気流を、前記二重板構造体の隙間及び前記二重板構造体と前記連絡管の底面との間の隙間から噴出させるようにし、
さらに前記連絡管の出口部に、前記異物シュート側に流入する気体量を制限するダンパを設けている、請求項2又は3に記載の異物分離装置。
【請求項5】
前記連絡管の出口部から、沈降した金属線と共に前記異物シュート側に流入した気体が、当該異物シュート及び前記篩を介して前記案内シュートに流入し、さらにダストと共に前記鉛直管に流入して前記鉛直管の下部から流入する気体と合流する循環流を形成する、請求項4に記載の異物分離装置。
【請求項6】
前記循環ファンの吐出側から前記鉛直管の下部に至る管路の途中に、当該管路内の気体を冷却する熱交換器を設けている、請求項2から5のいずれか一項に記載の異物分離装置。
【請求項7】
前記除塵器は、廃棄物溶融炉からの熱分解ガスに随伴する可燃性ダストを捕集するものである、請求項1から6のいずれか一項に記載の異物分離装置。
【請求項8】
除塵器で捕集され異物として塊状物及び金属線を含むダストから、塊状物と金属線を分離する異物分離方法であって、
除塵器で捕集したダスト中の塊状物を機械的に篩分け、金属線を含む篩下のダストを鉛直管に案内し、当該鉛直管の下部から気体を流入して当該鉛直管内に上昇気流を発生させ、当該上昇気流によって浮上分離したダストをダスト貯留タンクに案内し、篩下のダスト中の金属線を沈降させることにより分離する、異物分離方法。
【請求項9】
前記鉛直管の下部から流入する気体を予め冷却する、請求項8に記載の異物分離方法。
【請求項10】
前記除塵器は、廃棄物溶融炉からの熱分解ガスに随伴する可燃性ダストを捕集するものである、請求項8又は9に記載の異物分離方法。
発明の詳細な説明
【技術分野】
【0001】
本発明は、除塵器で捕集され異物として、塊状物に加え金属線を含むダストから金属線を分離する異物分離装置及び異物分離方法に関する。
続きを表示(約 2,500 文字)
【背景技術】
【0002】
除塵器で捕集されたダスト中には塊状物に加え金属線を含む異物が存在する場合がある。以下、廃棄物溶融炉からの熱分解ガスに随伴する可燃性ダストを例として説明する。
特許文献1には、廃棄物溶融炉からの熱分解ガスに随伴する可燃性ダストをサイクロン等の除塵器で捕集し、捕集した可燃性ダストを廃棄物溶融炉の羽口から吹き込む技術が開示されている。また、特許文献2には、除塵器で捕集した可燃性ダストを廃棄物溶融炉の羽口に吹き込む過程でのダスト処理技術が開示されている。具体的に特許文献2には、可燃性ダストホッパーと吹込装置に向かうまでの可燃性ダストの搬送経路に、可燃性ダストを切り出すスクリューコンベアとそのスクリューコンベアと同軸に連結されて回転する可燃性ダストを冷却するための円筒形の回転ドラム式冷却装置、さらにその回転ドラム式冷却装置と同軸に連結されて回転する円筒形の回転篩を設け、その回転篩の下方に可燃性ダストの排出口を設け、その回転篩の出側の下方に可燃性ダスト中の異物である塊状物(大塊)の排出口を設けている。この技術は可燃性ダストの冷却、篩装置を1つの装置にし、回転ドラム式冷却装置を採用したことを特徴としたものである。そしてこの回転ドラム式冷却装置には、スクリューコンベアのスクリュー軸を経由して冷却水を供給することが記載されている。
【0003】
このように特許文献2では、除塵器で捕集された高温の可燃性ダストを円筒形の回転ドラム式冷却装置で冷却後、羽口への空気搬送や羽口からの吹込みに支障を来す塊状物等の異物を分離するために円筒形の回転篩を連結使用している。この円筒形の回転篩は、7mm程度のパンチング穴あるいはスリット開口を有する機械式の篩であり、大きさが7mm程度を超える大塊であればこれを分離することができる。しかし、除塵器で捕集された可燃性ダスト中には、異物として塊状物のほかに針金等の金属線が含まれている。金属線は長さが7mm程度を超えていたとしても、円筒形の回転篩における7mm程度のパンチング穴あるいはスリット開口を容易に通過するから、円筒形の回転篩では分離することができない。そのため、円筒形の回転篩の篩下には、可燃性ダストのほかに異物として金属線が含まれることとなり、この金属線が羽口への空気搬送管(呼び径:32A程度) や羽口自体を閉塞させる原因となる場合がある。この場合、羽口から可燃性ダストを吹き込むことができなくなり、その結果、除塵器が機能しなくなって、大量の可燃性ダストが後段の燃焼室に流れ込む事態となる。そうすると、燃焼室が大量の可燃性ダストの燃焼により高温化し、燃焼した可燃性ダストが溶融クリンカとして燃焼室の内壁に付着し成長する事態となり、廃棄物溶融炉の運転に大きな障害となる。
【0004】
ここで、廃棄物溶融炉からの熱分解ガスに随伴する可燃性ダストは、平均粒径が30μm程度と非常に細かく、未燃炭素が約40質量%存在し燃焼性が非常に高い。しかも、この可燃性ダストの発生量は廃棄物溶融炉の炉状況により大きく変動し、その発生量のコントロールは実態上不可能である。したがって、可燃性ダストが除塵器で捕集されずに後段の燃焼室に大量に流入すると、燃焼室は短時間で高温化するため温度制御が困難となり、上述のようにクリンカが成長する事態となり、廃棄物溶融炉の運転に大きな障害となる。
【0005】
そのため、特に、廃棄物溶融炉からの熱分解ガスに随伴する可燃性ダストについては除塵器で確実に捕集し、羽口から廃棄物溶融炉に戻される必要があり、そのためには除塵器で捕集した可燃性ダストに含まれる異物としての金属線を分離する必要がある。また、除塵器で捕集したダストに含まれる異物としての金属線を分離する必要性(ニーズ)は、廃棄物溶融炉からの熱分解ガスに随伴する可燃性ダストに限らず、機械式篩のみでは分離できない金属線を含むダストを篩分けする技術としては他分野でも広範囲なニーズがあり、応用性が高い。
【先行技術文献】
【特許文献】
【0006】
特開平8-285250号公報
特開2004-85174号公報(特許第4129191号公報)
【発明の概要】
【発明が解決しようとする課題】
【0007】
本発明が解決しようとする課題は、除塵器で捕集したダストに含まれる異物としての金属線を分離することのできる異物分離装置及び異物分離方法を提供することにある。
【課題を解決するための手段】
【0008】
本発明の一観点によれば、次の異物分離装置が提供される。
除塵器で捕集され異物として塊状物及び金属線を含むダストから、塊状物と金属線を分離する異物分離装置であって、
ダスト中の塊状物を機械的に篩分けする篩と、金属線を含む篩下のダストを鉛直管に案内する案内シュートとを備え、
前記鉛直管の下部から気体を流入して当該鉛直管内に上昇気流を発生させ、当該上昇気流によって浮上分離したダストをダスト貯留タンクに案内し、篩下のダスト中の金属線を沈降させることにより分離する、異物分離装置。
【0009】
本発明の他の観点によれば、次の異物分離方法が提供される。
除塵器で捕集され異物として塊状物及び金属線を含むダストから、塊状物と金属線を分離する異物分離方法であって、
除塵器で捕集したダスト中の塊状物を機械的に篩分け、金属線を含む篩下のダストを鉛直管に案内し、当該鉛直管の下部から気体を流入して当該鉛直管内に上昇気流を発生させ、当該上昇気流によって浮上分離したダストをダスト貯留タンクに案内し、篩下のダスト中の金属線を沈降させることにより分離する、異物分離方法。
【発明の効果】
【0010】
本発明によれば、除塵器で捕集したダストに含まれる異物としての金属線を分離することができる。
【図面の簡単な説明】
(【0011】以降は省略されています)
この特許をJ-PlatPat(特許庁公式サイト)で参照する
関連特許
日清製粉株式会社
篩
3か月前
個人
ゴミ分別システム
1か月前
株式会社タケエイ
振動篩装置
3か月前
シブヤ精機株式会社
農産物の集出荷装置
1日前
コネクテッドロボティクス株式会社
処理方法
2か月前
キヤノン株式会社
分別装置及び分別方法
2か月前
株式会社シンセイ
砂乾燥選別装置
3か月前
株式会社サタケ
測定装置および選別装置
1日前
日本協同企画株式会社
果菜引継ぎ搬送装置及び果菜箱詰め装置
2か月前
株式会社山本工作所
空気分散部材及び乾式分離装置
1か月前
株式会社 東京ウエルズ
ワーク分類装置、ワーク分類方法
1か月前
アンリツ株式会社
選別装置および物品検査装置
1か月前
株式会社PFU
物体撮像装置および物体認識装置
3か月前
アクセリア株式会社
情報提供システム、提供情報生成装置及び情報提供方法
2日前
UBE三菱セメント株式会社
長尺物の篩い分け方法、焼却灰の処理方法、及び、振動篩機
1か月前
株式会社FUJI
異物除去方法
1か月前
日鉄エンジニアリング株式会社
異物分離装置及び異物分離方法
8日前
個人
複素環式THR-β受容体アゴニスト化合物ならびにその調製方法および使用
2か月前
リジェネックスバイオ インコーポレイテッド
完全ヒト翻訳後修飾抗体による治療剤
1か月前
他の特許を見る