TOP
|
特許
|
意匠
|
商標
特許ウォッチ
Twitter
他の特許を見る
10個以上の画像は省略されています。
公開番号
2025105090
公報種別
公開特許公報(A)
公開日
2025-07-10
出願番号
2023223388
出願日
2023-12-28
発明の名称
自立袋
出願人
ダイワ包材株式会社
代理人
個人
主分類
B65D
30/16 20060101AFI20250703BHJP(運搬;包装;貯蔵;薄板状または線条材料の取扱い)
要約
【課題】
本発明は、果物などの生鮮品等を袋体に収納する際に収納物から出るドリップを収納物から切り離して保管することができる袋体の提供を課題とする。
更には自立袋を重積してもつぶれずに重積できる袋体の提供を課題とする。
【解決手段】
上下にガゼット部を有する袋体の胴部である中央部で絞り込むと共に底部方向は開口部より小径の幅を有する袋体で、袋体開口部の幅から絞り込み部を経て底部でやや小径とする袋体であり、開口部近傍と胴部と底部とからなる袋体であり、側辺シール部と絞り込みシール部と底部側辺部シール部を有し、絞り込みシール部が側辺部分からそのまま傾斜に沿って袋体内部方向に延在し、中央部はシール部を形成して袋体の表面シート側の下部ガゼット部の折り込み部分に不織布を有する自立袋。
【選択図】 図1
特許請求の範囲
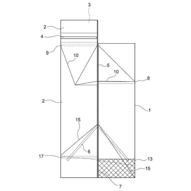
【請求項1】
表面(1)シートと裏面(2)シートとチャック部閉鎖用表側シート部(3)とからなる自立袋であり、
袋体の胴部である中央部で絞り込むと共に底部方向は開口部より小径の幅を有する袋体で、袋体開口部の幅から絞り込み部を経て底部でやや小径とする袋体であり、開口部近傍と胴部と底部とからなる袋体であって、
袋体は開口部近傍の側辺部は側辺シール部(5)を有し、絞り込み部の側辺部も絞り込みシール部(6)を有し、袋体底部の側辺部も底部側辺部シール部(7)を有し、
表面(1)シートとチャック部閉鎖用表側シート部(3)間には逆Z字状のシートからなる上部ガゼット部(10)を有し、
袋体底部には袋体下部ガゼット部(15)を有する袋体であり、
裏面(2)シートとチャック部閉鎖用表側シート部(3)間にはチャック部(4)を有して、該チャック部(4)の開閉により袋体の開口部の開閉を行うことができる自立袋であって、
絞り込み部の側辺部も絞り込みシール部(6)は側辺部分からそのまま絞り込み傾斜に沿って袋体内部方向に延在して袋体内部にもシール部分を形成するものであるが、袋体中央部の近傍迄形成し、中央部はシール部を形成していない絞り込みシール部(6)を有するものであって
表面(1)シート側の下部ガゼット部(15)の折り込み部分に不織布を有することを特徴とする自立袋。
続きを表示(約 770 文字)
【請求項2】
不織布がポリオフィン性の繊維直交積層不織布であることを特徴とする請求項1記載の自立袋。
【請求項3】
不織布が吸水性を有する部材であることを特徴とする請求項1記載の自立袋。
【請求項4】
表面(1)シートとチャック部閉鎖用表側シート部(3)間の逆Z字状のシートからなる上部ガゼット部(10)が、
表面(1)シートの上部方向で上部ガゼット部(10)の逆Z字状シートの一端で、表面(1)シートとシール部(8)により連接しており、上部ガゼット部(10)の逆Z字状シートの他端で、チャック部閉鎖用表側シート部(3)とシール部(9)により連接していることを特徴とする請求項1記載の自立袋。
【請求項5】
表面(4)シートとチャック部閉鎖用表側シート部(4)間の逆Z字状のシートからなる上部ガゼット部(10)は、
上部ガゼット部(10)の逆Z字状のシート地の下部折り込み部(12)が裏面シート側に位置し、上部ガゼット部(10)の逆Z字状のシート地の上部折り込み部(11)が表面シート側に位置した折り込み状態の逆Z字状のシート地で配設したことを特徴とする請求項4記載の自立袋。
【請求項6】
逆Z字状のシートからなる上部ガゼット部(10)は、
チャック部閉鎖用表側シート部(3)とシール部(9)を有する逆Z字状のシート地により構成される端部と、シール部(8)を有する表面(3)シートからなる端部により形成され、それぞれが両端に位置する上部ガゼット部(10)であり、両者間に挟まれる該両端部間においては、上部ガゼット部(10)の上部折り込み部(11)を中心とした山折りの上部ガゼット部(10)がその中央に位置することを特徴とする請求項4記載の自立袋。
発明の詳細な説明
【技術分野】
【0001】
本発明は、角底体からなる袋体であって自立可能な自立袋に関し、収納物の出るドリップを収納物から隔離して貯めることができると共に縦方向に複数の自立袋を載置することのできる自立袋に関する。
続きを表示(約 2,200 文字)
【背景技術】
【0002】
樹脂シートまたはフィルムを用いた袋体であって起立するための角底を有する袋体は、袋体底部にガゼット部を形成して自立可能とする袋体は各種存在する。
特に袋体内に収納物を入れることによって袋体内部が膨らむことによって底面が広がり立設可能となる袋体である。 例えば特開2022-11710号(特許文献1)に示す袋体が存在する。
このような袋体に関して収納物として生鮮品例えば果物などを袋体内に収納して展示販売する場合にはどうしても果物のドリップが袋体内に出てしまい、底部に収納物である果物と共にドリップが溜まることとなる。
【0003】
例えばこの角底体を有する袋体として特開2019-182513号(特許文献2)に示す袋体は、例えば内部にカットスイカなどを収納した場合に袋体内にどうしてもドリップが溜まってしまうものである。
この場合袋体には底部にガゼット部を有することから袋体の底部が広がり、内部空間を広くとることができることからより多くの量の内容物を収納できる。
しかし、袋体上部は開口部を封鎖した状態であり、上部は広がっておらず線状の尾根上部を形成するものとなる。
【0004】
従ってより大量の収納物を収納するためには特開2021-138409号(特許文献3)に示す袋体のように底部のみならず上部にもガゼット部を形成してより袋体の収納量を増やすことが必要となる。
更に、これらの販売すべき生鮮品などの内容物を収納した袋体は、店頭で展示販売することとなる。
【先行技術文献】
【特許文献】
【0005】
特開2022-11710号
特開2019-182513号
特開2021-138409号
【発明の概要】
【発明が解決しようとする課題】
【0006】
以上のように、袋体内に生鮮産などを収納した場合、底部に生鮮品のドリップが溜まってしまい、展示販売に際して生鮮品の鮮度を落としてしまう恐れがあった。
例えば見た目の新鮮さのほか、菌の増殖などを極力防ぐためにはドリップを商品から切り離すことが必要であった。
更に、収納物が視認できる袋体においては、展示販売に際してどうしても見た目の新鮮さを損ねてしまうものとなっていた。
又購買者がドリップを有する生鮮品などを購入した際に持ち運び時にドリップ漏れが生じてしまうことがあり、何らかの解決策が求められていた。
【0007】
従って係るドリップを収納商品から離すことが必要であり、何らかの解決策を求められていた。
更には、硬質の立体的樹脂容器に収納して販売する場合には、例えば容器が四角形状の場合には一の容器の上部に重ねて展示販売ができるものである。
しかし、樹脂製の袋体を用いた収納の場合には上部に重ねると下部の袋体が潰れてしまい品質劣化を起こすと共に展示販売時の見た目もよくなく、どうしても展示台上に重ならずに並べて平置きした状態で展示販売することが必要となる。
【0008】
従って樹脂製の袋体においてはどうしても、重ねると潰れてしまうことから平面上に載置しておくことが必要となる。
更に、例えば運搬時の収納においても、重積すると上部の商品の重みで下部の袋体が潰れてしまうことから、重積することを避ける必要があり、どうしても一度の運搬時に収納できる量が少なくなってしまうという欠点も有していた。
【0009】
以上の様に、まず袋体収納物のドリップを収納物から切り離すことが必要であり、係る点を解決する方策が求められていた。
従って生鮮品などを収納する袋体に関してはその柔らかさから重積すると株の収納物を痛めてしまうという問題的を解決することが求められていた。
【課題を解決するための手段】
【0010】
係るために請求項1に係る発明、は表面シートと裏面シートとチャック部閉鎖用表側シート部とからなる自立袋であり、袋体の胴部である中央部で絞り込むと共に底部方向は開口部より小径の幅を有する袋体で、袋体開口部の幅から絞り込み部を経て底部でやや小径とする袋体であり、開口部近傍と胴部と底部とからなる袋体であって、袋体は開口部近傍の側辺部は側辺シール部を有し、絞り込み部の側辺部も絞り込みシール部を有し、袋体底部の側辺部も底部側辺部シール部を有し、表面シートとチャック部閉鎖用表側シート部間には逆Z字状のシートからなる上部ガゼット部を有し、袋体底部には袋体下部ガゼット部を有する袋体であり、裏面シートとチャック部閉鎖用表側シート部間にはチャック部を有してチャック部の開閉により袋体の開口部の開閉を行うことができる自立袋からなり、絞り込み部の側辺部も絞り込みシール部は側辺部分からそのまま絞り込み傾斜に沿って袋体内部方向に延在して袋体内部にもシール部形成するものであるが、袋体中央部の近傍迄形成し、中央部はシール部を形成していない絞り込みシール部を有するものであって、表面シート側下部ガゼット部(15)の折り込み部分に不織布を有する自立袋である。
係る発明により前記課題を解決できる。
(【0011】以降は省略されています)
この特許をJ-PlatPat(特許庁公式サイト)で参照する
関連特許
ダイワ包材株式会社
自立袋
3か月前
個人
ゴミ箱
12か月前
個人
収容箱
3か月前
個人
コンベア
4か月前
個人
ゴミ収集器
6か月前
個人
容器
9か月前
個人
段ボール箱
6か月前
個人
段ボール箱
6か月前
個人
宅配システム
6か月前
個人
パウチ補助具
11か月前
個人
土嚢運搬器具
8か月前
個人
バンド
1か月前
個人
角筒状構造体
5か月前
個人
楽ちんハンド
4か月前
個人
コード類収納具
7か月前
個人
廃棄物収容容器
2か月前
個人
閉塞装置
9か月前
個人
包装容器
26日前
個人
お薬の締結装置
5か月前
個人
把手付米袋
4か月前
個人
ゴミ処理機
8か月前
株式会社バンダイ
物品
7日前
個人
貯蔵サイロ
6か月前
株式会社和気
包装用箱
8か月前
株式会社コロナ
梱包材
5か月前
個人
積み重ね用補助具
2か月前
個人
蓋閉止構造
3か月前
個人
蓋閉止構造
3か月前
個人
コード折り畳み器具
3か月前
個人
輸送積荷用動吸振器
5か月前
個人
包装箱
9か月前
三甲株式会社
蓋体
7か月前
三甲株式会社
容器
1か月前
株式会社新弘
容器
2か月前
株式会社イシダ
搬送装置
6か月前
株式会社KY7
封止装置
3か月前
続きを見る
他の特許を見る