TOP
|
特許
|
意匠
|
商標
特許ウォッチ
Twitter
他の特許を見る
公開番号
2025113277
公報種別
公開特許公報(A)
公開日
2025-08-01
出願番号
2025078802,2024006914
出願日
2025-05-09,2024-01-19
発明の名称
食品製造ロスの減容化装置
出願人
栗田工業株式会社
代理人
個人
,
個人
主分類
B09B
3/30 20220101AFI20250725BHJP(固体廃棄物の処理;汚染土壌の再生)
要約
【課題】食品製造ロスの体積を低減する減容化装置を提供する。
【解決手段】食品製造ロスの減容化装置は、食品製造ロスを貯留するタンク21と、食品製造ロスを濾過する膜を有する膜処理装置と、を備え、前記膜処理装置からの膜濃縮水はタンク21に循環される。膜処理装置は限外濾過膜分離装置24を含む。膜処理装置は、限外濾過膜分離装置24で得られた処理水を処理する逆浸透膜分離装置27をさらに含んでもよい。食品製造ロスは、ウイスキーの蒸留廃液、小豆煮汁、米とぎ汁、液体状食品(例えば豆乳)などである。
【選択図】図1
特許請求の範囲
【請求項1】
食品製造ロスを貯留するタンクと、
前記タンクから供給される前記食品製造ロスを濾過する限外濾過膜分離装置と、
前記限外濾過膜分離装置で得られた処理水を処理する逆浸透膜分離装置と、
を備え、
前記限外濾過膜分離装置からの膜濃縮水及び前記逆浸透膜分離装置からの膜濃縮水は前記タンクに循環される、食品製造ロスの減容化装置。
続きを表示(約 260 文字)
【請求項2】
前記タンクに導入される前記食品製造に改質剤を添加する改質剤添加装置をさらに備える、請求項1に記載の食品製造ロスの減容化装置。
【請求項3】
前記改質剤はギ酸である、請求項2に記載の食品製造ロスの減容化装置。
【請求項4】
減容化された前記食品製造ロスが移送される出荷タンクをさらに備える、請求項1に記載の食品製造ロスの減容化装置。
【請求項5】
前記食品製造ロスは、ウイスキーの蒸留廃液である、請求項1~4のいずれかに記載の食品製造ロスの減容化装置。
発明の詳細な説明
【技術分野】
【0001】
本発明は、食品製造ロスの減容化装置に関する。
続きを表示(約 1,100 文字)
【背景技術】
【0002】
食品製造工程からは、食品製造ロスが生じる。食品製造ロスとしては、例えば、容器への充填不良、ラベル不鮮明等の理由で容器とともに廃棄される液体状食品(豆乳、野菜ジュース、ヨーグルトなど)や、ウイスキーの蒸留廃液、小豆煮汁、米とぎ汁、あるいは製品品目の変更時(例:豆乳のコーヒー味からバナナ味への変更など)に発生するCIP排水(Clean in Place定置洗浄排水)などが挙げられる。
【0003】
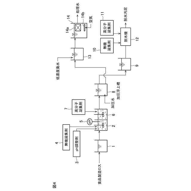
図4は、食品製造ロスの処理設備の一例を示すフロー図である。食品製造ロスは、原水槽1を経て反応槽2に導入され、pH調整剤添加装置3からpH調整剤が添加され、中性付近にpH調整されると共に、無機凝集剤添加装置4から無機凝集剤が添加され、撹拌機で撹拌される。撹拌された液は、凝集槽6に移送され、高分子凝集剤添加装置7から高分子凝集剤が添加され、撹拌機で撹拌され、凝集フロックが生成する。この凝集フロックを含んだ凝集液は、加圧浮上槽8に導入され、浮上した凝集フロックよりなる浮上汚泥と分離水とに分離される。
【0004】
浮上汚泥は、汚泥貯槽9を経て、無機凝集剤及び高分子凝集剤が各添加装置10,11から添加され、ベルトプレス脱水機12にて脱水され、脱水汚泥となる。
【0005】
加圧浮上槽8からの分離水は、調整槽13に導入される。調整槽13には他工程からの低濃度排水も導入される。
【0006】
調整槽13内の水は、好気性反応槽14(この従来例では、生物膜14a及び散気管14bを備えた生物膜式曝気槽)にて好気性生物処理された後、処理水は放流工程に送られる。
【0007】
特許文献1には、食品製造廃棄物などの有機性固形分を含む廃棄物をメタン発酵してメタンを生成させ回収する方法が記載されている。
【先行技術文献】
【特許文献】
【0008】
特開2007-289946号公報
【発明の概要】
【発明が解決しようとする課題】
【0009】
豆乳やウイスキーの蒸留廃液、小豆煮汁、米とぎ汁等の食品製造ロスは、BODやCODCr濃度が高く、図4のように処理する場合、処理のための電力コストや薬剤コストが高い。また、悪臭が発生するとともに、汚泥発生量が多い。食品製造ロスの処理を産廃処理業者に委託することもあるが、液体を多く含み体積が大きいため、多大な運搬コスト及び処理コストがかかっていた。
【0010】
そこで、食品製造ロスを、メタン化や飼料化の原料として資源化処理する外部依託先に販売してアップサイクルし、販売利益を得ることが検討されることがある。
(【0011】以降は省略されています)
この特許をJ-PlatPat(特許庁公式サイト)で参照する
関連特許
栗田工業株式会社
排水回収装置
2日前
栗田工業株式会社
電気脱イオン装置
18日前
栗田工業株式会社
用水の水質予測方法
2日前
栗田工業株式会社
放射性廃液の処理方法
6日前
栗田工業株式会社
有機性排水の生物処理方法
9日前
栗田工業株式会社
有機物含有排水の処理方法
26日前
栗田工業株式会社
水質予測方法及び水質制御方法
2日前
栗田工業株式会社
電気脱イオン装置及びその運転方法
1か月前
栗田工業株式会社
2段電気脱イオンシステムの運転方法
27日前
栗田工業株式会社
有価金属回収システムおよび有価金属の回収方法
1か月前
栗田工業株式会社
純水製造システム、及び純水製造システムの運転方法
16日前
栗田工業株式会社
推定システム、推定方法及びコンピュータープログラム
25日前
栗田工業株式会社
食品製造ロスの減容化装置
2か月前
栗田工業株式会社
混合イオン交換樹脂の分離塔、およびこれを用いた混合イオン交換樹脂の分離方法
1か月前
栗田工業株式会社
pH・酸化還元電位調整水の製造装置、pH・酸化還元電位調整水の製造方法および半導体装置の製造方法
1か月前
トヨタ自動車株式会社
空箱処理装置
2か月前
トヨタ自動車株式会社
空箱処理装置
2か月前
ダイハツ工業株式会社
発酵システム
2か月前
株式会社クボタ
嫌気性処理方法
3か月前
花王株式会社
焼却灰の処理方法
16日前
花王株式会社
焼却灰の処理方法
16日前
テクニカ合同株式会社
廃棄鶏の処理方法
16日前
トヨタ自動車株式会社
バイオ炭製造方法
24日前
三菱マテリアル株式会社
被処理物の解体装置
3か月前
株式会社トクヤマ
石膏粒体のか焼方法
1か月前
株式会社マクニカ
乾熱減容処理装置
1か月前
清水建設株式会社
汚染拡散防止構造
1か月前
清水建設株式会社
加熱井戸の設置方法
1か月前
学校法人東京農業大学
メタンガスの製造方法
2か月前
鹿島建設株式会社
土壌の浄化方法
1か月前
株式会社LIXIL
汚物処理装置
2日前
株式会社クボタ
メタン発酵装置およびメタン発酵処理方法
3か月前
国立大学法人東北大学
重金属の不溶化方法
3日前
極東開発工業株式会社
廃棄物処理装置
2か月前
九電産業株式会社
樹脂複合製品の製造方法
25日前
トヨタ自動車株式会社
乾燥処理装置
2か月前
続きを見る
他の特許を見る