TOP
|
特許
|
意匠
|
商標
特許ウォッチ
Twitter
他の特許を見る
公開番号
2025090251
公報種別
公開特許公報(A)
公開日
2025-06-17
出願番号
2023205374
出願日
2023-12-05
発明の名称
被処理物の解体装置
出願人
三菱マテリアル株式会社
代理人
個人
主分類
B09B
3/35 20220101AFI20250610BHJP(固体廃棄物の処理;汚染土壌の再生)
要約
【課題】搬送設備等の損傷等を生じることなく、破砕ステージへの被処理物の搬入作業を自動化する。
【解決手段】被処理物を載置し破砕刃によって破砕するための破砕ステージと、該破砕ステージの上面に並んで設けられた移載ステージと、該移載ステージ上に載置された被処理物を破砕ステージに移送する移送手段と、を備えるとともに、移送手段は、移載ステージ上の被処理物に移送方向の後方から当接可能な板部材と、該板部材を移載ステージ上の被処理物の後方に配置される初期位置と該被処理物が破砕ステージ上に配置される前進位置との間で往復移動させる板部材駆動部と、を備える。
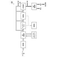
【選択図】図4
特許請求の範囲
【請求項1】
被処理物を載置し破砕刃によって破砕するための破砕ステージと、該破砕ステージの上面に並んで設けられた移載ステージと、該移載ステージ上に載置された前記被処理物を前記破砕ステージに移送する移送手段と、を備えるとともに、
前記移送手段は、前記移載ステージ上の前記被処理物に移送方向の後方から当接可能な板部材と、該板部材を前記移載ステージ上の前記被処理物の後方に配置される初期位置と該被処理物が前記破砕ステージ上に配置される前進位置との間で往復移動させる板部材駆動部と、を備えることを特徴とする被処理物の解体装置。
続きを表示(約 680 文字)
【請求項2】
前記移載ステージと前記破砕ステージとに、前記移送方向に沿って配置され、前記被処理物の側部を当接して案内するガイドが設けられていることを特徴とする請求項1に記載の被処理物の解体装置。
【請求項3】
前記移載ステージには、該移載ステージに向けて延びる搬入コンベアが接続されていることを特徴とする請求項1に記載の被処理物の解体装置。
【請求項4】
前記搬入コンベアは、複数の被処理物を搬入方向に並べて搬送可能な長さに形成されるとともに、前記板部材が前記初期位置に配置されているときにのみ駆動可能とする搬入制御部を備えていることを特徴とする請求項3に記載の被処理物の解体装置。
【請求項5】
前記破砕ステージには、前記破砕刃を前記破砕ステージ上に突出した突出位置と前記破砕ステージから退避させた退避位置との間で前記移送方向と直交する方向に移動させる破砕刃突出手段が設けられていることを特徴とする請求項1に記載の被処理物の解体装置。
【請求項6】
前記破砕ステージの上面は下方に向けて開く開閉扉によって形成され、前記破砕ステージの下側には受け台が配されていることを特徴とする請求項1に記載の被処理物の解体装置。
【請求項7】
前記被処理物を廃棄処分された家電製品とする請求項1に記載の被処理物の解体装置。
【請求項8】
一端が前記受け台に接続され、前記受け台の外方に向けて延びる搬出コンベアを更に備えることを特徴とする請求項6に記載の被処理物の解体装置。
発明の詳細な説明
【技術分野】
【0001】
本発明は、廃棄処分された家電製品等を解体処理する場合に用いられる被処理物の解体装置に関する。
続きを表示(約 1,500 文字)
【0002】
廃棄処分された洗濯機や冷蔵庫、エアコン等の家電製品(以下、廃家電という)については、金属部品等を含む部位を分離することで、廃棄物の減量と有用資源の回収を行っている。
【0003】
特許文献1では、廃家電等の被処理物をステージに載置し、寸法を測定することにより、被処理物に対する破砕位置を決定し、その破砕位置に調整した破砕刃を被処理物に向けて突出させて、被処理物を破砕している。この場合、ステージは、下方に向けて開く開閉扉によって構成されており、破砕後に開閉扉を開くことで、ステージ直下の台上に落下させ、その台から被処理物をコンベアで搬出している。
この特許文献1の解体方法において、被処理物をステージに載置する作業は人手によって行うと記載されており、自動化が望まれる。
【0004】
特許文献2では、この被処理物の搬入作業を自動化しており、コンベアによって被処理物(廃家電品)を搬送し、ストッパ装置によって切断位置に停止させ、この切断位置に待機していた切断刃で被処理物を切断するようにしている。
【先行技術文献】
【特許文献】
【0005】
特開2020-49439号公報
特開平9-300127号公報
【発明の概要】
【発明が解決しようとする課題】
【0006】
しかしながら、特許文献2に記載のようにコンベアが破砕領域まで被処理物を搬送するのでは、破砕物の破片がコンベアの稼働に悪影響を及ぼすおそれがある。特に、コンベアがベルトコンベアの場合にベルトを損傷させる危険性がある。
【0007】
本発明は、このような事情に鑑みてなされたもので、搬送設備等の損傷等を生じることなく、破砕ステージへの被処理物の搬入作業を自動化することを目的とする。
【課題を解決するための手段】
【0008】
本発明の被処理物の解体装置は、
被処理物を載置し破砕刃によって破砕するための破砕ステージと、該破砕ステージの上面に並んで設けられた移載ステージと、該移載ステージ上に載置された前記被処理物を前記破砕ステージに移送する移送手段と、を備えるとともに、
前記移送手段は、前記移載ステージ上の前記被処理物に移送方向の後方から当接可能な板部材と、該板部材を前記移載ステージ上の前記被処理物の後方に配置される初期位置と該被処理物が前記破砕ステージ上に配置される前進位置との間で往復移動させる板部材駆動部と、を備える。
【0009】
この解体装置は、破砕ステージとは別の移載ステージと移送手段とを設けたことにより、被処理物を移載ステージに載置して移送手段によって移載ステージから破砕ステージまで移送することができる。したがって、破砕刃等を有する破砕ステージに人が直接被処理物を載置する作業を省略できる。この場合、被処理物は移載ステージ及び破砕ステージ上を滑りながら移送されるが、両ステージともベルトコンベア等のような表面上を移動する部材を有しない構造にできるので、損傷等によるトラブル発生を抑制することができる。
なお、破砕ステージと移載ステージとは、直接並べて配置してもよいが、これらと同一平面を有するテーブル等の連結部材を介して並べてもよい。
【0010】
本発明の被処理物の解体装置において、前記移載ステージと前記破砕ステージとに、前記移送方向に沿って配置され、前記被処理物の側部を当接して案内するガイドが設けられているとよい。
(【0011】以降は省略されています)
この特許をJ-PlatPat(特許庁公式サイト)で参照する
関連特許
トヨタ自動車株式会社
空箱処理装置
2か月前
トヨタ自動車株式会社
空箱処理装置
2か月前
ダイハツ工業株式会社
発酵システム
2か月前
花王株式会社
焼却灰の処理方法
25日前
花王株式会社
焼却灰の処理方法
25日前
トヨタ自動車株式会社
バイオ炭製造方法
1か月前
テクニカ合同株式会社
廃棄鶏の処理方法
25日前
株式会社トクヤマ
石膏粒体のか焼方法
1か月前
株式会社シーパーツ
自動車解体破砕方法
7日前
株式会社マクニカ
乾熱減容処理装置
1か月前
清水建設株式会社
汚染拡散防止構造
1か月前
学校法人東京農業大学
メタンガスの製造方法
2か月前
清水建設株式会社
加熱井戸の設置方法
1か月前
鹿島建設株式会社
土壌の浄化方法
2か月前
株式会社LIXIL
汚物処理装置
11日前
国立大学法人東北大学
重金属の不溶化方法
12日前
極東開発工業株式会社
廃棄物処理装置
3か月前
トヨタ自動車株式会社
乾燥処理装置
2か月前
九電産業株式会社
樹脂複合製品の製造方法
1か月前
株式会社大林組
有機フッ素化合物の浄化方法
3か月前
王子ホールディングス株式会社
ベールの製造方法
5日前
株式会社トクヤマ
廃石膏ボードから紙片と石膏粒体を回収する方法
1か月前
株式会社神鋼環境ソリューション
メタン発酵装置、及び、メタン発酵方法
4日前
光宇應用材料股ふん有限公司
環境にやさしい低炭素二酸化ケイ素の製造方法
1か月前
個人
フォーミング生成抑制材の製造方法及び廃タイヤのリサイクル処理方法
2か月前
トヨタ自動車株式会社
電池の処理方法および電池の処理システム
3か月前
トリニティ工業株式会社
使用済みフィルタ処理装置、使用済みフィルタ処理方法
1か月前
JFEエンジニアリング株式会社
焼却灰処理システム
15日前
太平洋セメント株式会社
重金属類不溶化材及び固化不溶化処理方法
2か月前
株式会社宮原機工
有機物並びに有機廃棄物の炭化装置
12日前
東洋建設株式会社
遮水構造体の施工方法及び圧着機
2か月前
川崎重工業株式会社
焼却灰の骨材化システムおよび骨材化方法
25日前
川崎重工業株式会社
焼却灰の骨材化システムおよび骨材化方法
25日前
太平洋セメント株式会社
有価金属含有廃棄物からの金の回収方法
25日前
UBE三菱セメント株式会社
再生骨材の製造方法、粒子の分別方法及び品質評価方法
26日前
五洋建設株式会社
廃棄物処分場、廃棄物処分場の覆土材料および覆土材料の製造方法
4日前
続きを見る
他の特許を見る