TOP
|
特許
|
意匠
|
商標
特許ウォッチ
Twitter
他の特許を見る
10個以上の画像は省略されています。
公開番号
2025120885
公報種別
公開特許公報(A)
公開日
2025-08-18
出願番号
2024024994
出願日
2024-02-05
発明の名称
乾熱減容処理装置
出願人
株式会社マクニカ
,
株式会社ダイソー
代理人
主分類
B09B
3/40 20220101AFI20250808BHJP(固体廃棄物の処理;汚染土壌の再生)
要約
【課題】装置に投入した廃棄物の重量、及び、処理後の残渣の重量を、簡便に、且つ、遠隔地にいても把握することのできる乾熱減容処理装置を提供すること。
【解決手段】筐体12内に設置され、廃棄物を乾熱して、廃棄物から水分を放出させ、廃棄物を乾燥・減容させる減容工程を実施する乾熱機構16と、乾熱機構16の上方に配置され、連通機構の出口から取り出された蒸気/水分を燃焼/加熱し、蒸気/水分内に含有される臭い成分を除去する脱臭工程を実施する脱臭機構26と、脱臭工程の開始と継続、乾熱工程の開始、廃棄物を乾熱減容処理、乾熱工程の終了後の乾熱機構16の冷却工程の実施、を制御する制御機構と、筐体12全体の重量を測定するロードセル59とを備え、ロードセル59の測定結果から、乾熱機構16に投入されている廃棄物の測定時の重量を算出して、この算出結果を廃棄物重量情報として出力して表示する表示装置を備える。
【選択図】図2
特許請求の範囲
【請求項1】
装置の筐体と、
この筐体内に設置され、廃棄物を乾熱して、該廃棄物から水分を放出させ、
該廃棄物を乾燥・減容させる減容工程を実施する乾熱手段と、
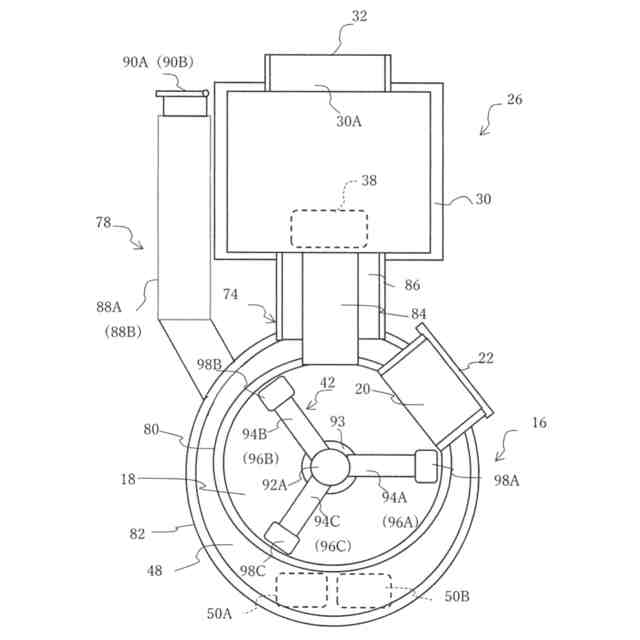
この乾熱手段に接続され、前記廃棄物から放出された蒸気/水分を該乾熱手段の外部に取り出すための連通手段と、
前記筐体内において、前記乾熱手段の上方に配置され、前記連通手段の出口が接続され、該連通手段の出口から取り出された前記蒸気/水分を燃焼/加熱し、該蒸気/水分内に含有される臭い成分を除去する脱臭工程を実施する脱臭手段と、
装置の起動に伴い、前記脱臭工程を開始して、該装置の停止の直前まで該脱臭工程を継続させ、該脱臭手段における脱臭温度が所定温度まで上昇するのを待って前記乾熱工程を開始し、前記廃棄物を乾熱減容処理すると共に、前記乾熱工程の終了後に、これに引き続き前記乾熱手段の冷却を行う冷却工程を実施させる制御手段と、
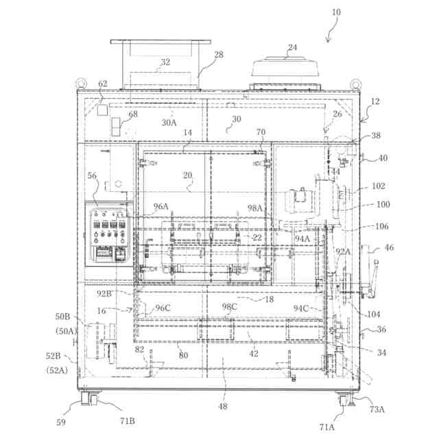
前記筐体全体の重量を測定するロードセルと、
を具備し、
前記制御手段は、廃棄物の重量を表示する表示手段を備え、
この表示手段には、該制御手段が、前記乾熱手段に廃棄物を投入する前の空の重量を前記筐体全体の空重量として記憶しておき、前記乾熱手段に廃棄物を投入した状況における前記ロードセルの測定結果から前記空重量を減算して、前記乾熱手段に投入されている前記廃棄物の測定時の重量として算出して、この算出結果を廃棄物重量情報として出力ずることを特徴とする乾熱減容処理装置。
続きを表示(約 560 文字)
【請求項2】
前記筐体の底部の四隅の内の三隅には、該筐体の荷重を支える三台の支持台が取り付けられ、残りの一隅に、前記ロードセルが配設されていることを特徴とする請求項1に記載の乾熱減容処理装置。
【請求項3】
前記制御手段での制御状態を示す情報を外部に取り出すためのエッジコンピューティング端末を更に具備し、
このエッジコンピューティング端末は、前記ロードセルからの前記廃棄物重量情報に基づき、測定時の廃棄物の重量を表示する表示情報を出力することを特徴とする請求項1又は2に記載の乾熱減容処理装置。
【請求項4】
前記エッジコンピューティング端末は、前記制御手段から受信した前記制御手段での制御状態を示す情報に基づき、装置の作動状態を評価するAI機能を備え、
前記AI機能で、受信した前記廃棄物重量情報に基づき、前記乾熱手段における廃棄物の処理状況を評価し、該乾熱手段における乾熱処理の評価結果を出力することを特徴とする請求項3に記載の乾熱減容処理装置。
【請求項5】
前記制御手段は、前記エッジコンピューティング端末からの表示情報に基づき、測定時の廃棄物の重量を表示する表示手段を備えていることを特徴とする請求項3に記載の乾熱減容処理装置。
発明の詳細な説明
【技術分野】
【0001】
この発明は、水分を内包する廃棄物を外部から乾熱処理して、廃棄物の内部の水分を蒸散させることにより、廃棄物を減容させるための乾熱減容処理装置に関する。
続きを表示(約 2,000 文字)
【背景技術】
【0002】
従来、廃棄物の最終処理としては、焼却装置により焼却することが一般的であるが、焼却による処理には種々の問題がある。まず、すべての廃棄物についていえることであるが、焼却によって処理すると煙、火の粉、粉塵、煤塵等の排気物が多く発生し、周囲を汚すばかりでなく、これら排気物を排出するために高い煙突が必要となると共に環境阻害要因としての二酸化炭素(CO2)を排出する問題点がある。また、特に、含水量の多い生ごみの処理については水分が多くそのままでは燃えにくいため焼却の前処理として乾燥させることが必要であり、燃料費が多くかかるばかりでなく、処理時間を多く費やす。また、廃油、合成樹脂等油性の廃棄物の処理については、発熱量が高く黒煙の発生や焼却炉の損傷等を招きやすいため、焼却炉内へ散水したり、焼却炉内への投入を定量的に行わなければならない等の工夫が必要であり、焼却炉の材質や構造上の問題から製造コストがかかるばかりでなく、装置も大型化する問題がある。
【0003】
このように、従来の焼却による有機質の廃棄物の処理には、周囲を汚したり、CO2の排出や、高い排気筒を必要としたり、燃料費が多くかかったり、処理時間が長かったり、製造コストが多くかかるばかりでなく、装置が大型化する等種々の課題があった。
【0004】
そこで、これらの課題を解決する発明として本出願人は特許文献1を出願し、その後、特許文献2を出願し、更に特許文献3を出願し、全て特許登録されている。これらの発明での共通する技術思想は、廃棄物を収納した蒸焼室(処理室)を燃焼バーナ等の加熱手段により外側から間接加熱する(乾熱する)ことにより、廃棄物は所謂蒸し焼きされて水分を強制的に蒸散される。この際、ガス(臭いを含む水分)が発生するが、このガスは蒸焼室と連通した排気筒を介して脱臭室に上昇して流入し、一方で、加熱手段から発生した排ガスは蒸焼室を囲んで設けられ加熱室から排気筒を介して脱臭室に上昇して流入することとなる。このように、この両ガスは脱臭室で燃焼手段の火力により燃焼されて脱臭されるというものである。
【先行技術文献】
【特許文献】
【0005】
特許第2707210号 公報
【0006】
特許第2745213号 公報
【0007】
特許第4725985号 公報
【発明の概要】
【発明が解決しようとする課題】
【0008】
ここで、廃棄物の廃棄処理においては、上述した先行技術に開示される乾熱減容処理装置を用いることにより、CO2の排出量は、同じ廃棄物を焼却処理する場合と比較して、大幅に削減されるものである。具体的には、NPO法人 生ごみリサイクル全国ネットワークのデータによれば、従来技術で、生ごみ1トンを収集・運搬・焼却すると、2,051.3kg―CO2のCO2排出となるが、この乾熱減容処理装置を使用した場合、乾熱減容する際の燃料使用料、電気使用量から換算されるCO2排出量と乾燥残渣の収集・焼却でのCO2排出量とを合算しても、528.9kg-CO2となり、74%の削減が達成されるものである。
【0009】
このように廃棄物の処理に際して、本件の乾熱減容処理装置は、脱炭素に大きく貢献することが出来るものであり、これを日本国内はもとより、海外においても、企業や施設で広く採用してもらうためには、何より、本件装置を使いやすくすることが重要であり、且つ、各種情報・状態を「見える化」することにより、CO2削減効果を正確に把握し、記録を残し、装置のメンテナンス時期を遠隔で把握することが必要であるとされている。
【0010】
特に、装置に廃棄物を投入するに際して、どれだけの重量の廃棄物を投入したかは、事前に、例えば上皿重量計等を用いて、重量計測をするしかなく、また、処理後にどれだけの残渣が発生したかも、残渣を全て取り出した状態で、取り出した残渣を重量計測するしかないのが現状であった。このような重量計測作業は、かなり面倒なものであり、いちいち、廃棄物(残渣)を袋に入れ込んでおき、袋ごと、重量計に乗せて計測し、重量目盛りを読み取り、読み取った重量値を別途書き留める、という作業が必要であり、しかも、この作業は、装置が設置されている現場でしか行い得ないものであり、これを簡便に、且つ、遠隔にいても重量の把握が出来るような改善が強く要望されていた。また、仮に、投入前の廃棄物の重量測定、及び、処理後の残渣の重量測定を、これらの面倒な作業を厭わずになしたとしても、減容処理中の乾熱室内の廃棄物がどのような状況にあるのかを、重量変化に基づき把握することもできず、この点でも改良が強く要望されていた。
(【0011】以降は省略されています)
この特許をJ-PlatPat(特許庁公式サイト)で参照する
関連特許
国立大学法人 東京大学
通信装置、制御方法、及びプログラム
1日前
花王株式会社
焼却灰の処理方法
26日前
花王株式会社
焼却灰の処理方法
26日前
トヨタ自動車株式会社
バイオ炭製造方法
1か月前
テクニカ合同株式会社
廃棄鶏の処理方法
26日前
株式会社シーパーツ
自動車解体破砕方法
8日前
株式会社LIXIL
汚物処理装置
12日前
国立大学法人東北大学
重金属の不溶化方法
13日前
九電産業株式会社
樹脂複合製品の製造方法
1か月前
王子ホールディングス株式会社
ベールの製造方法
6日前
株式会社神鋼環境ソリューション
メタン発酵装置、及び、メタン発酵方法
5日前
JFEエンジニアリング株式会社
焼却灰処理システム
16日前
トリニティ工業株式会社
使用済みフィルタ処理装置、使用済みフィルタ処理方法
1か月前
株式会社宮原機工
有機物並びに有機廃棄物の炭化装置
13日前
川崎重工業株式会社
焼却灰の骨材化システムおよび骨材化方法
26日前
川崎重工業株式会社
焼却灰の骨材化システムおよび骨材化方法
26日前
太平洋セメント株式会社
有価金属含有廃棄物からの金の回収方法
26日前
UBE三菱セメント株式会社
再生骨材の製造方法、粒子の分別方法及び品質評価方法
27日前
株式会社環境保全サービス
ガラスの回収システム及びクラッシャ
8日前
五洋建設株式会社
廃棄物処分場、廃棄物処分場の覆土材料および覆土材料の製造方法
5日前
太平洋セメント株式会社
カリウム含有肥料製造方法
6日前
太平洋セメント株式会社
重金属類不溶化材、及びそれを用いた重金属類の不溶化方法
6日前
JFEエンジニアリング株式会社
焼却灰処理装置および焼却灰処理方法
6日前
JFEエンジニアリング株式会社
焼却灰処理装置および焼却灰処理方法
6日前
大地環境科技控股集團有限公司
バイオマス有機廃棄物の処理方法及び得られる水溶性有機肥料
14日前
UBE三菱セメント株式会社
廃棄物処理方法、クリンカ製造方法及び廃棄物処理システム
5日前
UBE三菱セメント株式会社
廃棄物処理システム、廃棄物処理方法及びクリンカ製造方法
5日前
株式会社タクマ
マットレス分解炉システムおよびそれを備える燃焼施設
今日
住友大阪セメント株式会社
主灰の水洗方法、セメント原料の製造方法、及び主灰洗浄装置
6日前
東洋建設株式会社
管理型海面処分場での二酸化炭素固定方法及び二酸化炭素固定装置
8日前
九電産業株式会社
樹脂複合製品の製造方法
1か月前
王子ホールディングス株式会社
ベールの製造方法
1日前
株式会社JOYCLE
移動式ゴミ処理機器手配プラットフォームのプログラム、移動式ゴミ処理機器手配プラットフォームシステム
5日前
タキロンシーアイ株式会社
遮水構造の検査方法及び接合用遮水体の製造方法と接合体の製造方法
1か月前
UBE三菱セメント株式会社
石膏含有物の処理方法、亜硫酸カルシウム含有物の製造方法、セメント系固化材の製造方法、及び、ケイ酸カルシウム含有組成物
6日前
株式会社神鋼環境ソリューション
炭酸化プロセス及び炭酸化装置
5日前
続きを見る
他の特許を見る