TOP
|
特許
|
意匠
|
商標
特許ウォッチ
Twitter
他の特許を見る
公開番号
2025092821
公報種別
公開特許公報(A)
公開日
2025-06-23
出願番号
2023208149
出願日
2023-12-11
発明の名称
メタン発酵装置およびメタン発酵処理方法
出願人
株式会社クボタ
代理人
個人
,
個人
主分類
B09B
3/65 20220101AFI20250616BHJP(固体廃棄物の処理;汚染土壌の再生)
要約
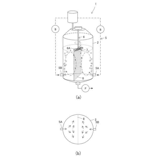
【課題】発酵汚泥の粘度が大きい場合でもメタン発酵槽の大型化に好適な撹拌機構を備えたメタン発酵装置を提供する。
【解決手段】槽内に供給された原料を前記槽内に貯留された発酵汚泥によりメタン発酵処理するメタン発酵槽と、前記メタン発酵槽内の下部周縁に設置した2箇所以上のバイオガス放出部からバイオガスを放出して、前記メタン発酵槽内の前記発酵汚泥を攪拌するバイオガス放出機構と、前記メタン発酵槽内の発酵汚泥の液面の中央部で液面高さ近傍に配置された攪拌羽根からなり、前記液面の浮上物を前記液面の下方に押込む第1の押込み機構と、を備えているメタン発酵装置。
【選択図】図2
特許請求の範囲
【請求項1】
槽内に供給された原料を前記槽内に貯留された発酵汚泥によりメタン発酵処理するメタン発酵槽と、
前記メタン発酵槽内の下部周縁に設置した2箇所以上のバイオガス放出部からバイオガスを放出して、前記メタン発酵槽内の前記発酵汚泥を攪拌するバイオガス放出機構と、
前記メタン発酵槽内の発酵汚泥の液面の中央部で液面高さ近傍に配置された攪拌羽根からなり、前記液面の浮上物を前記液面の下方に押込む第1の押込み機構と、
を備えているメタン発酵装置。
続きを表示(約 870 文字)
【請求項2】
前記バイオガス放出機構は、前記バイオガス放出部からのバイオガス放出量または放出比率を調整する調整機構を備えている請求項1記載のメタン発酵装置。
【請求項3】
前記メタン発酵槽内の前記発酵汚泥の液面の周縁部で液面高さ近傍に配置された攪拌羽根からなり、前記液面の浮上物を前記液面の下方に押込む第2の押込み機構を備える請求項1または2記載のメタン発酵装置。
【請求項4】
前記メタン発酵槽は縦軸心に沿う円筒形状に構成され、前記バイオガス放出部は前記メタン発酵槽の下部周縁に均等間隔で配置されている請求項1記載のメタン発酵装置。
【請求項5】
メタン発酵槽内に供給された原料を前記メタン発酵槽内に貯留された発酵汚泥によりメタン発酵処理するメタン発酵処理方法であって、
前記メタン発酵槽内の下部周縁に設置した2箇所以上のバイオガス放出部からバイオガスを放出して、前記メタン発酵槽内の前記発酵汚泥を攪拌するガス撹拌処理工程と、
前記メタン発酵槽内の前記発酵汚泥の液面の中央部で液面高さ近傍に配置された攪拌羽根により、前記液面の浮上物を前記液面の下方に押込む第1の押込み処理工程と、
を備えているメタン発酵処理方法。
【請求項6】
前記ガス撹拌処理工程は、前記バイオガス放出部からのバイオガス放出量または放出比率を調整する調整工程を備えている請求項5記載のメタン発酵処理方法。
【請求項7】
前記メタン発酵槽内の前記発酵汚泥の液面の周縁部で液面高さ近傍に配置された攪拌羽根により、前記液面の浮上物を前記液面の下方に押込む第2の押込み処理工程を備える請求項5または6記載のメタン発酵処理方法。
【請求項8】
前記メタン発酵槽は縦軸心に沿う円筒形状に構成され、前記ガス撹拌処理工程は、前記メタン発酵槽内の下部周縁に均等間隔で配置された前記バイオガス放出部からバイオガスを放出する請求項5記載のメタン発酵処理方法。
発明の詳細な説明
【技術分野】
【0001】
本発明は、メタン発酵装置およびメタン発酵処理方法に関する。
続きを表示(約 1,400 文字)
【背景技術】
【0002】
一般廃棄物に含まれる紙ごみや生ごみなどの有機性廃棄物や、稲わらや麦わらに代表される圃場で収穫した穀類の収穫後に生じる農業廃棄物を原料にして、嫌気性微生物を用いてエネルギー源として利用可能なメタンを主成分とするバイオガスを生成するメタン発酵装置およびメタン発酵処理方法が注目されている。
【0003】
特許文献1には、農業廃棄物を原料としてメタン発酵処理を活用した資源循環方法が提案されている。
また、特許文献2には、槽内の液に上昇流および上昇流の外側を下降する下降流を生じさせて液を循環させる第1循環手段と、槽内の液に上昇流の部分を軸とする水平旋回流を生じさせ液を循環させる第2循環手段と、を備えたメタン発酵装置(消化装置)が提案されている。
【0004】
メタン発酵処理を効率的に進めるためには、菌体を含む汚泥であるメタン発酵汚泥をメタン発酵槽内で滞留させることなく、原料と発酵汚泥の攪拌混合を促進させてメタン発酵処理を効率よく行なう必要がある。
【0005】
そのため、攪拌翼を用いて槽内で発酵液を機械的に撹拌する方法、バイオガスを槽内に供給してガスの上昇流を利用して発酵液を撹拌する方法、ポンプを利用して発酵液を槽内で循環させて攪拌する方法などがこれまで提案されている。
【先行技術文献】
【特許文献】
【0006】
特開2023-131221号公報
特開2002-263693号公報
【発明の概要】
【発明が解決しようとする課題】
【0007】
しかし、攪拌翼を用いて機械的に撹拌する方法は、動力が過大となり、発酵槽の大型化に対応するのが困難であるばかりでなく、発酵汚泥に対する攪拌パターンが限られるため槽内で死水域ができる虞があり、一度死水域ができてしまうと、原料である処理対象物が堆積して十分な発酵処理が阻害され、メンテナンス時に死水域の清掃が必要になるという問題があった。
【0008】
また、ポンプを利用する方法は、槽内で発酵汚泥を循環させるために発酵槽から発酵汚泥を引抜き、引き抜いた発酵汚泥を槽内に戻す循環ルートを設定する必要があるのであるが、発酵槽が大型化すると槽内の発酵汚泥を均質に撹拌するための効果的な循環ルートの設定が困難であるという問題があった。
【0009】
バイオガスを用いて発酵汚泥を撹拌する方法は、ドラフトチューブにバイオガスを供給して、ドラフトチューブを上昇するバイオガスの動きに伴ってドラフトチューブの内外に生じる循環流により撹拌する方法が例示できるのであるが、発酵槽が大型化すると撹拌範囲が制限されるのでドラフトチューブの設置数を増やす必要があるばかりでなく、発酵汚泥の性状によって循環流の挙動が変動するため、その配置を決定するのが困難であるという問題などがあった。また、バイオガスの供給に用いるブロワの吐出し圧力により大型化の程度が制限されるという問題もあった。
【0010】
本発明の目的は、発酵汚泥の粘度が大きい場合でもメタン発酵槽の大型化に好適な撹拌機構を備えたメタン発酵装置およびメタン発酵処理方法を提供する点にある。
【課題を解決するための手段】
(【0011】以降は省略されています)
この特許をJ-PlatPat(特許庁公式サイト)で参照する
関連特許
株式会社クボタ
作業機
26日前
株式会社クボタ
作業車
6日前
株式会社クボタ
作業車
27日前
株式会社クボタ
田植機
27日前
株式会社クボタ
田植機
27日前
株式会社クボタ
作業車
27日前
株式会社クボタ
田植機
1か月前
株式会社クボタ
作業車
1か月前
株式会社クボタ
作業車
26日前
株式会社クボタ
作業機
16日前
株式会社クボタ
作業車
4日前
株式会社クボタ
作業車
1か月前
株式会社クボタ
作業車
4日前
株式会社クボタ
作業機
1か月前
株式会社クボタ
作業車両
6日前
株式会社クボタ
作業車両
6日前
株式会社クボタ
作業車両
6日前
株式会社クボタ
作業車両
6日前
株式会社クボタ
作業車両
6日前
株式会社クボタ
作業車両
6日前
株式会社クボタケミックス
伸縮継手
1か月前
株式会社クボタ
作業車両
6日前
株式会社クボタ
トラクタ
1か月前
株式会社クボタ
作業車両
6日前
株式会社クボタ
トラクタ
1か月前
株式会社クボタ
作業車両
6日前
株式会社クボタ
圃場作業車
25日前
株式会社クボタ
圃場作業車
27日前
株式会社クボタ
圃場作業機
1か月前
株式会社クボタ
水田作業機
2か月前
株式会社クボタ
サトウキビ収穫機
26日前
株式会社クボタ
サトウキビ収穫機
26日前
株式会社クボタ
サトウキビ収穫機
26日前
株式会社クボタ
サトウキビ収穫機
26日前
株式会社クボタ
サトウキビ収穫機
26日前
株式会社クボタ
サトウキビ収穫機
26日前
続きを見る
他の特許を見る