TOP
|
特許
|
意匠
|
商標
特許ウォッチ
Twitter
他の特許を見る
10個以上の画像は省略されています。
公開番号
2025115018
公報種別
公開特許公報(A)
公開日
2025-08-06
出願番号
2024009312
出願日
2024-01-25
発明の名称
電子時計
出願人
セイコーエプソン株式会社
代理人
個人
,
個人
,
個人
主分類
G04C
10/04 20060101AFI20250730BHJP(時計)
要約
【課題】時計の状態に応じて、優先度の高い情報をユーザーに自動的に表示でき、かつ、ユーザーの操作で優先度の低い情報も表示できる電子時計の提供。
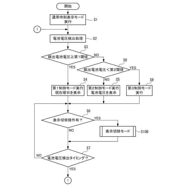
【解決手段】電子時計は、第1情報を示す複数の第1目盛および第2情報を示す複数の第2目盛を選択して表示可能なインジケーター針と、時計の状態を検出する検出部と、インジケーター針の指示位置を制御する制御部と、表示切替操作を行う操作部とを備え、制御部は、検出部の検出結果に応じて、第1情報を優先的に表示させる第1制御モードと、第2情報を優先的に表示させる第2制御モードとを自動的に切り替えて実行し、第1制御モードでは、表示切替操作が行われると、インジケーター針を第1情報を示す位置から第2情報を示す位置に移動させ、第2制御モードでは、表示切替操作が行われると、インジケーター針を第2情報を示す位置から第1情報を示す位置に移動させる。
【選択図】図3
特許請求の範囲
【請求項1】
第1情報を示す複数の第1目盛および第2情報を示す複数の第2目盛のうちの一つを選択して指示可能なインジケーター針と、
時計の状態を検出する検出部と、
前記インジケーター針の指示位置を制御する制御部と、
表示切替操作を行う操作部と、を備え、
前記制御部は、
前記検出部の検出結果に応じて、前記第1情報を優先的に指示させる第1制御モードと、前記第2情報を優先的に指示させる第2制御モードと、を自動的に切り替えて実行し、
前記第1制御モードにおいて、前記操作部で前記表示切替操作が実行されると、前記インジケーター針を、前記第1情報を指示する位置から前記第2情報を指示する位置に移動させ、
前記第2制御モードにおいて、前記操作部で前記表示切替操作が実行されると、前記インジケーター針を、前記第2情報を指示する位置から前記第1情報を指示する位置に移動させる
ことを特徴とする電子時計。
続きを表示(約 1,600 文字)
【請求項2】
請求項1に記載の電子時計において、
二次電池を備え、
前記検出部は、前記二次電池の電池残量を検出し、
前記第2情報は、前記電池残量のレベルを示す情報であり、
前記制御部は、
前記電池残量が所定値以上の場合に、前記第1制御モードを実行し、
前記電池残量が前記所定値未満の場合に、前記第2制御モードを実行する
ことを特徴とする電子時計。
【請求項3】
請求項2に記載の電子時計において、
時刻を表示する複数の指針からなる時刻表示針を備え、
前記制御部は、
前記電池残量が前記所定値よりも低い第2所定値未満の場合に、前記時刻表示針のうちの少なくとも1つの指針を通常運針と異なる警告運針とする第3制御モードを実行し、
前記第3制御モードでは、前記インジケーター針は前記第2情報を指示し、かつ、前記操作部で前記表示切替操作が実行されても前記第2情報の指示を継続する
ことを特徴とする電子時計。
【請求項4】
請求項1に記載の電子時計において、
ソーラーパネルを備え、
前記検出部は、前記ソーラーパネルに照射される光の照度を検出し、
前記第2情報は、前記照度のレベルを示す情報であり、
前記制御部は、
前記照度が所定値以上の場合に、前記第1制御モードを実行し、
前記照度が前記所定値未満の場合に、前記第2制御モードを実行する
ことを特徴とする電子時計。
【請求項5】
請求項1に記載の電子時計において、
二次電池およびソーラーパネルを備え、
前記検出部は、前記二次電池の電池残量および前記ソーラーパネルに照射される光の照度を検出し、
前記第2情報は、前記電池残量および前記照度の各レベルを示す情報であり、
前記制御部は、
前記電池残量が所定値以上の場合に、前記第1情報を前記インジケーター針で指示し、
前記電池残量が前記所定値未満かつ前記照度が所定値以上の場合に、前記第2情報のうちの前記照度のレベルを前記インジケーター針で指示し、
前記電池残量が前記所定値未満かつ前記照度が前記所定値未満の場合に、前記第2情報のうちの前記電池残量のレベルを前記インジケーター針で指示する
ことを特徴とする電子時計。
【請求項6】
請求項1に記載の電子時計において、
前記操作部はボタンを有し、
前記表示切替操作は、前記ボタンを押し離す操作である
ことを特徴とする電子時計。
【請求項7】
請求項6に記載の電子時計において、
前記制御部は、前記表示切替操作で制御モードが切り替わった後、一定時間経過すると元の制御モードに戻す
ことを特徴とする電子時計。
【請求項8】
請求項1に記載の電子時計において、
前記操作部はりゅうずを有し、
前記表示切替操作は、前記りゅうずを所定位置に引き出すことである
ことを特徴とする電子時計。
【請求項9】
請求項1に記載の電子時計において、
文字板の中心に配置される時刻表示用の複数の指針を備え、
前記インジケーター針は、前記文字板の中心とは異なる位置に配置される小針であり、
前記第1目盛の位置は、前記第2目盛の位置よりも、前記文字板の外周側に位置する
ことを特徴とする電子時計。
【請求項10】
請求項1に記載の電子時計において、
前記第1目盛が表示される第1エリアと、前記第2目盛が表示される第2エリアは隣接して設けられている
ことを特徴とする電子時計。
発明の詳細な説明
【技術分野】
【0001】
本発明は、電子時計に関する。
続きを表示(約 3,200 文字)
【背景技術】
【0002】
特許文献1には、ソーラーセルなどで充電される二次電池を有する電子時計において、通常時には曜日を指示する曜日針を、ボタン操作によって、二次電池の電池電圧に基づく電池残量を表示するインジケーター針として機能させる電子時計が開示されている。
【先行技術文献】
【特許文献】
【0003】
特開2017-161551号公報
【発明の概要】
【発明が解決しようとする課題】
【0004】
特許文献1の電子時計では、通常時に曜日を指示する曜日針は、ユーザーがボタン操作を行った場合に電池残量を指示するため、ユーザーがボタン操作を行わない限り、電池残量を表示することができなかった。
このため、時計の状態に応じて、優先度の高い情報をユーザーに自動的に表示でき、かつ、ユーザーの操作で優先度の低い情報も表示できる電子時計が求められている。
【課題を解決するための手段】
【0005】
本開示の電子時計は、第1情報を示す複数の第1目盛および第2情報を示す複数の第2目盛のうちの一つを選択して指示可能なインジケーター針と、時計の状態を検出する検出部と、前記インジケーター針の指示位置を制御する制御部と、表示切替操作を行う操作部と、を備え、前記制御部は、前記検出部の検出結果に応じて、前記第1情報を優先的に指示させる第1制御モードと、前記第2情報を優先的に指示させる第2制御モードと、を自動的に切り替えて実行し、前記第1制御モードにおいて、前記操作部で前記表示切替操作が実行されると、前記インジケーター針を、前記第1情報を指示する位置から前記第2情報を指示する位置に移動させ、前記第2制御モードにおいて、前記操作部で前記表示切替操作が実行されると、前記インジケーター針を、前記第2情報を指示する位置から前記第1情報を指示する位置に移動させることを特徴とする。
【図面の簡単な説明】
【0006】
第1実施形態の電子時計を示す正面図である。
第1実施形態のムーブメントの構成を示すブロック図である。
第1実施形態のインジケーター針である第2小針および第2小針で指示される目盛を示す図である。
第1実施形態の電池残量の表示位置と電池電圧との関係を示す図である。
第1実施形態の通常時刻表示モードの処理を示すフローチャートである。
第1実施形態の表示切替モードの処理を示すフローチャートである。
第1実施形態の第1制御モード時の動作例を示す図である。
第1実施形態の第2制御モード時の動作例を示す図である。
第2実施形態の通常時刻表示モードの処理を示すフローチャートである。
第2実施形態の表示切替モードの処理を示すフローチャートである。
第3実施形態のインジケーター針である第2小針および第2小針で指示される目盛を示す図である。
第3実施形態の照度レベルと照度との関係を示す図である。
第3実施形態の第1制御モード時の動作例を示す図である。
第3実施形態の第2制御モード時の動作例を示す図である。
第4実施形態のインジケーター針である第2小針および第2小針で指示される目盛を示す図である。
第3実施形態の第1制御モード時の動作例を示す図である。
第3実施形態の第2制御モードにおいて照度が高い場合の動作例を示す図である。
第3実施形態の第2制御モードにおいて照度が低い場合の動作例を示す図である。
【発明を実施するための形態】
【0007】
[第1実施形態]
以下、第1実施形態の電子時計1を図面に基づいて説明する。
電子時計1は、図1に示すように、外装ケース2と、外部操作用のりゅうず3と、2つのボタン4A、4Bとを備える。外装ケース2内には、後述するように、文字板5やムーブメント等が収納される。りゅうず3は、平面視で文字板5の3時方向に設けられ、ボタン4A、4Bは2時方向、4時方向にそれぞれ設けられている。
電子時計1は、センター針6である時針61、分針62、秒針63と、第1小針71と、第2小針72と、第3小針73と、第4小針74と、日車50とを備える。
【0008】
文字板5は、ポリカーボネートなどの非導電性部材にて円板状に形成されている。文字板5の平面中心には、文字板5を貫通する図示略の中央貫通孔が形成され、中央貫通孔にはセンター針6が取り付けられるセンター針軸60が配置されている。
文字板5は、3つの小窓(サブダイヤル)を有する。すなわち、図1に示すように、文字板5は、センター針軸60が設けられた平面中心に対して、6時方向に円形の第1小窓71Aおよび第1小針71が設けられ、9時方向に円形の第2小窓72Aおよび第2小針72が設けられ、12時方向に円形の第3小窓73Aおよび第3小針73が設けられている。文字板5の平面中心に対して、4時と5時との間の方向(4.5時方向)に矩形の日窓51が設けられている。文字板5の裏面側には、カレンダー車である日車50が配置され、日車50は日窓51から視認可能となっている。
文字板5の平面中心と、日窓51との間には、円形の第4小窓74Aおよび第4小針74が設けられている。
このため、文字板5には、平面中心に形成されてセンター針軸60が挿通される中央貫通孔に加えて、第1小針71、第2小針72、第3小針73、第4小針74の小針軸が挿通される図示略の4つの貫通孔と、日窓51が形成されている。
【0009】
時針61、分針62、秒針63は、通常使用時はローカルタイムを示す。また、秒針63は、クロノグラフモード時には、秒クロノグラフ針として機能する。
第1小針71は、利用者が予め設定したタイムゾーンの時刻を示すホームタイム針であり、ホームタイム時針711と、ホームタイム分針712とで構成される。ホームタイム時針711およびホームタイム分針712は、クロノグラフモード時には、時クロノグラフ針および分クロノグラフ針として機能する。なお、ホームタイム時針711は12時間針であり、12時間で1周する。
第2小針72は、各種情報を指示するインジケーター針である。第2小窓72Aおよび第2小針72の詳細は後述する。
第3小針73は、1/20秒クロノグラフ針である。第4小針74は、第1小針71が指示するホームタイムが午前/午後のいずれであるかを示すAM/PM針である。
【0010】
図2は、電子時計1の外装ケース2内に収納されるムーブメント10の構成を示す。ムーブメント10は、入力装置11と、受信装置12と、計時装置13と、記憶装置14と、ソーラーパネル15と、充電回路16と、二次電池17と、制御装置20と、駆動機構30と、表示装置40とを備える。
入力装置11は、前述したりゅうず3と、ボタン4Aと、ボタン4Bとを備えて構成され、これらのりゅうず3、ボタン4A、ボタン4Bが操作されると検出信号を制御装置20に出力する。
入力装置11は、具体的には、りゅうず3が0段目、1段目、2段目のいずれの位置に引き出されているかと、りゅうず3の回転方向および回転量と、ボタン4A、ボタン4Bを押し離す操作とを検出し、それらの検出信号を出力する。
本実施形態では、表示切替操作を行う操作部は、りゅうず3またはボタン4A、4Bを有する入力装置11によって構成される。
(【0011】以降は省略されています)
この特許をJ-PlatPat(特許庁公式サイト)で参照する
関連特許
セイコーエプソン株式会社
記録装置
今日
セイコーエプソン株式会社
システム
今日
セイコーエプソン株式会社
検査装置
今日
セイコーエプソン株式会社
複写装置
今日
セイコーエプソン株式会社
液体収容体
今日
セイコーエプソン株式会社
成形用材料
今日
セイコーエプソン株式会社
成形用材料
今日
セイコーエプソン株式会社
液体吐出装置
今日
セイコーエプソン株式会社
液体吐出装置
今日
セイコーエプソン株式会社
液体吐出装置
今日
セイコーエプソン株式会社
遠隔監視装置
今日
セイコーエプソン株式会社
投射型表示装置
今日
セイコーエプソン株式会社
転写媒体の製造方法
今日
セイコーエプソン株式会社
生体流体情報取得装置
今日
セイコーエプソン株式会社
成形用材料及び成形品
今日
セイコーエプソン株式会社
液晶装置および電子機器
今日
セイコーエプソン株式会社
投射方法、及び投射装置
今日
セイコーエプソン株式会社
機械学習モデルの解析装置
今日
セイコーエプソン株式会社
分散剤含有液および分散液
今日
セイコーエプソン株式会社
プログラム、コンピューター
今日
セイコーエプソン株式会社
投射方法、及び投射システム
今日
セイコーエプソン株式会社
表示モジュール及び電子機器
今日
セイコーエプソン株式会社
光触媒装置およびその制御方法
今日
セイコーエプソン株式会社
記録装置、記録装置の制御方法
今日
セイコーエプソン株式会社
液体吐出装置及び温度算出装置
今日
セイコーエプソン株式会社
記録装置、記録装置の制御方法
今日
セイコーエプソン株式会社
成形型および三次元造形用組成物
今日
セイコーエプソン株式会社
電子機器及び電子機器の制御方法
今日
セイコーエプソン株式会社
液体吐出ヘッドおよび液体吐出装置
今日
セイコーエプソン株式会社
捺染用インクジェットインク組成物
今日
セイコーエプソン株式会社
ヘッドユニット、及び液体吐出装置
今日
セイコーエプソン株式会社
印刷装置、及び印刷装置の制御方法
今日
セイコーエプソン株式会社
ヘッドユニット、及び液体吐出装置
今日
セイコーエプソン株式会社
ヘッドユニット、及び液体吐出装置
今日
セイコーエプソン株式会社
液体吐出ヘッドおよび液体吐出装置
今日
セイコーエプソン株式会社
液体吐出ヘッドおよび液体吐出装置
今日
続きを見る
他の特許を見る