TOP
|
特許
|
意匠
|
商標
特許ウォッチ
Twitter
他の特許を見る
10個以上の画像は省略されています。
公開番号
2025151811
公報種別
公開特許公報(A)
公開日
2025-10-09
出願番号
2024053401
出願日
2024-03-28
発明の名称
電子機器及び電子機器の制御方法
出願人
セイコーエプソン株式会社
代理人
個人
,
個人
,
個人
,
個人
主分類
G06F
3/041 20060101AFI20251002BHJP(計算;計数)
要約
【課題】部品点数の増加を抑えつつ人の接近を検知する機能を実現可能な電子機器を提供すること。
【解決手段】表示パネルと、前記表示パネルに積層する静電容量型の第1センサーと、前記第1センサーの動作を制御する制御回路と、前記第1センサーからの検出信号に応じて動作する第1ユニットと、を有し、前記制御回路は、前記第1センサーを人感センサーとして動作させる第1モードと、前記第1センサーをタッチセンサーとして動作させる第2モードと、を有する、電子機器。
【選択図】図1
特許請求の範囲
【請求項1】
表示パネルと、
前記表示パネルに積層する静電容量型の第1センサーと、
前記第1センサーの動作を制御する制御回路と、
前記第1センサーからの検出信号に応じて動作する第1ユニットと、
を有し、
前記制御回路は、
前記第1センサーを人感センサーとして動作させる第1モードと、
前記第1センサーをタッチセンサーとして動作させる第2モードと、
を有する、
ことを特徴とする電子機器。
続きを表示(約 1,000 文字)
【請求項2】
前記制御回路は、
前記第1モードと前記第2モードとを排他的に選択する、
ことを特徴とする請求項1に記載の電子機器。
【請求項3】
前記制御回路は、
前記第1ユニットが動作を停止する省電力モードに移行するときに、前記第1モードに移行する、
ことを特徴とする請求項1に記載の電子機器。
【請求項4】
前記制御回路は、
前記第1モードにおいて前記検出信号に基づいて人の接近を検知した場合、前記第2モードに移行する、
ことを特徴とする請求項1に記載の電子機器。
【請求項5】
前記制御回路は、
前記第1ユニットが動作可能な通常動作モードでは、前記第2モードを選択する、
ことを特徴とする請求項1に記載の電子機器。
【請求項6】
ユーザーの操作によって状態が変化する第2ユニットと、
前記第2ユニットの状態を検出する第2センサーと、
を有し、
前記制御回路は、
前記第2モードから前記第1モードに移行するときに前記第2センサーの動作を停止させ、
前記第1モードから前記第2モードに移行するときに前記第2センサーの動作を再開させる、
ことを特徴とする請求項1に記載の電子機器。
【請求項7】
前記第1ユニットは、印刷ユニットである、
ことを特徴とする請求項1に記載の電子機器。
【請求項8】
表示パネルと、前記表示パネルに積層する静電容量型の第1センサーと、前記第1センサーからの検出信号に応じて動作する第1ユニットと、を有する電子機器の制御方法であって、
前記第1センサーを人感センサーとして動作させる第1モードに設定する第1工程と、
前記第1センサーをタッチセンサーとして動作させる第2モードに設定する第2工程と、
を有する、
ことを特徴とする電子機器の制御方法。
【請求項9】
前記第1工程と前記第2工程とは排他的に行われる、
ことを特徴とする請求項8に記載の電子機器の制御方法。
【請求項10】
前記電子機器の動作モードが、前記第1ユニットが動作を停止する省電力モードに移行するときに、前記第1工程が行われる、
ことを特徴とする請求項8に記載の電子機器の制御方法。
(【請求項11】以降は省略されています)
発明の詳細な説明
【技術分野】
【0001】
本発明は、電子機器及び電子機器の制御方法に関する。
続きを表示(約 1,900 文字)
【背景技術】
【0002】
近年の環境負荷低減の観点から、電子機器の省電力化が重要な課題となっている。一例として、特許文献1では、タッチパネルと人感センサーとを備え、電力制御手段が、人感センサーの検知結果に基づいて制御部に電力が供給されるように制御し、制御部が、タッチパネルがユーザー操作を検知したことに基づいてプリンター部が印刷可能な状態にする特定の動作を実行するように制御し、プリンター部は、人感センサーの検知結果に基づいては特定の動作を実行しない、印刷装置が提案されている。この印刷装置によれば、人感センサーとタッチパネルとが連携して動作することにより、プリンター部の使用が確定する前に、プリンター部の準備動作によって無駄に電力が消費されることが防止される。
【先行技術文献】
【特許文献】
【0003】
特開2017-140851号公報
【発明の概要】
【発明が解決しようとする課題】
【0004】
しかしながら、特許文献1に記載の印刷装置では、タッチパネルとは別に人感センサーが必要であるため部品点数が増加するので、依然として改善すべき余地があった。
【課題を解決するための手段】
【0005】
本発明に係る電子機器の一態様は、
表示パネルと、
前記表示パネルに積層する静電容量型の第1センサーと、
前記第1センサーの動作を制御する制御回路と、
前記第1センサーからの検出信号に応じて動作する第1ユニットと、
を有し、
前記制御回路は、
前記第1センサーを人感センサーとして動作させる第1モードと、
前記第1センサーをタッチセンサーとして動作させる第2モードと、
を有する。
【0006】
本発明に係る電子機器の制御方法の一態様は、
表示パネルと、前記表示パネルに積層する静電容量型の第1センサーと、前記第1センサーからの検出信号に応じて動作する第1ユニットと、を有する電子機器の制御方法であって、
前記第1センサーを人感センサーとして動作させる第1モードに設定する第1工程と、
前記第1センサーをタッチセンサーとして動作させる第2モードに設定する第2工程と、
を有する。
【図面の簡単な説明】
【0007】
本実施形態の電子機器の機能ブロック図である。
表示パネルの構成の一例を示す図である。
第1センサー及びセンサー駆動回路の構成の一例を示す図である。
パネルユニットの構造を説明するための図である。
第1センサーを人感センサー又はタッチセンサーとして動作させる方法の一例について説明する図である。
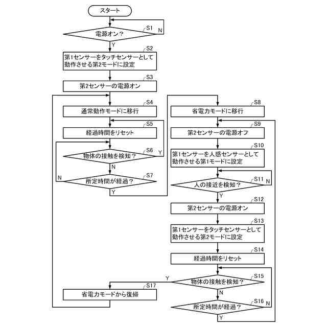
本実施形態の電子機器の制御方法の手順を示すフローチャート図である。
印刷装置の外観構造を示す図である。
媒体の搬送経路の一例を示す図である。
印刷装置の機能構成の一例を示す図である。
【発明を実施するための形態】
【0008】
以下、本発明の好適な実施形態について図面を用いて説明する。用いる図面は説明の便宜上のものである。なお、以下に説明する実施形態は、特許請求の範囲に記載された本発明の内容を不当に限定するものではない。また、以下で説明される構成の全てが本発明の必須構成要件であるとは限らない。
【0009】
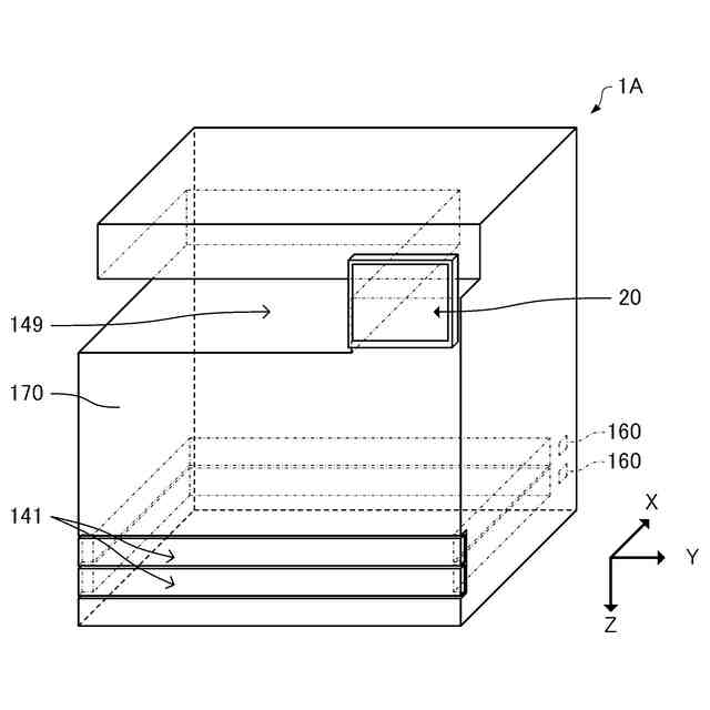
1.電子機器
1-1.電子機器の構成
図1は、本実施形態の電子機器の機能ブロック図である。図1に示すように、本実施形態の電子機器1は、制御回路10と、パネルユニット20と、第2センサー30と、第1ユニット40と、第2ユニット50と、を有する。
【0010】
制御回路10は、パネルユニット20の動作を制御するための制御信号CtrlP,CtrlS1をパネルユニット20に出力するとともに、パネルユニット20に表示させる画像を示す画像データPDTをパネルユニット20に出力する。また、制御回路10は、第1ユニット40の動作を制御するための制御信号CtrlU1を第1ユニット40に出力する。また、制御回路10は、第2センサー30の動作を制御するための制御信号CtrlS2を第2センサー30に出力する。また、制御回路10は、第2ユニット50の動作を制御するための制御信号CtrlU2を第2ユニット50に出力する。第1ユニット40及び第2ユニット50は、それぞれ所定の機能を実現するための任意の機構であり、当該機能は特に限定されない。
(【0011】以降は省略されています)
この特許をJ-PlatPat(特許庁公式サイト)で参照する
関連特許
個人
詐欺保険
6日前
個人
縁伊達ポイン
6日前
個人
QRコードの彩色
10日前
個人
地球保全システム
19日前
個人
為替ポイント伊達夢貯
1か月前
個人
冷凍食品輸出支援構造
1か月前
個人
残土処理システム
12日前
個人
農作物用途分配システム
5日前
個人
表変換編集支援システム
1か月前
個人
知財出願支援AIシステム
1か月前
個人
知的財産出願支援システム
13日前
個人
パスワード管理支援システム
1か月前
個人
AIによる情報の売買の仲介
1か月前
個人
行動時間管理システム
1か月前
個人
海外支援型農作物活用システム
1か月前
個人
食品レシピ生成システム
18日前
株式会社アジラ
進入判定装置
1か月前
株式会社キーエンス
受発注システム
18日前
株式会社キーエンス
受発注システム
18日前
日本精機株式会社
施工管理システム
1か月前
株式会社キーエンス
受発注システム
18日前
個人
AIキャラクター制御システム
1か月前
個人
システム及びプログラム
1か月前
個人
パスポートレス入出国システム
1か月前
個人
冷凍加工連携型農場運用システム
1か月前
キヤノン株式会社
表示システム
18日前
個人
食事受注会計処理システム
1か月前
個人
音声対話型帳票生成支援システム
1か月前
個人
SaaS型勤務調整支援システム
1か月前
個人
人格進化型対話応答制御システム
1か月前
サクサ株式会社
中継装置
1か月前
個人
音声・通知・再配達UX制御構造
13日前
個人
未来型家系図構築システム
1か月前
大同特殊鋼株式会社
疵判定方法
25日前
個人
社会還元・施設向け供給支援構造
1か月前
個人
帳票自動生成型SaaSシステム
13日前
続きを見る
他の特許を見る