TOP
|
特許
|
意匠
|
商標
特許ウォッチ
Twitter
他の特許を見る
10個以上の画像は省略されています。
公開番号
2025151785
公報種別
公開特許公報(A)
公開日
2025-10-09
出願番号
2024053375
出願日
2024-03-28
発明の名称
ヘッドユニット、及び液体吐出装置
出願人
セイコーエプソン株式会社
代理人
個人
,
個人
,
個人
主分類
B41J
2/14 20060101AFI20251002BHJP(印刷;線画機;タイプライター;スタンプ)
要約
【課題】液体の吐出精度が低下するおそれが低減できるヘッドユニットを提供すること。
【解決手段】駆動信号に応じて液体を吐出する吐出ユニットと、外部から電源電圧が供給され、前記駆動信号を出力する駆動ユニットと、を備え、前記駆動ユニットは、前記電源電圧を降圧し、第1駆動電圧を出力する第1降圧回路と、前記電源電圧を降圧し、第2駆動電圧を出力する第2降圧回路と、前記第1駆動電圧が供給され、前記第1駆動電圧に応じた前記駆動信号を出力する出力回路と、前記第2駆動電圧が供給され、前記第2駆動電圧に応じて前記出力回路の駆動を制御する駆動制御回路と、を有する、ヘッドユニット。
【選択図】図14
特許請求の範囲
【請求項1】
駆動信号に応じて液体を吐出する吐出ユニットと、
外部から電源電圧が供給され、前記駆動信号を出力する駆動ユニットと、
を備え、
前記駆動ユニットは、
前記電源電圧を降圧し、第1駆動電圧を出力する第1降圧回路と、
前記電源電圧を降圧し、第2駆動電圧を出力する第2降圧回路と、
前記第1駆動電圧が供給され、前記第1駆動電圧に応じた前記駆動信号を出力する出力回路と、
前記第2駆動電圧が供給され、前記第2駆動電圧に応じて前記出力回路の駆動を制御する駆動制御回路と、
を有する、
ことを特徴とするヘッドユニット。
続きを表示(約 1,000 文字)
【請求項2】
前記駆動ユニットには、ケーブルを介して前記電源電圧が供給される、
ことを特徴とする請求項1に記載のヘッドユニット。
【請求項3】
前記ケーブルの長さは2m以上である、
ことを特徴とする請求項2に記載のヘッドユニット。
【請求項4】
前記駆動制御回路は、前記第1降圧回路から前記第1駆動電圧を出力させるか否かを制御する、
ことを特徴とする請求項1に記載のヘッドユニット。
【請求項5】
前記第1降圧回路は、前記第1駆動電圧の出力を開始する場合、前記第1駆動電圧の電圧値を徐々に増加するソフトスタート機能を有する、
ことを特徴とする請求項4に記載のヘッドユニット。
【請求項6】
前記駆動ユニットは、前記第1降圧回路が設けられた配線基板を有し、
前記配線基板は、前記第1降圧回路と前記出力回路との間に位置している、
ことを特徴とする請求項1に記載のヘッドユニット。
【請求項7】
媒体を搬送する搬送ユニットと、
駆動信号に応じて前記媒体に液体を吐出する吐出ユニットと、
商用交流電圧信号から生成された電源電圧が供給され、前記駆動信号を出力する駆動ユニットと、
を備え、
前記駆動ユニットは、
前記電源電圧を降圧し、第1駆動電圧を出力する第1降圧回路と、
前記電源電圧を降圧し、第2駆動電圧を出力する第2降圧回路と、
前記第1駆動電圧が供給され、前記第1駆動電圧に応じた前記駆動信号を出力する出力回路と、
前記第2駆動電圧が供給され、前記第2駆動電圧に応じて前記出力回路の駆動を制御する駆動制御回路と、
を有する、
ことを特徴とする液体吐出装置。
【請求項8】
前記駆動ユニットには、ケーブルを介して前記電源電圧が供給される、
ことを特徴とする請求項7に記載の液体吐出装置。
【請求項9】
前記ケーブルの長さは2m以上である、
ことを特徴とする請求項8に記載の液体吐出装置。
【請求項10】
前記駆動制御回路は、前記第1降圧回路から前記第1駆動電圧を出力させるか否かを制御する、
ことを特徴とする請求項7に記載の液体吐出装置。
(【請求項11】以降は省略されています)
発明の詳細な説明
【技術分野】
【0001】
本発明は、ヘッドユニット、及び液体吐出装置に関する。
続きを表示(約 2,300 文字)
【背景技術】
【0002】
液体を吐出して媒体に文書や画像を形成する液体吐出装置には、圧電素子を用いたものが知られている。圧電素子は、プリントヘッドにおいて複数の吐出部のそれぞれに対応して設けられる。そして、圧電素子が駆動信号にしたがって駆動されることにより、対応する吐出部から圧電素子の駆動に応じて量の液体が吐出され、媒体にドットが形成される。
【0003】
例えば、特許文献1には、圧電素子の駆動により液体を吐出する液体吐出装置が開示されている。
【先行技術文献】
【特許文献】
【0004】
特開2022-087511号公報
【発明の概要】
【発明が解決しようとする課題】
【0005】
しかしながら、特許文献1に記載の液体吐出装置では、装置の大型化に伴い、液体の吐出精度が低下するおそれがあり、改善の余地があった。
【課題を解決するための手段】
【0006】
本発明に係るヘッドユニットの一態様は、
駆動信号に応じて液体を吐出する吐出ユニットと、
外部から電源電圧が供給され、前記駆動信号を出力する駆動ユニットと、
を備え、
前記駆動ユニットは、
前記電源電圧を降圧し、第1駆動電圧を出力する第1降圧回路と、
前記電源電圧を降圧し、第2駆動電圧を出力する第2降圧回路と、
前記第1駆動電圧が供給され、前記第1駆動電圧に応じた前記駆動信号を出力する出力回路と、
前記第2駆動電圧が供給され、前記第2駆動電圧に応じて前記出力回路の駆動を制御する駆動制御回路と、
を有する。
【0007】
本発明に係る液体吐出装置の一態様は、
媒体を搬送する搬送ユニットと、
駆動信号に応じて前記媒体に液体を吐出する吐出ユニットと、
商用交流電圧信号から生成された電源電圧が供給され、前記駆動信号を出力する駆動ユニットと、
を備え、
前記駆動ユニットは、
前記電源電圧を降圧し、第1駆動電圧を出力する第1降圧回路と、
前記電源電圧を降圧し、第2駆動電圧を出力する第2降圧回路と、
前記第1駆動電圧が供給され、前記第1駆動電圧に応じた前記駆動信号を出力する出力回路と、
前記第2駆動電圧が供給され、前記第2駆動電圧に応じて前記出力回路の駆動を制御する駆動制御回路と、
を有する。
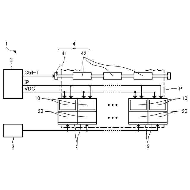
【図面の簡単な説明】
【0008】
液体吐出装置の概略構成を示す図である。
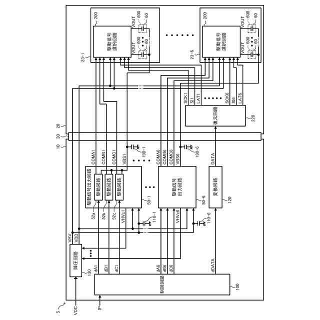
ヘッドユニットの概略構成を示す図である。
駆動信号COMA,COMB,COMCの信号波形の一例を示す図である。
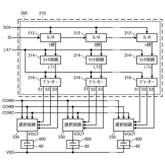
駆動信号選択回路の機能構成を示す図である。
デコーダーにおけるデコード内容の一例を示す図である。
吐出部の1個分に対応する選択回路の構成の一例を示す図である。
駆動信号選択回路の動作を説明するための図である。
駆動回路の構成の一例を示す図である。
駆動信号放電回路の構成の一例を示す図である。
基準電圧信号出力回路の構成の一例を示す図である。
VHV制御信号出力回路の構成の一例を示す図である。
状態信号入出力回路の構成を示す図である。
異常信号入出力回路の構成を示す図である。
降圧回路の構成の一例を示す図である。
第1降圧回路の構成の一例を示す図である。
吐出ユニットの構造を示す図である。
プリントヘッドの構造の一例を示す図である。
プリントヘッドの断面の一例を示す図である。
駆動ユニットの構造を示す図である。
駆動回路モジュールの構造の一例を示す図である。
ヘッド基板の断面構造の一例を示す図である。
ヘッド基板に実装される複数の電子部品の配置の一例を示す図である。
ヘッド基板に形成される駆動信号COMA1~COMA6を伝搬する配線パターンの一例を示す図である。
ヘッド基板に形成される駆動信号COMB1~COMB6を伝搬する配線パターンの一例を示す図である。
ヘッド基板に形成される駆動信号COMC1~COMC6、及び基準電圧信号VBS1~VBS3を伝搬する配線パターンの一例を示す図である。
ヘッド基板に形成される基準電圧信号VBS4~VBS6を伝搬する配線パターンの一例を示す図である。
【発明を実施するための形態】
【0009】
以下、本発明の好適な実施形態について図面を用いて説明する。用いる図面は説明の便宜上のものである。なお、以下に説明する実施形態は、特許請求の範囲に記載された本発明の内容を不当に限定するものではない。また、以下で説明される構成の全てが本発明の必須構成要件であるとは限らない。
【0010】
1.液体吐出装置の構成
図1は、液体吐出装置1の概略構成を示す図である。図1に示すように、液体吐出装置1は、搬送ユニット4によって搬送される媒体Pに対して、所望のタイミングでインクを吐出することで、媒体Pに所望の画像を形成する所謂ライン方式のインクジェットプリンターである。ここで、以下の説明において、媒体Pが搬送される方向を搬送方向と称し、搬送される媒体Pの幅方向を主走査方向と称する場合がある。
(【0011】以降は省略されています)
この特許をJ-PlatPat(特許庁公式サイト)で参照する
関連特許
個人
箔熱転写装置
1か月前
シヤチハタ株式会社
印判
4か月前
三光株式会社
感熱記録材料
6か月前
キヤノン株式会社
記録装置
29日前
株式会社リコー
印刷システム
17日前
独立行政法人 国立印刷局
貼付装置
1か月前
株式会社リコー
画像形成装置
13日前
独立行政法人 国立印刷局
貼付機構
2か月前
株式会社リコー
画像形成装置
1か月前
株式会社リコー
液体吐出装置
4か月前
株式会社リコー
液体吐出装置
6か月前
株式会社リコー
液体吐出装置
4か月前
株式会社リコー
液体吐出装置
5か月前
株式会社リコー
画像形成装置
17日前
株式会社リコー
液体吐出装置
2か月前
独立行政法人 国立印刷局
潜像印刷物
2か月前
キヤノン株式会社
画像記録装置
29日前
キヤノン株式会社
画像形成装置
5か月前
独立行政法人 国立印刷局
潜像形成体
13日前
理想科学工業株式会社
印刷装置
21日前
ブラザー工業株式会社
プリンタ
6か月前
ブラザー工業株式会社
プリンタ
2か月前
理想科学工業株式会社
印刷装置
6か月前
キヤノン株式会社
画像形成装置
今日
キヤノン株式会社
画像形成装置
6か月前
ブラザー工業株式会社
液体吐出ヘッド
29日前
キヤノン株式会社
画像形成装置
1か月前
ブラザー工業株式会社
プリンタ
4か月前
ブラザー工業株式会社
プリンタ
2か月前
キヤノン株式会社
画像処理装置
4か月前
ブラザー工業株式会社
プリンタ
6か月前
キヤノン株式会社
画像形成装置
3か月前
三栄電機株式会社
プリンタ
7か月前
キヤノン電子株式会社
サーマルプリンタ
6か月前
株式会社リコー
画像形成システム
13日前
株式会社リコー
感熱記録媒体
14日前
続きを見る
他の特許を見る