TOP
|
特許
|
意匠
|
商標
特許ウォッチ
Twitter
他の特許を見る
公開番号
2025117253
公報種別
公開特許公報(A)
公開日
2025-08-12
出願番号
2024011997
出願日
2024-01-30
発明の名称
継手管及び継手管の製造方法
出願人
三桜工業株式会社
代理人
弁理士法人太陽国際特許事務所
主分類
F16L
27/10 20060101AFI20250804BHJP(機械要素または単位;機械または装置の効果的機能を生じ維持するための一般的手段)
要約
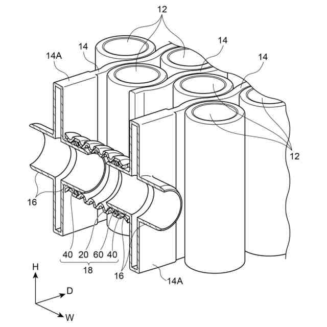
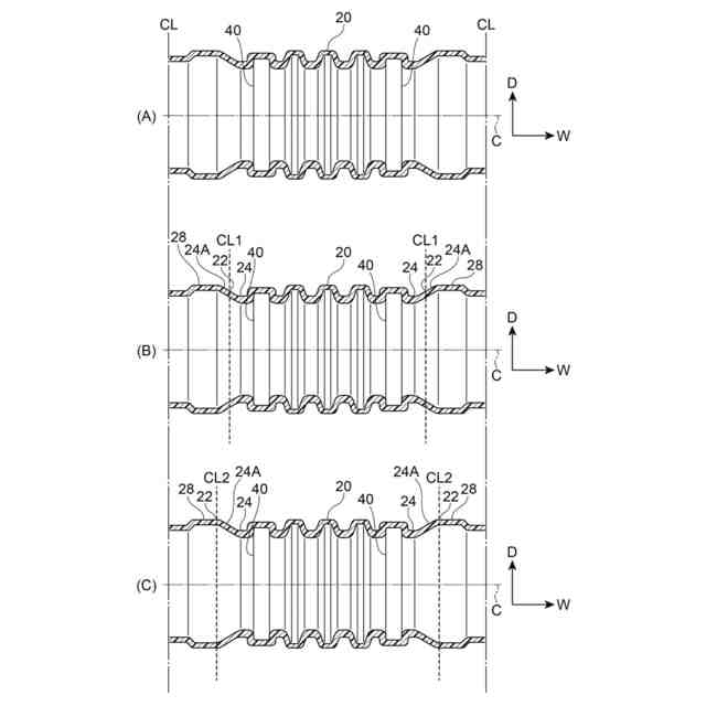
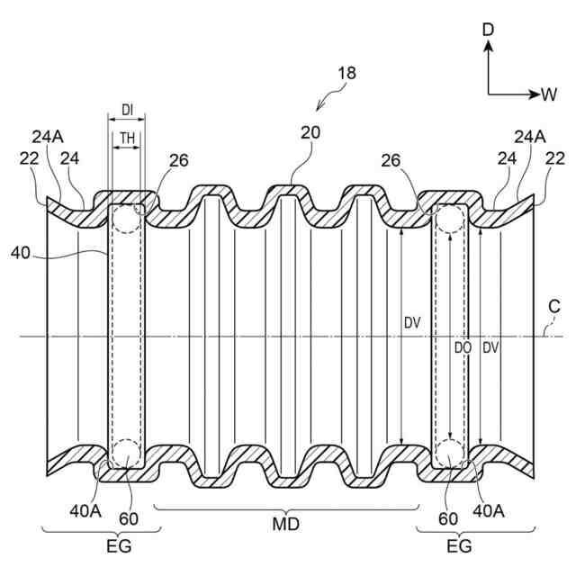
【課題】継手管に管材が接続される構成において、継手管に対する管材の軸方向の移動を許容し、また継手管と管材の軸ずれの追従性を改善する。
【解決手段】継手管は、山折り谷折りの繰り返し構造の蛇腹管と、前記蛇腹管の内周壁に形成された環状溝と、前記環状溝に装着され前記蛇腹管へ接続される円筒状の管材から流入する流体をシールするOリングと、を有する。
【選択図】図4
特許請求の範囲
【請求項1】
山折り谷折りの繰り返し構造の蛇腹管と、
前記蛇腹管の内周壁に形成された環状溝と、
前記環状溝に装着され前記蛇腹管へ接続される円筒状の管材から流入する流体をシールするOリングと、
を有する継手管。
続きを表示(約 350 文字)
【請求項2】
前記蛇腹管の挿入口の谷折り部分が径方向へ拡がっている、請求項1に記載の継手管。
【請求項3】
冷却用のクーラントが流れる流路として複数直列に接続された、請求項1に記載の継手管。
【請求項4】
軟化させたチューブを凹凸が形成されたモールドブロックで両側から挟持して、前記モールドブロックに形成された空気孔から前記チューブの外周面を真空引きして山折り谷折りの繰り返し構造の蛇腹管及び前記蛇腹管の内周壁に環状溝を成形する、継手管の製造方法。
【請求項5】
長尺の蛇腹管を成形した後、カットして必要長さの蛇腹管とする、請求項4の継手管の製造方法。
【請求項6】
前記チューブは、樹脂製である、請求項4の継手管の製造方法。
発明の詳細な説明
【技術分野】
【0001】
本開示は、継手管及び継手管の製造方法に関する。
続きを表示(約 840 文字)
【背景技術】
【0002】
特許文献1には、内面に連続して形成される螺旋状の溝を有する管継手及び管継手の製造方法において、管継手の端部からコルゲート管をねじ込んで接続することが開示されている。
【先行技術文献】
【特許文献】
【0003】
特許第5224357号公報
【発明の概要】
【発明が解決しようとする課題】
【0004】
しかし、コルゲート管をねじ込んで接続する方法では接続作業が手間で有り、また、シール性を確保するために、継手管の内周面にシール用シートを貼り付ける必要があり、面倒である。
【0005】
また、螺旋状の溝を有する管継手では、管継手に接続されるコルゲート管(管体)の軸方向の移動の許容や、軸ずれに対する追従性に改善の余地がある。
【0006】
本開示の目的は、接続作業とシール作業を容易とし、継手管に対する管材の軸方向の移動を許容し、管材の軸ずれの追従性を改善することである。
【課題を解決するための手段】
【0007】
本開示の第1態様の継手管は、山折り谷折りの繰り返し構造の蛇腹管と、前記蛇腹管の内周壁に形成された環状溝と、前記環状溝に装着され前記蛇腹管へ接続される円筒状の管材から流入する流体をシールするOリングと、を有する。
【0008】
第1態様の継手管では、継手管を蛇腹管に構成することで、接続された管材の軸方向の移動を許容でき、また、継手管と管材の軸ずれにも追従できる。
【0009】
さらに、継手管へ円筒状の管材を差し込むだけで接続作業が完了し、環状溝に装着されたOリングでシール性が確保される。
【0010】
第2態様の継手管は、第1態様の継手管であって、前記蛇腹管の挿入口の谷折り部分が径方向へ拡がっている。
(【0011】以降は省略されています)
この特許をJ-PlatPat(特許庁公式サイト)で参照する
関連特許
三桜工業株式会社
冷却器及び組立体
5日前
三桜工業株式会社
継手管及び継手管の製造方法
1か月前
個人
鍋虫ねじ
1か月前
個人
ホース保持具
5か月前
個人
紛体用仕切弁
1か月前
個人
回転伝達機構
2か月前
個人
差動歯車用歯形
3か月前
個人
トーションバー
6か月前
個人
給排気装置
1日前
個人
ジョイント
19日前
個人
ナット
20日前
株式会社不二工機
電磁弁
4か月前
個人
回転式配管用支持具
7か月前
個人
ボルトナットセット
6か月前
個人
地震の揺れ回避装置
2か月前
株式会社不二工機
電磁弁
3か月前
個人
吐出量監視装置
1か月前
株式会社オンダ製作所
継手
8か月前
カヤバ株式会社
ダンパ
3か月前
カヤバ株式会社
ダンパ
3か月前
カヤバ株式会社
緩衝器
今日
柿沼金属精機株式会社
分岐管
1か月前
株式会社三協丸筒
枠体
6か月前
株式会社ミクニ
弁装置
8か月前
株式会社ミクニ
弁装置
8か月前
カヤバ株式会社
緩衝器
3か月前
カヤバ株式会社
緩衝器
6か月前
カヤバ株式会社
緩衝器
3か月前
個人
ベルトテンショナ
7か月前
個人
固着具と固着具の固定方法
4か月前
個人
固着具と固着具の固定方法
4か月前
株式会社ナジコ
自在継手
8か月前
個人
固着具と固着具の固定方法
4か月前
株式会社タカギ
水栓装置
2か月前
株式会社不二工機
電磁弁
1か月前
株式会社ニフコ
クリップ
5日前
続きを見る
他の特許を見る