TOP
|
特許
|
意匠
|
商標
特許ウォッチ
Twitter
他の特許を見る
10個以上の画像は省略されています。
公開番号
2025146559
公報種別
公開特許公報(A)
公開日
2025-10-03
出願番号
2024083496
出願日
2024-05-22
発明の名称
冷却器及び組立体
出願人
三桜工業株式会社
代理人
個人
,
個人
,
個人
主分類
H01L
23/473 20060101AFI20250926BHJP(基本的電気素子)
要約
【課題】冷却液の圧力損失が高くなるのを抑制しつつ冷却効率を向上する。
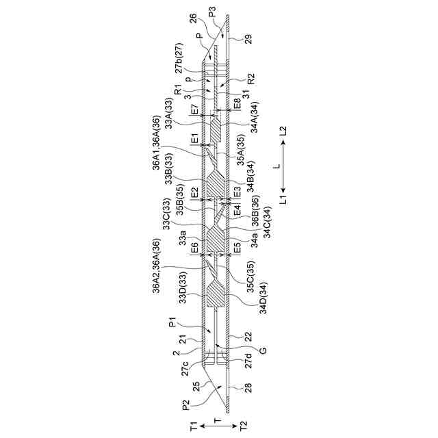
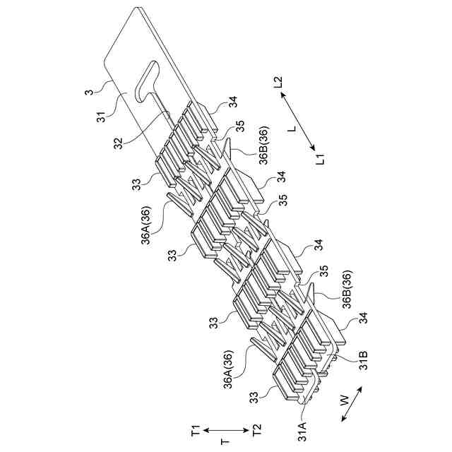
【解決手段】冷却器1は、長手方向Lに延びて厚さ方向Tに対向する第一冷却壁部21及び第二冷却壁部22と、第一冷却壁部21と第二冷却壁部22との間に形成されて長手方向Lに延びる冷却液通路Pと、を有する冷却プレート2と、冷却液通路Pに配置されて冷却液通路Pを第一冷却壁部21側の第一領域R1と第二冷却壁部22側の第二領域R2とに区画する中間プレート3と、を備え、中間プレート3は、第一冷却壁部21側に膨出して長手方向Lに沿って延びる第一膨出部33と、第二冷却壁部22側に膨出して長手方向Lに沿って延びる第二膨出部34と、を有する。
【選択図】図11
特許請求の範囲
【請求項1】
長手方向に延びて前記長手方向と直交する厚さ方向に対向する第一冷却壁部及び第二冷却壁部と、前記第一冷却壁部と前記第二冷却壁部との間に形成されて前記長手方向に延びる冷却液通路と、を有する冷却プレートと、
前記冷却液通路に配置されて前記冷却液通路の少なくとも一部を前記第一冷却壁部側の第一領域と前記第二冷却壁部側の第二領域とに区画する中間プレートと、を備え、
前記中間プレートは、
前記第一冷却壁部側に膨出して前記長手方向に沿って延びる第一膨出部と、
前記第二冷却壁部側に膨出して前記長手方向に沿って延びる第二膨出部と、を有する、
冷却器。
続きを表示(約 1,300 文字)
【請求項2】
前記第一膨出部は、前記長手方向と平行な方向に延びる第一頂面を有し、
前記第二膨出部は、前記長手方向と平行な方向に延びる第二頂面を有する、
請求項1に記載の冷却器。
【請求項3】
前記第一頂面の前記長手方向における長さは、前記第一頂面と前記第一冷却壁部との離間距離よりも長く、
前記第二頂面の前記長手方向における長さは、前記第二頂面と前記第二冷却壁部との離間距離よりも長い、
請求項2に記載の冷却器。
【請求項4】
前記冷却プレートは、前記冷却液通路を前記長手方向及び前記厚さ方向と直交する幅方向に区画する複数の区画壁部を有し、
前記冷却液通路は、前記複数の区画壁部により区画された複数の小通路を有し、
前記第一膨出部及び前記第二膨出部は、前記複数の小通路のそれぞれに対応して設けられて、前記複数の小通路のそれぞれに挿入されている、
請求項1に記載の冷却器。
【請求項5】
前記複数の区画壁部は、前記第一冷却壁部から前記第二冷却壁部側に延びる第一部分区画壁部と、前記第一部分区画壁部との間に隙間を形成するように前記第二冷却壁部から前記第一冷却壁部側に向かって延びる第二部分区画壁部と、を有する部分区画壁部を有する、
請求項4に記載の冷却器。
【請求項6】
前記第一部分区画壁部及び前記第二部分区画壁部の少なくとも一方は、前記第一部分区画壁部と前記第二部分区画壁部との間の前記隙間に前記中間プレートを案内するように構成された挿入ガイド部を有する、
請求項5に記載の冷却器。
【請求項7】
前記第一部分区画壁部及び前記第二部分区画壁部の、前記長手方向における少なくとも一方側の先端は、前記長手方向において互いに異なる位置に配置されている、
請求項5に記載の冷却器。
【請求項8】
前記第一部分区画壁部及び前記第二部分区画壁部の、前記長手方向における少なくとも一方側の端部は、前記長手方向における他方側に向かいながら前記隙間に至る傾斜面を有する、
請求項5に記載の冷却器。
【請求項9】
前記複数の区画壁部は、前記第一冷却壁部から前記第二冷却壁部まで延びる全域区画壁部を更に有し、
前記中間プレートは、前記長手方向の一方の方向である第一長手方向側の先端である第一先端から、前記長手方向の他方の方向である第二長手方向側の先端である第二先端よりも前記第一長手方向側の位置まで、前記長手方向に延びて、前記全域区画壁部が挿入されるスリットを有する、
請求項5に記載の冷却器。
【請求項10】
前記中間プレートは、
前記第一冷却壁部側に傾斜しながら延びて前記第一部分区画壁部に押圧される第一板バネ部と、
前記第二冷却壁部側に傾斜しながら延びて前記第二部分区画壁部に押圧される第二板バネ部と、を有する、
請求項5に記載の冷却器。
(【請求項11】以降は省略されています)
発明の詳細な説明
【技術分野】
【0001】
本発明の一側面は、バッテリ等の発熱部材を冷却する冷却器及び組立体に関する。
続きを表示(約 2,300 文字)
【背景技術】
【0002】
特許文献1には、複数の冷却プレート(冷却組立体)を積層し、積層方向に隣り合う冷却プレートの間に発熱部材(電子素子)を配置することで、発熱部材を上下から冷却する冷却器が記載されている。
【先行技術文献】
【特許文献】
【0003】
特表2020-522141号公報
【発明の概要】
【発明が解決しようとする課題】
【0004】
特許文献1に記載された冷却器では、各冷却プレートの冷却液通路を流れる冷却液が発熱部材から熱を奪うことで、発熱部材子が冷却される。しかしながら、冷却液通路を流れる冷却液のうち、発熱部材付近を流れる冷却液は、発熱部材から熱を奪って昇温するが、電子素子から離れた位置を流れる冷却液は、電子素子付近を流れる冷却液に比べて昇温することなく冷却流路を通り抜けてしまう。その結果、電子素子から熱を効率的に奪えないという問題がある。つまり、冷却効率が十分に得られないという問題がある。
【0005】
本発明の一側面は、冷却効率を向上することができる冷却器及び組立体を提供することを目的とする。
【課題を解決するための手段】
【0006】
[1] 本発明の一側面に係る冷却器は、長手方向に延びて長手方向と直交する厚さ方向に対向する第一冷却壁部及び第二冷却壁部と、第一冷却壁部と第二冷却壁部との間に形成されて長手方向に延びる冷却液通路と、を有する冷却プレートと、冷却液通路に配置されて冷却液通路の少なくとも一部を第一冷却壁部側の第一領域と第二冷却壁部側の第二領域とに区画する中間プレートと、を備え、中間プレートは、第一冷却壁部側に膨出して長手方向に沿って延びる第一膨出部と、第二冷却壁部側に膨出して長手方向に沿って延びる第二膨出部と、を有する。
【0007】
この冷却器では、冷却プレートの冷却液通路に、冷却液通路の少なくとも一部を第一冷却壁部側の第一領域と第二冷却壁部側の第二領域とに区画する中間プレートが配置されており、中間プレートが、第一冷却壁部側に膨出して長手方向に沿って延びる第一膨出部と、第二冷却壁部側に膨出して長手方向に沿って延びる第二膨出部と、を有する。つまり、第一領域及び第二領域は、第一膨出部及び第二膨出部が設けられた位置で狭くなっている。このため、冷却液通路の第一領域及び第二領域に供給された冷却液が第一膨出部及び第二膨出部に沿って流れる際に、冷却液の流速が高くなるため、第一冷却壁部及び第二冷却壁部と冷却液との間の熱伝達率が上昇する。これにより、例えば、第一膨出部及び第二膨出部と対向する第一冷却壁部及び第二冷却壁部の部分に発熱部材を配置することで、発熱部材の冷却効率を向上することができる。しかも、第一領域及び第二領域は、第一膨出部及び第二膨出部が設けられていない位置で広くなっている。このため、冷却液が第一膨出部及び第二膨出部に沿って流れる際に、第一冷却壁部及び第二冷却壁部付近と第一冷却壁部及び第二冷却壁部から離れた位置との間で冷却水の温度差が生じても、冷却液が第一膨出部及び第二膨出部を通り過ぎると、この温度差が緩和される。これにより、冷却効率を更に向上することができる。
【0008】
[2] [1]に記載した冷却器において、第一膨出部は、長手方向と平行な方向に延びる第一頂面を有し、第二膨出部は、長手方向と平行な方向に延びる第二頂面を有してもよい。この冷却器では、第一膨出部が、長手方向と平行な方向に延びる第一頂面を有し、第二膨出部が、長手方向と平行な方向に延びる第二頂面を有する。このため、冷却水の流速が高くなる領域が長手方向に長くなるため、冷却効率を更に向上することができる。
【0009】
[3] [2]に記載した冷却器において、第一頂面の長手方向における長さは、第一頂面と第一冷却壁部との離間距離よりも長く、第二頂面の長手方向における長さは、第二頂面と第二冷却壁部との離間距離よりも長くてもよい。この冷却器では、第一頂面の長手方向における長さが、第一頂面と第一冷却壁部との離間距離よりも長く、第二頂面の長手方向における長さが、第二頂面と第二冷却壁部との離間距離よりも長い。このため、第一膨出部及び第二膨出部に沿って流れる冷却液の流速を高くすることができる。
【0010】
[4] [1]~[3]の何れかに記載した冷却器において、冷却プレートは、冷却液通路を長手方向及び厚さ方向と直交する幅方向に区画する複数の区画壁部を有し、冷却液通路は、複数の区画壁部により区画された複数の小通路を有し、第一膨出部及び第二膨出部は、複数の小通路のそれぞれに対応して設けられて、複数の小通路のそれぞれに挿入されていてもよい。この冷却器では、冷却プレートが、冷却液通路を幅方向に区画する複数の区画壁部を有し、冷却液通路が、複数の区画壁部により区画された複数の小通路を有する。これにより、冷却液と冷却プレートとの接触面積が向上するため、冷却効率が向上する。そして、第一膨出部及び第二膨出部が、複数の小通路のそれぞれに対応して設けられて、複数の小通路のそれぞれに挿入されている。このため、複数の小通路においても、冷却液が第一膨出部及び第二膨出部に沿って流れる際に、冷却液の流速が高くなるため、第一冷却壁部及び第二冷却壁部と冷却液との間の熱伝達率が上昇する。これにより、冷却効率を向上することができる。
(【0011】以降は省略されています)
この特許をJ-PlatPat(特許庁公式サイト)で参照する
関連特許
三桜工業株式会社
冷却器及び組立体
3日前
三桜工業株式会社
継手管及び継手管の製造方法
1か月前
三桜工業株式会社
冷却器
3か月前
三桜工業株式会社
熱利用発電モジュール、及び、熱利用発電モジュール製造方法
2か月前
個人
安全なNAS電池
1か月前
日本発條株式会社
積層体
7日前
東レ株式会社
多孔質炭素シート
26日前
個人
フリー型プラグ安全カバー
1か月前
エイブリック株式会社
半導体装置
28日前
ローム株式会社
半導体装置
5日前
個人
防雪防塵カバー
7日前
ローム株式会社
半導体装置
5日前
ローム株式会社
半導体装置
5日前
ローム株式会社
半導体装置
26日前
エイブリック株式会社
半導体装置
28日前
キヤノン株式会社
電子機器
26日前
ローム株式会社
半導体装置
3日前
株式会社GSユアサ
蓄電装置
1か月前
株式会社ティラド
面接触型熱交換器
18日前
個人
半導体パッケージ用ガラス基板
6日前
オムロン株式会社
電磁継電器
1か月前
太陽誘電株式会社
全固体電池
3日前
ニチコン株式会社
コンデンサ
19日前
株式会社GSユアサ
蓄電装置
3日前
ニチコン株式会社
コンデンサ
19日前
株式会社ホロン
冷陰極電子源
3日前
東レ株式会社
ガス拡散層の製造方法
26日前
株式会社GSユアサ
蓄電装置
7日前
沖電気工業株式会社
アンテナ
1か月前
株式会社GSユアサ
蓄電装置
1か月前
株式会社GSユアサ
蓄電装置
1か月前
株式会社ヨコオ
コネクタ
28日前
株式会社カネカ
二次電池
1か月前
日本特殊陶業株式会社
保持装置
5日前
日本特殊陶業株式会社
保持装置
1か月前
日本特殊陶業株式会社
保持装置
3日前
続きを見る
他の特許を見る