TOP
|
特許
|
意匠
|
商標
特許ウォッチ
Twitter
他の特許を見る
10個以上の画像は省略されています。
公開番号
2025119739
公報種別
公開特許公報(A)
公開日
2025-08-15
出願番号
2024014708
出願日
2024-02-02
発明の名称
ボールねじ装置
出願人
日本精工株式会社
代理人
弁理士法人酒井国際特許事務所
主分類
F16H
25/22 20060101AFI20250807BHJP(機械要素または単位;機械または装置の効果的機能を生じ維持するための一般的手段)
要約
【課題】コマの径方向の小型化を図るボールねじ装置を提供する。
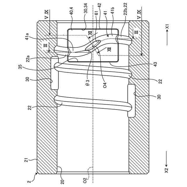
【解決手段】本開示のボールねじ装置は、ねじ軸と、ねじ軸に貫通されるナットと、ねじ軸とナットの間に配置された複数のボールと、ボールを循環させる少なくとも1つ以上のコマと、を備える。ナットの内周面は、内周面から径方向外側に窪み、内部にコマが収容される凹面を有し、ナットの中心軸から視て凹面が配置される方向をコマ挿入方向とし、コマは、ナットの内周側を向く内径面と、ナットの外周側を向く外径面と、内径面から径方向外側に窪むS字溝面と、S字溝面と外径面との間に配置された底壁部と、を有し、S字溝面は、S字溝面の長さ方向の両端からS字溝面の長さ方向の中央部に近づくにつれて、コマ挿入方向への窪み量が次第に大きくなり、S字溝面の中央部には、コマ挿入方向に貫通し、底壁部の一部を切り欠く貫通孔が設けられている。
【選択図】図9
特許請求の範囲
【請求項1】
ねじ軸と、
前記ねじ軸に貫通されるナットと、
前記ねじ軸と前記ナットの間に配置された複数のボールと、
前記ボールを循環させる少なくとも1つ以上のコマと、
を備え、
前記ナットの内周面は、前記内周面から径方向外側に窪み、内部に前記コマが収容される凹面を有し、
前記ナットの中心軸から視て前記凹面が配置される方向をコマ挿入方向とし、
前記コマは、
前記ナットの内周側を向く内径面と、
前記ナットの外周側を向く外径面と、
前記内径面から径方向外側に窪むS字溝面と、
前記S字溝面と前記外径面との間に配置された底壁部と、
を有し、
前記S字溝面は、前記S字溝面の長さ方向の両端から前記S字溝面の長さ方向の中央部に近づくにつれて、前記コマ挿入方向への窪み量が次第に大きくなり、
前記S字溝面の前記中央部には、前記コマ挿入方向に貫通し、前記底壁部の一部を切り欠く貫通孔が設けられている
ボールねじ装置。
続きを表示(約 1,800 文字)
【請求項2】
前記ボールは、前記貫通孔を介して前記凹面と接触する
請求項1に記載のボールねじ装置。
【請求項3】
前記ボールは、前記貫通孔を介して前記凹面と接触しない
請求項1に記載のボールねじ装置。
【請求項4】
前記ナットの中心軸と平行な軸方向から視て、前記コマ挿入方向に交差する方向を交差方向とし、
前記ナットの内周面は、前記凹面と前記内周面とが交わる角部であり、互いに交差方向に離れて配置された第1角部及び第2角部を有し、
前記凹面は、前記外径面と当接し、前記コマを支持する支持面を有し、
前記支持面は、前記軸方向から視て円弧状を成し、前記交差方向の一端が前記第1角部に接続し、前記交差方向の他端が前記第2角部に接続している
請求項1に記載のボールねじ装置。
【請求項5】
前記ナットの中心軸と平行な軸方向から視て、前記コマ挿入方向に交差する方向を交差方向とし、
前記ナットの内周面は、前記凹面と前記内周面とが交わる角部であり、互いに交差方向に離れて配置された第1角部及び第2角部を有し、
前記凹面は、前記外径面と当接し、前記コマを支持する支持面を有し、
前記支持面は、
前記交差方向に互いに離れて配置され、前記第1角部又は前記第2角部から前記コマ挿入方向に移動するにつれて互いに近づく円弧状の第1円弧面及び第2円弧面と、
前記交差方向に延在し、前記交差方向の一端が前記第1円弧面に接続し、前記交差方向の他端が前記第2円弧面に接続する平面と、
を有し、
前記コマの前記外径面は、前記交差方向に延在し、前記平面と対向する平面状の対向平面を有している
請求項1に記載のボールねじ装置。
【請求項6】
前記ナットの中心軸と平行な軸方向から視て、前記コマ挿入方向に交差する方向を交差方向とし、
前記ナットの内周面は、前記凹面と前記内周面とが交わる角部であり、互いに交差方向に離れて配置された第1角部及び第2角部を有し、
前記凹面は、前記外径面と当接し、前記コマを支持する支持面を有し、
前記支持面は、
前記第1角部から前記コマ挿入方向に延在する平面状の第1平面と、
前記第2角部から前記コマ挿入方向に延在する平面状の第2平面と、
前記交差方向に延在し、前記交差方向の一端が前記第1平面と接続し、前記交差方向の他端が前記第2平面と接続する平面と、
を有している
請求項1に記載のボールねじ装置。
【請求項7】
前記ナットの内周面は、
螺旋方向に延在し、一端が前記第1角部と接続し、他端が前記第2角部に接続する内周軌道面と、
前記凹面を挟んで前記内周軌道面の他端の延長線上を延在し、かつ一端が前記第1角部に接続する第1ねじ溝面と、
前記凹面を挟んで前記内周軌道面の一端の延長線上を延在し、かつ一端が前記第2角部に接続する第2ねじ溝面と、
を有し、
前記コマは、
前記第1ねじ溝面の内部に配置される第1突起と、
前記第2ねじ溝面の内部に配置される第2突起と、
を有している
請求項4又は請求項5に記載のボールねじ装置。
【請求項8】
前記凹面は、前記ナットの内周側に向かって開口する開口部を有し、
前記開口部は、前記ナットの中心軸から視て矩形状に形成されている
請求項1から請求項6のいずれか1項に記載のボールねじ装置。
【請求項9】
前記ナットの中心軸と平行な軸方向から視て、前記コマ挿入方向に交差する方向を交差方向とし、
前記凹面は、前記ナットの内周側に向かって開口する開口部を有し、
前記開口部は、前記軸方向の長さよりも、前記交差方向の長さの方が大きい
請求項1から請求項6のいずれか1項に記載のボールねじ装置。
【請求項10】
前記凹面は、前記ナットの内周側に向かって開口する開口部を有し、
前記開口部は、前記ナットの中心軸から視て円形状に形成されている
請求項1から請求項6のいずれか1項に記載のボールねじ装置。
(【請求項11】以降は省略されています)
発明の詳細な説明
【技術分野】
【0001】
本開示は、ボールねじ装置に関する。
続きを表示(約 2,200 文字)
【背景技術】
【0002】
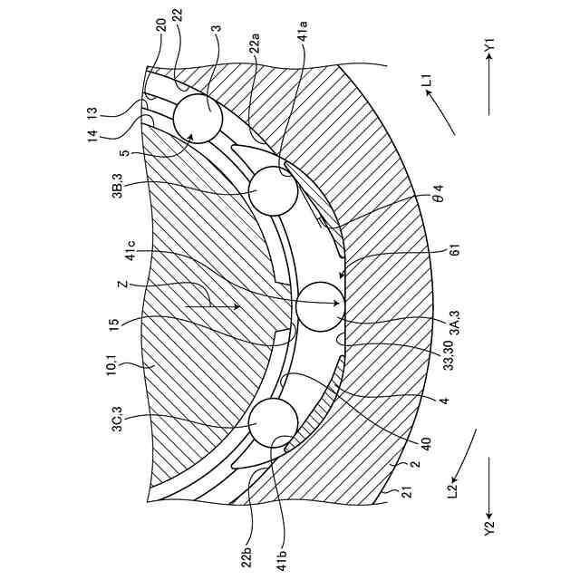
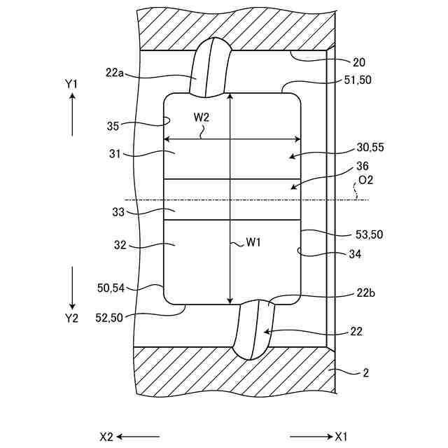
ボールねじ装置は、ナットと、ナットを貫通するねじ軸と、ナットとねじ軸との間に配置された複数のボールと、循環部品と、を備えている。ナットの内周面には、内周軌道面が形成されている。ねじ軸の外周面には、内周軌道面と対向する外周軌道面が形成されている。内周軌道面と外周軌道面との間は、螺旋状の軌道を構成している。複数のボールは、軌道に配置され、軌道に沿って螺旋方向に移動する。そして、循環部品は、軌道の一端から軌道の他端に移動したボールを軌道の一端に戻す。循環部品の一つとして、ボールを1リード戻すコマが挙げられる。下記特許文献のボールねじ装置では、ナットの内周面に有底の凹面を形成している。そして、凹面の内部にコマを収容している。
【先行技術文献】
【特許文献】
【0003】
米国特許出願公開第2019/0277380号明細書
【発明の概要】
【発明が解決しようとする課題】
【0004】
ところで、コマの径方向の厚みが大きくなると、ナットの凹面の深さが大きくなり、ナットが大型化する。このため、径方向に小型化されたコマの開発が望まれている。
【0005】
本開示は、上記に鑑みてなされたものであり、コマの径方向の小型化を図るボールねじ装置を提供することを目的とする。
【課題を解決するための手段】
【0006】
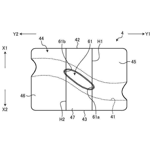
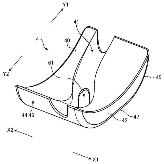
上記の目的を達成するため、本開示の一態様に係るボールねじ装置は、ねじ軸と、前記ねじ軸に貫通されるナットと、前記ねじ軸と前記ナットの間に配置された複数のボールと、前記ボールを循環させる少なくとも1つ以上のコマと、を備えている。前記ナットの内周面は、前記内周面から径方向外側に窪み、内部に前記コマが収容される凹面を有している。前記ナットの中心軸から視て前記凹面が配置される方向をコマ挿入方向とする。前記コマは、前記ナットの内周側を向く内径面と、前記ナットの外周側を向く外径面と、前記内径面から径方向外側に窪むS字溝面と、前記S字溝面と前記外径面との間に配置された底壁部と、を有している。前記S字溝面は、前記S字溝面の長さ方向の両端から前記S字溝面の長さ方向の中央部に近づくにつれて、前記コマ挿入方向への窪み量が次第に大きくなる。前記S字溝面の前記中央部には、前記コマ挿入方向に貫通し、前記底壁部の一部を切り欠く貫通孔が設けられている。
【0007】
従来のコマは、S字溝面の長さ方向の全てに底壁部が設けられている。一方、本開示のコマは、貫通孔により底壁部の一部が切り欠かれる。よって、コマが径方向に小型化する。また、貫通孔により切り欠かれる底壁部の一部は、S字溝面の長さ方向の中央部に対し、径方向外側に配置される部分である。S字溝面は、長さ方向の中央部に近づくにつれて径方向外側に配置される。よって、貫通孔により切り欠かれる底壁部の一部は、径方向の厚みが小さく肉薄部となっている。射出成形で樹脂製のコマを製造する場合、肉薄部が樹脂の流動性の低下を招く。この結果、コマが所定の形状に成形されなかったり、強度不足となったりする可能性がある。一方、本開示によれば、樹脂の流動性の低下の原因となる肉薄部が切り欠かれている。よって、仮に射出成形で樹脂製のコマを製造しても、所定の形状に成形されなかったり、強度不足となったりすることが回避される。また、本開示のコマによれば、ナットの外周面に貫通孔を設ける必要がない。このため、ナットの外周面を摺動させてナット自体をピストンとして機能させたり、又はナットの外周面に軸受、モータのロータ、減速ギヤ、及びベルトプーリ等などを直接圧入させたりする要望(ニーズ)に対応できる。さらに、ナットの外周面に貫通孔がないため、防塵性が高い。または、ナットの外周面に貫通孔が設けられ、さらに貫通孔を閉塞する部品が設けられた場合と比べて、本開示のナットが小型化及び軽量化している。
【0008】
また、前記したボールねじ装置において、前記ボールは、前記貫通孔を介して前記凹面と接触してもよいし、若しくは前記貫通孔を介して前記凹面と接触しなくてもよい。
【0009】
また、前記したボールねじ装置の好ましい態様として、前記ナットの中心軸と平行な軸方向から視て、前記コマ挿入方向に交差する方向を交差方向とする。前記ナットの内周面は、前記凹面と前記内周面とが交わる角部であり、互いに交差方向に離れて配置された第1角部及び第2角部を有している。前記凹面は、前記外径面と当接し、前記コマを支持する支持面を有している。前記支持面は、前記軸方向から視て円弧状を成し、前記交差方向の一端が前記第1角部に接続し、前記交差方向の他端が前記第2角部に接続している。
【0010】
前記構成によれば、支持面が単一の円弧面となっている。このため、ナットに凹面を形成する際、ナットの内周側に回転する切削具を配置し、その切削具を径方向外側に移動させるだけで、円弧状の支持面が形成される。つまり、切削具を交差方向に移動させる必要がなく、ナットの生産性が向上する。
(【0011】以降は省略されています)
この特許をJ-PlatPat(特許庁公式サイト)で参照する
関連特許
日本精工株式会社
ボールねじ
1か月前
日本精工株式会社
ボールねじ装置
3日前
日本精工株式会社
円すいころ軸受
2日前
日本精工株式会社
転がり案内装置
10日前
日本精工株式会社
ハブユニット軸受
1か月前
日本精工株式会社
密封型転がり軸受
3日前
日本精工株式会社
密封型転がり軸受
3日前
日本精工株式会社
密封型転がり軸受
3日前
日本精工株式会社
密封型転がり軸受
3日前
日本精工株式会社
密封型転がり軸受
3日前
日本精工株式会社
密封型転がり軸受
3日前
日本精工株式会社
密封型転がり軸受
3日前
日本精工株式会社
磁歪式トルクセンサ
1か月前
日本精工株式会社
磁歪式トルクセンサ
12日前
日本精工株式会社
モータ制御システム
11日前
日本精工株式会社
直動案内装置の組立方法
16日前
日本精工株式会社
アクチュエータシステム
18日前
日本精工株式会社
ボールねじ部品の製造方法
1か月前
日本精工株式会社
ラジアルころ軸受用保持器
2日前
日本精工株式会社
潤滑機能付き転がり軸受装置
1か月前
日本精工株式会社
直動案内装置及びその製造方法
16日前
日本精工株式会社
ころ軸受及びころ軸受の設計方法
16日前
日本精工株式会社
片持ち回転ローラ配置型円形車輪
2日前
日本精工株式会社
回路放熱機構および回路放熱方法
1か月前
協同油脂株式会社
グリース組成物
18日前
日本精工株式会社
ハブユニット軸受及びその製造方法
2日前
日本精工株式会社
モータ制御装置およびモータ制御方法
1か月前
日本精工株式会社
含油部材付歯車、直動アクチュエータ
20日前
日本精工株式会社
入力異常検出装置および入力異常検出方法
1か月前
日本精工株式会社
細胞培養成形装置および細胞培養片の製造方法
1か月前
日本精工株式会社
潤滑剤供給体及び潤滑剤供給体を配設した転動装置
10日前
日本精工株式会社
圧電アクチュエータおよびマニピュレーションシステム
9日前
日本精工株式会社
磁歪式トルクセンサの組立方法および磁歪式トルクセンサ
2日前
日本精工株式会社
トルクセンサの補正値取得方法および回転軸のトルク測定方法
2日前
日本精工株式会社
ボールねじの偏荷重検出装置、偏荷重検出方法、およびプログラム
2日前
日本精工株式会社
モデル生成プログラム、モデル生成方法、細胞選別装置および学習済みモデル
17日前
続きを見る
他の特許を見る