TOP
|
特許
|
意匠
|
商標
特許ウォッチ
Twitter
他の特許を見る
公開番号
2025120630
公報種別
公開特許公報(A)
公開日
2025-08-18
出願番号
2024015560
出願日
2024-02-05
発明の名称
光学測定装置、光学測定装置のデータ管理方法、及び光学測定装置のデータ管理プログラム
出願人
日本分光株式会社
代理人
弁理士法人岩橋国際特許事務所
,
個人
,
個人
主分類
G01N
21/21 20060101AFI20250808BHJP(測定;試験)
要約
【課題】医薬品業界で要求される厳格なトレーサビリティを実現できる光学測定装置、光学測定装置のデータ管理方法、及び光学測定装置のデータ管理プログラムの提供。
【解決手段】光学測定装置の測定手段で試料の光学特性を測定した測定データと、光学測定装置本体に着脱可能に装着される複数の管理対象部品における管理情報とを結合させた履歴データを保管して利用・必要時には前記履歴データを追跡できる光学測定装置であって、前記管理対象部品に取付けられ、前記管理対象部品の前記管理情報を記録するための記録手段と、前記管理対象部品を前記光学測定装置本体に装着した時、又は前記管理対象部品を前記光学測定装置本体に装着して前記測定手段で測定する時に、前記記録手段に記録されている前記管理情報を読み取るための読取手段と、読み取られた前記管理情報と、前記測定手段で測定した前記測定データとを結合させた履歴データを保管するための保管手段と、を有する光学測定装置である。
【選択図】なし
特許請求の範囲
【請求項1】
光学測定装置の測定手段で試料の光学特性を測定した測定データと、光学測定装置本体に着脱可能に装着される複数の管理対象部品における管理情報とを結合させた履歴データを保管して利用・必要時には前記履歴データを追跡できる光学測定装置であって、
前記管理対象部品に取付けられ、前記管理対象部品の前記管理情報を記録するための記録手段と、
前記管理対象部品を前記光学測定装置本体に装着した時、又は前記管理対象部品を前記光学測定装置本体に装着して前記測定手段で測定する時に、前記記録手段に記録されている前記管理情報を読み取るための読取手段と、
読み取られた前記管理情報と、前記測定手段で測定した前記測定データとを結合させた履歴データを保管するための保管手段と、
を有することを特徴とする光学測定装置。
続きを表示(約 1,100 文字)
【請求項2】
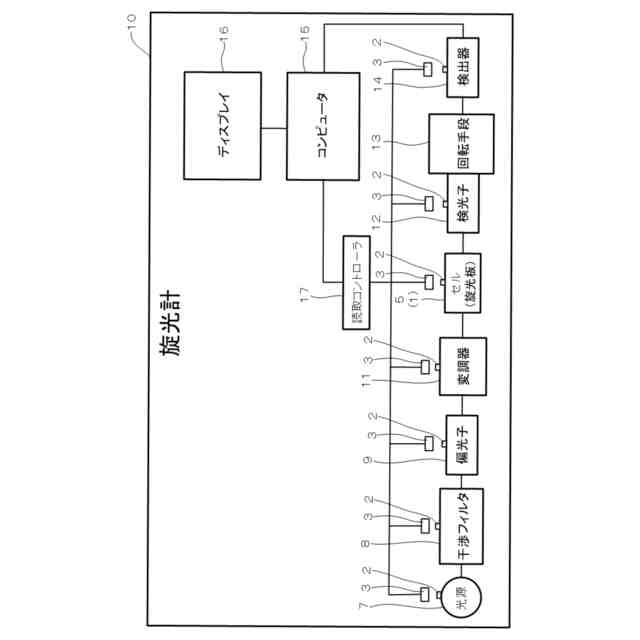
複数の前記管理対象部品が、光学測定装置本体に着脱可能に装着される大部分の管理対象部品であり、光源、フィルタ、標準試料、セル、温度計及び付属品である、請求項1に記載の光学測定装置。
【請求項3】
前記管理情報が、管理対象部品の固有番号、管理対象部品の有効期限、管理対象部品の交換日時、管理対象部品の交換実施者、標準試料の校正情報、温度計の校正情報及びセルの校正情報から選択される少なくとも1つである、請求項2に記載の光学測定装置。
【請求項4】
前記記録手段が、一次元コード、二次元コード、RFIDタグ及びEEPROMのいずれかである、請求項1に記載の光学測定装置。
【請求項5】
前記読取手段が、バーコードリーダ、RFIDリーダ、光学カメラ及び読取装置のいずれかである、請求項1に記載の光学測定装置。
【請求項6】
前記利用・必要時が、日常点検時、定期点検時、適格性検査時、管理対象部品の交換時、標準試料の校正時、修理時及び使用者の要求時のいずれかである、請求項1に記載の光学測定装置。
【請求項7】
前記利用・必要時において該当する前記履歴データを提供するための提供手段を有する、請求項6に記載の光学測定装置。
【請求項8】
前記履歴データの提供が、光学測定装置の画面への前記履歴データの表示と警告、又は携帯端末での前記履歴データの表示と警告である、請求項7に記載の光学測定装置。
【請求項9】
前記光学測定装置が、旋光計、円二色性分散計、直線二色性分散計、複屈折測定装置、偏光測定装置、ラマン分光光度計、紫外可視近赤外分光光度計、赤外分光光度計及び分光蛍光光度計のいずれかである、請求項1から8のいずれかに記載の光学測定装置。
【請求項10】
光学測定装置の測定手段で試料の光学特性を測定した測定データと、光学測定装置本体に着脱可能に装着される複数の管理対象部品における管理情報とを結合させた履歴データを保管して利用・必要時には前記履歴データを追跡できる光学測定装置のデータ管理方法であって、
前記管理対象部品に取付けられる記録手段に対し前記管理対象部品の管理情報を記録する記録工程と、
前記管理対象部品を前記光学測定装置本体に装着した時、又は前記管理対象部品を前記光学測定装置本体に装着して前記測定手段で測定する時に、前記記録手段に記録されている前記管理情報を読み取る読取工程と、
読み取られた前記管理情報と、前記測定手段で測定した前記測定データとを結合させた履歴データを保管する保管工程と、
を含むことを特徴とする光学測定装置のデータ管理方法。
(【請求項11】以降は省略されています)
発明の詳細な説明
【技術分野】
【0001】
本発明は、医薬品業界で要求される厳格なトレーサビリティを実現できる光学測定装置、光学測定装置のデータ管理方法、及び光学測定装置のデータ管理プログラムに関する。
続きを表示(約 1,600 文字)
【背景技術】
【0002】
医薬品業界においては、医薬品が人の生命や健康に関わるという性格上、GxP(Good x practice)という厳格な規格基準に準拠する必要があり、医薬品の製造や管理に用いられる旋光計等の光学測定装置は納品時又は定期的に的確に動作することを検証しなければならない。また、医薬品業界では、製造された医薬品に異常が生じた場合には、医薬品の異常の発生原因を根本的に究明する必要があるため、旋光計等の光学測定装置の測定データ及び管理対象部品の管理情報などについても厳格なトレーサビリティの実施が必要とされている。
【0003】
そのため、例えば特許文献1には、旋光計のキュベット(以下、「セル」と称することもある)のセル壁に、セルの情報(長さ、直径、材質等の形状データ)、セル温度、セルの校正情報が記録されている情報提示手段が固定されており、セルを旋光計に装着すると、情報提示手段に記録されている情報がデータ受信機で読み取られ、制御部に転送されることが開示されている。
【先行技術文献】
【特許文献】
【0004】
米国特許第8,908,179号公報
【発明の概要】
【発明が解決しようとする課題】
【0005】
しかしながら、上記特許文献1に記載の技術は、旋光計のセルのみを管理対象部品としており、セル以外の旋光計本体に着脱可能に装着される複数の管理対象部品における管理情報と、旋光計の測定手段で測定した測定データとを結合させた履歴データを保管していないため、医薬品業界で要求される厳格なトレーサビリティを実現することは極めて困難である。
【0006】
本発明は、従来における前記諸問題を解決し、以下の目的を達成することを課題とする。即ち、本発明は、医薬品業界で要求される厳格なトレーサビリティを実現できる光学測定装置、光学測定装置のデータ管理方法、及び光学測定装置のデータ管理プログラムを提供することを目的とする。
【課題を解決するための手段】
【0007】
本発明が開示する光学測定装置は、光学測定装置の測定手段で試料の光学特性を測定した測定データと、光学測定装置本体に着脱可能に装着される複数の管理対象部品における管理情報とを結合させた履歴データを保管して利用・必要時には前記履歴データを追跡できる光学測定装置であって、
前記管理対象部品に取付けられ、前記管理対象部品の前記管理情報を記録するための記録手段と、
前記管理対象部品を前記光学測定装置本体に装着した時、又は前記管理対象部品を前記光学測定装置本体に装着して前記測定手段で測定する時に、前記記録手段に記録されている前記管理情報を読み取るための読取手段と、
読み取られた前記管理情報と、前記測定手段で測定した前記測定データとを結合させた履歴データを保管するための保管手段と、を有する。
【0008】
本発明の一態様において、複数の前記管理対象部品が、光学測定装置本体に着脱可能に装着される大部分の管理対象部品であり、光源、フィルタ、標準試料、セル、温度計及び付属品であることが好ましい。
【0009】
本発明の一態様において、前記管理情報が、管理対象部品の固有番号、管理対象部品の有効期限、管理対象部品の交換日時、管理対象部品の交換実施者、標準試料の校正情報、温度計の校正情報及びセルの校正情報から選択される少なくとも1つであることが好ましい。
【0010】
本発明の一態様において、前記記録手段が、一次元コード、二次元コード、RFIDタグ及びEEPROMのいずれかであることが好ましい。
(【0011】以降は省略されています)
この特許をJ-PlatPat(特許庁公式サイト)で参照する
関連特許
日本分光株式会社
赤外顕微鏡
1日前
日本分光株式会社
光学測定装置、光学測定装置のデータ管理方法、及び光学測定装置のデータ管理プログラム
1か月前
個人
計量スプーン
25日前
個人
微小振動検出装置
1か月前
株式会社イシダ
X線検査装置
1か月前
日本精機株式会社
位置検出装置
3日前
日本精機株式会社
位置検出装置
3日前
日本精機株式会社
位置検出装置
3日前
大和製衡株式会社
組合せ秤
8日前
大和製衡株式会社
組合せ秤
8日前
アズビル株式会社
圧力センサ
2日前
トヨタ自動車株式会社
表示装置
17日前
トヨタ自動車株式会社
検査装置
5日前
株式会社東芝
センサ
8日前
株式会社東芝
センサ
8日前
アンリツ株式会社
分光器
1か月前
ダイハツ工業株式会社
測定用具
29日前
エイブリック株式会社
磁気センサ回路
2日前
株式会社ユーシン
操作検出装置
5日前
アンリツ株式会社
分光器
1か月前
株式会社東芝
センサ
1か月前
株式会社ナリス化粧品
角層細胞採取用具
15日前
株式会社東芝
重量測定装置
1日前
株式会社ヨコオ
コンタクタ
29日前
TDK株式会社
ガスセンサ
1日前
TDK株式会社
ガスセンサ
1か月前
株式会社精工技研
光電圧プローブ
1か月前
TDK株式会社
磁気センサ
1か月前
TDK株式会社
ガスセンサ
2日前
株式会社カワタ
サンプリング装置
1か月前
東レエンジニアリング株式会社
計量装置
5日前
TDK株式会社
磁気センサ
25日前
個人
粘塑性を用いた有限要素法の定式化
17日前
大陽日酸株式会社
液面センサ
1か月前
TDK株式会社
磁気計測装置
16日前
株式会社関電工
検相器用治具
23日前
続きを見る
他の特許を見る