TOP
|
特許
|
意匠
|
商標
特許ウォッチ
Twitter
他の特許を見る
10個以上の画像は省略されています。
公開番号
2025131200
公報種別
公開特許公報(A)
公開日
2025-09-09
出願番号
2024028790
出願日
2024-02-28
発明の名称
使用済みフィルタ処理装置、使用済みフィルタ処理方法
出願人
トリニティ工業株式会社
代理人
個人
主分類
B09B
3/32 20220101AFI20250902BHJP(固体廃棄物の処理;汚染土壌の再生)
要約
【課題】使用済み段ボールフィルタを輸送しやすいコンパクトな状態に処理可能な使用済みフィルタ処理装置の提供。
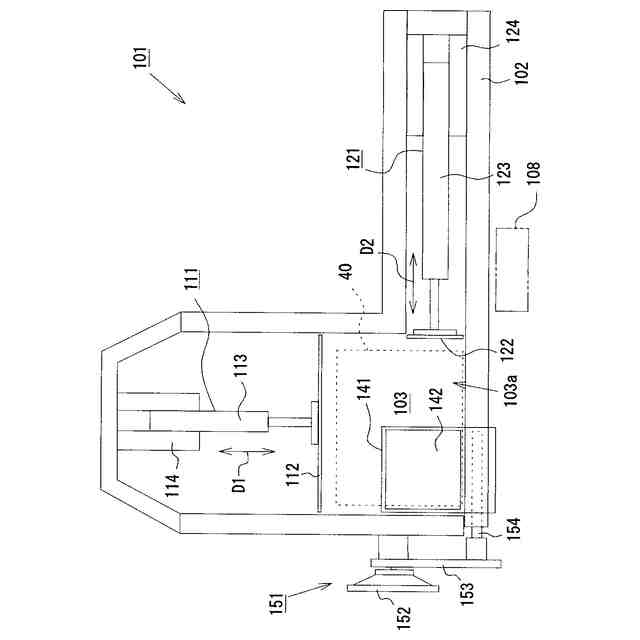
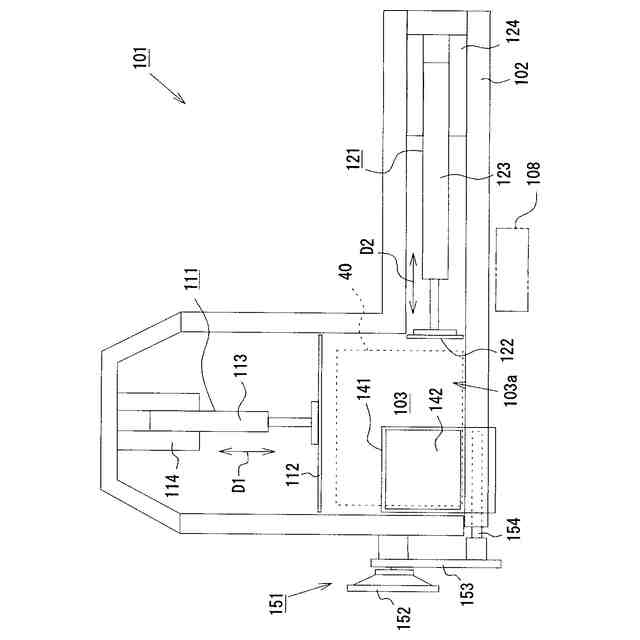
【解決手段】使用済みフィルタ処理装置101は、箱本体41の内部にフィルタエレメント52が設置された構造の使用済み段ボールフィルタ40を処理する。この装置101は、装置本体102と一段圧縮装置111と二段圧縮装置121とを備える。装置本体102は、段ボールフィルタ40が圧縮される圧縮エリア103を有する。一段圧縮装置111は、圧縮エリア103に配置された段ボールフィルタ40を第1方向D1に押圧し、相対的に潰れやすい箇所R2を圧縮する。二段圧縮装置121は、第1圧縮装置111による圧縮動作後に作動し、段ボールフィルタ40を第1方向D1に直交する第2方向D2に押圧し、相対的に潰れにくい箇所R1を圧縮する。
【選択図】図7
特許請求の範囲
【請求項1】
箱本体の内部にフィルタエレメントが設置された構造の段ボールフィルタを使用して塗料ミスト中の塗料粒子を除去した後の前記段ボールフィルタを処理する装置であって、
前記段ボールフィルタが圧縮される圧縮エリアを有する装置本体と、
前記圧縮エリアに配置された前記段ボールフィルタを第1方向に押圧して、前記段ボールフィルタの主として相対的に潰れやすい箇所を圧縮する一段圧縮装置と、
前記第1圧縮装置による圧縮動作後に作動し、前記段ボールフィルタを前記第1方向に直交する第2方向に押圧して、前記段ボールフィルタの主として相対的に潰れにくい箇所を圧縮する二段圧縮装置と
を備えたことを特徴とする使用済みフィルタ処理装置。
続きを表示(約 1,100 文字)
【請求項2】
前記一段圧縮装置及び前記二段圧縮装置の作動時には、前記一段圧縮装置が有する第1押圧板と、前記二段圧縮装置が有する第2押圧板とが空隙を隔てて近接配置された状態になるとともに、
前記第1押圧板及び前記第2押圧板のうちの少なくともいずれかには、前記空隙への前記段ボールフィルタの入り込みを防止する入込防止部材が、相手側の押圧板に対して非摺接の状態で設けられている
ことを特徴とする請求項1に記載の使用済みフィルタ処理装置。
【請求項3】
前記圧縮エリアの底面において前記段ボールフィルタの圧縮完了位置には、上側が開口した凹所を有する受取部が配置されていることを特徴とする請求項1に記載の使用済みフィルタ処理装置。
【請求項4】
前記圧縮エリアは、装置前面側に開放されており、
前記受取部は、傾動機構を作動させることによって装置前面側に傾動可能である
ことを特徴とする請求項3に記載の使用済みフィルタ処理装置。
【請求項5】
前記第1押圧板及び前記第2押圧板には、それらの進退方向に直交する方向へのずれを防止するためのガイド機構がそれぞれ設けられていることを特徴とする請求項2に記載の使用済みフィルタ処理装置。
【請求項6】
前記第2押圧板が有する前記ガイド機構は、前記第1押圧板が有する前記ガイド機構よりも数多く設けられていることを特徴とする請求項5に記載の使用済みフィルタ処理装置。
【請求項7】
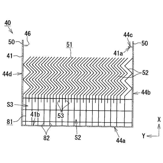
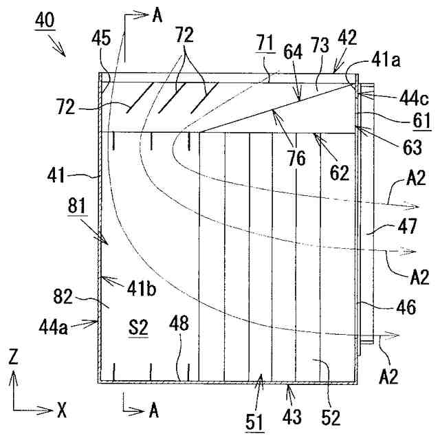
前記段ボールフィルタは、前記フィルタエレメントが相対的に密に設置されている第1室と、前記フィルタエレメントが相対的に疎に設置されているかあるいは前記フィルタエレメントが設置されていない第2室とを有し、
前記一段圧縮装置は、前記段ボールフィルタの前記第2室を押圧して圧縮し、
前記二段圧縮装置は、前記段ボールフィルタの前記第1室を押圧して圧縮する
ことを特徴とする請求項1乃至6のいずれか1項に記載の使用済みフィルタ処理装置。
【請求項8】
箱本体の内部にフィルタエレメントが設置された構造の段ボールフィルタを使用して塗料ミスト中の塗料粒子を除去した後の前記段ボールフィルタを処理する方法であって、
圧縮エリアに配置された前記段ボールフィルタを第1方向に押圧して、前記段ボールフィルタの主として相対的に潰れやすい箇所を圧縮する一段圧縮工程と、
前記一段圧縮工程の後、前記段ボールフィルタを前記第1方向に直交する第2方向に押圧して、前記段ボールフィルタの主として相対的に潰れにくい箇所を圧縮する二段圧縮工程と
を含むことを特徴とする使用済みフィルタ処理方法。
発明の詳細な説明
【技術分野】
【0001】
本発明は、使用済みフィルタ処理装置、使用済みフィルタ処理方法に関するものである。
続きを表示(約 1,800 文字)
【背景技術】
【0002】
塗装設備から排気される塗料ミストには塗料粒子が混じっているため、そのまま空気中に放出すべきではなく、フィルタによって塗料粒子を除去して浄化した後に空気中に放出する必要がある。この場合に用いる好適なフィルタとして、例えば、箱本体の内部にフィルタエレメントが設置された構造の段ボールフィルタが近年提案されている(例えば、特許文献1を参照)。
【先行技術文献】
【特許文献】
【0003】
特許第6895011号号公報
【発明の概要】
【発明が解決しようとする課題】
【0004】
ところで、塗装設備から出た使用済み段ボールフィルタは、再使用が不可能である(即ち使い捨てである)反面、可燃性材料である段ボールで形成されていることから、最終的には使用後に焼却処分される。従来においては、例えば、使用済み段ボールフィルタを解体せずに所定の処理施設に輸送し、汚水槽に入れて柔らかくしてから重機で粉砕した後、焼却している。
【0005】
しかしながら、従来の処理方法では、嵩高くて大型の使用済み段ボールフィルタをそのままの状態で処理施設に輸送しているため、輸送効率がよいとは言い難いものであった。また、処理施設に輸送した後、使用済み段ボールフィルタを汚水槽に入れて柔らかくしたり、柔らかくなった使用済み段ボールフィルタを重機で粉砕したりする必要があったため、工程数が多く作業が面倒であった。ここで、使用済み段ボールフィルタを処理施設への輸送前にコンパクトな状態にしておくことが望ましいが、従来そのための適当な手段は提案されていなかった。
【0006】
本発明は上記の課題に鑑みてなされたものであり、その目的は、使用済み段ボールフィルタを輸送しやすいコンパクトな状態に処理することが可能な使用済みフィルタ処理装置、使用済みフィルタ処理方法を提供することにある。
【課題を解決するための手段】
【0007】
上記課題を解決するために、手段1に記載の発明は、箱本体の内部にフィルタエレメントが設置された構造の段ボールフィルタを使用して塗料ミスト中の塗料粒子を除去した後の前記段ボールフィルタを処理する装置であって、前記段ボールフィルタが圧縮される圧縮エリアを有する装置本体と、前記圧縮エリアに配置された前記段ボールフィルタを第1方向に押圧して、前記段ボールフィルタの主として相対的に潰れやすい箇所を圧縮する一段圧縮装置と、前記第1圧縮装置による圧縮動作後に作動し、前記段ボールフィルタを前記第1方向に直交する第2方向に押圧して、前記段ボールフィルタの主として相対的に潰れにくい箇所を圧縮する二段圧縮装置とを備えたことを特徴とする使用済みフィルタ処理装置をその要旨とする。
【0008】
従って、手段1に記載の発明によれば、段ボールフィルタを第1方向に押圧する一段圧縮装置により、主として相対的に潰れやすい箇所が圧縮される。また、一段圧縮装置によりある程度圧縮された状態の段ボールフィルタを第2方向に押圧する二段圧縮装置により、相対的に潰れにくい箇所が圧縮される。つまり、2つの圧縮装置を用いて二段階に分けて圧縮動作を行うことにより、使用済み段ボールフィルタを輸送しやすいコンパクトな状態に処理することができる。このため、使用済み段ボールフィルタの輸送効率を向上させることができる。
【0009】
手段2に記載の発明は、手段1において、前記一段圧縮装置及び前記二段圧縮装置の作動時には、前記一段圧縮装置が有する第1押圧板と、前記二段圧縮装置が有する第2押圧板とが空隙を隔てて近接配置された状態になるとともに、前記第1押圧板及び前記第2押圧板のうちの少なくともいずれかには、前記空隙への前記段ボールフィルタの入り込みを防止する入込防止部材が、相手側の押圧板に対して非摺接の状態で設けられていることをその要旨とする。
【0010】
手段3に記載の発明は、手段1において、前記圧縮エリアの底面において前記段ボールフィルタの圧縮完了位置には、上側が開口した凹所を有する受取部が配置されていることをその要旨とする。
(【0011】以降は省略されています)
この特許をJ-PlatPat(特許庁公式サイト)で参照する
関連特許
トヨタ自動車株式会社
空箱処理装置
2か月前
トヨタ自動車株式会社
空箱処理装置
2か月前
ダイハツ工業株式会社
発酵システム
2か月前
株式会社クボタ
嫌気性処理方法
4か月前
花王株式会社
焼却灰の処理方法
1か月前
花王株式会社
焼却灰の処理方法
1か月前
トヨタ自動車株式会社
バイオ炭製造方法
1か月前
テクニカ合同株式会社
廃棄鶏の処理方法
1か月前
株式会社トクヤマ
石膏粒体のか焼方法
1か月前
株式会社シーパーツ
自動車解体破砕方法
14日前
株式会社マクニカ
乾熱減容処理装置
2か月前
清水建設株式会社
汚染拡散防止構造
1か月前
学校法人東京農業大学
メタンガスの製造方法
2か月前
清水建設株式会社
加熱井戸の設置方法
1か月前
鹿島建設株式会社
土壌の浄化方法
2か月前
株式会社LIXIL
汚物処理装置
18日前
株式会社クボタ
メタン発酵装置およびメタン発酵処理方法
4か月前
極東開発工業株式会社
廃棄物処理装置
3か月前
国立大学法人東北大学
重金属の不溶化方法
19日前
トヨタ自動車株式会社
乾燥処理装置
2か月前
九電産業株式会社
樹脂複合製品の製造方法
1か月前
株式会社大林組
有機フッ素化合物の浄化方法
3か月前
王子ホールディングス株式会社
ベールの製造方法
12日前
株式会社神鋼環境ソリューション
メタン発酵装置、及び、メタン発酵方法
11日前
株式会社トクヤマ
廃石膏ボードから紙片と石膏粒体を回収する方法
1か月前
光宇應用材料股ふん有限公司
環境にやさしい低炭素二酸化ケイ素の製造方法
1か月前
個人
フォーミング生成抑制材の製造方法及び廃タイヤのリサイクル処理方法
2か月前
トヨタ自動車株式会社
電池の処理方法および電池の処理システム
3か月前
JFEエンジニアリング株式会社
焼却灰処理システム
22日前
太平洋セメント株式会社
重金属類不溶化材及び固化不溶化処理方法
2か月前
トリニティ工業株式会社
使用済みフィルタ処理装置、使用済みフィルタ処理方法
1か月前
株式会社宮原機工
有機物並びに有機廃棄物の炭化装置
19日前
東洋建設株式会社
遮水構造体の施工方法及び圧着機
2か月前
川崎重工業株式会社
焼却灰の骨材化システムおよび骨材化方法
1か月前
川崎重工業株式会社
焼却灰の骨材化システムおよび骨材化方法
1か月前
株式会社クボタ
水銀含有廃棄物の処理方法および水銀含有廃棄物の処理システム
4か月前
続きを見る
他の特許を見る