TOP
|
特許
|
意匠
|
商標
特許ウォッチ
Twitter
他の特許を見る
公開番号
2025121804
公報種別
公開特許公報(A)
公開日
2025-08-20
出願番号
2024042891
出願日
2024-02-07
発明の名称
乳ガン診断用乳房膨張カップ
出願人
個人
代理人
主分類
A61B
6/04 20060101AFI20250813BHJP(医学または獣医学;衛生学)
要約
【課題】 従来の乳ガンの診断方法として、マンモグラフイ、超音波検査なとがあるが、これに加えて、横方向から、目視診断とレントゲン撮影も可能にして、立体的に診断し、乳ガン診断が多角的、且、適確に行えるようにすることを目的とする。
【解決手段】乳房カップを乳房に被せ、真空状態にして、乳房を前方に向けて膨らませ、乳ガン診断が、多角的、且、確実にできるようにして解決した。
【選択図】図1
特許請求の範囲
【請求項1】
透明のプラスチックで頂部に空気抜きを設けた、フランジ付きの乳房カップを形成し、また、薄いプラスチック板で、内径が、フランジの付け根まで通ると共に、外径は、フランジより大径で、つまみ付きのフランジ押さえを形成し、且、フラジ押さえの片側全面に、医療用接着剤を塗付すると共に、に、フランジ押さえの外径と同径でつまみ付きの接着剤当てを油紙で形成し、而して、フランジ押さえを乳房カップの上側から通して、フランジの裏側に接着し、該医療用接着剤面に、接着剤当てを貼り付けたことを特徴とする乳ガン診断用乳房膨張カップ。
発明の詳細な説明
【技術分野】
【0001】
本発明は、乳ガン診断用乳房膨張カップに関する。
続きを表示(約 1,400 文字)
【背景技術】
【0002】
従来、乳ガンの診断方法として、マンモグラフイ、超音波検査なとがあるが、立体的に診断する方法はなかった。
【発明の概要】
【発明が解決しようとする課題】
【0003】
本発明は、従来の診断方法に加えて、立体的に診断し、乳ガン診断が、多角的、且、確実に行えるようにすることを目的とする。
【課題を解決するための手段】
【0004】
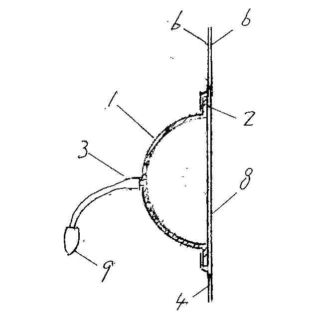
本発明の実施例を図について説明すると、透明のプラスチックで頂部に空気抜き3を設けた、フランジ2付きの乳房カップ1を形成し、また、薄いプラスチック板で、内径が、フランジ2の付け根まで通ると共に、外径は、フランジ2より大径で、つまみ6付きのフランジ押さえ4を形成し、且、フランジ押さえ4の片側全面に、医療用接着剤7を塗付すると共に、フランジ押さえ4の外径と同径で、つまみ6付きの接着剤当て8を油紙で形成し、而して、フランジ押さえ4を乳房カップ1の上側から通して、フランジ2の裏側に接着し、該医療用接着剤7面に、接着剤当て8を貼り付けたものである。
なお、本発明を、大、中、小型を製作し、各人に、適するものを使用するよにしたがよい。また、乳房回りになじむように、乳房カップ1を弾性を持った材料で形成したがよい。
【発明の効果】
【0005】
本発明は上記のように構成したので、乳ガン検診時は、先ず、接着剤当て8を外し、フランジ2を乳房回りに当て、フランジ押さえ4を押さえて乳房回りに密着すれば、乳房カップ1の気密性は、保持されるので、手動空気抜き9で空気を抜けば、真空状態になる。
その効果で、垂れ乳、小乳でも、乳房カップ1内で前向きの膨張状態になる。また、垂れず、豊かな乳房でも、乳房カップ1内で膨張状態になると共に今より前向きになる。
したがつて、目視診断が可能であると共に、レントゲンも横方向から撮影でるので、従来の診断方法に本発明の診断方法を加えれば、立体的に診断でき、今より、多角的、且、的確な診断をすることができる。
なお、診断完了後は、フランジ押さえ4のつまみ6持って、乳房カップ1を外し、肌に付着した医療用接着剤7を拭きとつて清浄にする。
【図面の簡単な説明】
【0006】
図2の線A-Aの縦断正面図
図1の右側面図
フランジ押さえ4の正面図
図3の側面図
接着剤当て8の正面図
図5の側面図
【発明を実施するための形態】
【0007】
1は頂部に空気抜き3を設けたフランジ2付きの乳房カップ。4はフランジ2の付け根まで通り、外径はフランジ2の外径より大径の、つまみ6付きのフランジ押さえで、該フランジ押さえ4の片側全面に、医療用接着剤7を塗付して、乳房カップ1の上側から通してフランジ2に接着し、而して、医療用接着剤7に、接着剤当て8を貼り付け、乳ガン検診時に、該接着剤当て8を外して、フランジ押さえ4を、乳房回りの肌に密着するようにしている。
【符号の説明】
【0008】
1 乳房カップ
2 フランジ
3 空気抜き
4 フランジ押さえ
5 乳
6 つまみ
7 医療用接着剤
8 接着剤当て
9 手動空気抜き
この特許をJ-PlatPat(特許庁公式サイト)で参照する
関連特許
個人
短下肢装具
2か月前
個人
前腕誘導装置
2か月前
個人
洗井間専家。
6か月前
個人
嚥下鍛錬装置
3か月前
個人
胸骨圧迫補助具
1か月前
個人
歯の修復用材料
3か月前
個人
アイマスク装置
1か月前
個人
汚れ防止シート
11日前
個人
バッグ式オムツ
3か月前
個人
矯正椅子
4か月前
個人
ホバーアイロン
6か月前
個人
歯の保護用シール
4か月前
個人
湿布連続貼り機。
1か月前
個人
陣痛緩和具
3か月前
個人
シャンプー
5か月前
個人
哺乳瓶冷まし容器
2か月前
個人
エア誘導コルセット
1か月前
株式会社八光
剥離吸引管
4か月前
個人
性行為補助具
2か月前
個人
治療用酸化防御装置
29日前
株式会社大野
骨壷
3か月前
株式会社ニデック
眼科装置
23日前
株式会社コロナ
サウナ装置
5か月前
個人
形見の製造方法
3か月前
株式会社ダリヤ
毛髪化粧料
21日前
株式会社松風
口腔用組成物
3か月前
株式会社ニデック
眼科装置
3か月前
株式会社ニデック
検眼装置
3か月前
株式会社ニデック
眼科装置
今日
個人
手指運動ツール
1か月前
個人
精力増強キット
15日前
個人
高気圧環境装置
4か月前
株式会社GSユアサ
歩行器
4か月前
株式会社ニデック
眼科装置
23日前
個人
シリンダ式歩行補助具
2か月前
個人
水素ガス吸引装置
5か月前
続きを見る
他の特許を見る