TOP
|
特許
|
意匠
|
商標
特許ウォッチ
Twitter
他の特許を見る
公開番号
2025122569
公報種別
公開特許公報(A)
公開日
2025-08-21
出願番号
2024018161
出願日
2024-02-08
発明の名称
摩擦撹拌接合装置および摩擦撹拌接合方法
出願人
リョービ株式会社
代理人
弁理士法人海田国際特許事務所
主分類
B23K
20/12 20060101AFI20250814BHJP(工作機械;他に分類されない金属加工)
要約
【課題】摩擦撹拌接合後に内径受け治具の取外しを容易にする。
【解決手段】中空円筒状の第1被接合部材11と、中空円筒状であって少なくとも第1被接合部材11の内径と略同一又はそれ以下の内径を有する第2被接合部材12とを接合箇所20で摩擦撹拌接合する摩擦撹拌接合装置10であって、第2被接合部材12の内径よりも小径である外周面を有し、少なくとも第2被接合部材12の円筒内面の一部を支持する内径受け治具13と、第1被接合部材11および第2被接合部材12を回転駆動させる被接合部材回転機構14と、内径受け治具13を回転可能とする内径受け治具回転機構15と、接合箇所20に回転しながら当接することで接合箇所20に摩擦力を加えるプローブ16とを備え、内径受け治具13の回転軸を、第1被接合部材11および第2被接合部材12の回転軸に対し、プローブ16側に偏心させる。
【選択図】図5
特許請求の範囲
【請求項1】
中空円筒状の第1被接合部材と、
中空円筒状であって、少なくとも前記第1被接合部材の内径と略同一又はそれ以下の内径を有する第2被接合部材と、
を接合箇所で摩擦撹拌接合する摩擦撹拌接合装置であって、
前記第2被接合部材の内径よりも小径である外周面を有し、少なくとも前記第2被接合部材の円筒内面の一部を支持する内径受け治具と、
前記第1被接合部材および前記第2被接合部材を回転駆動させる被接合部材回転機構と、
前記内径受け治具を回転可能とする内径受け治具回転機構と、
前記接合箇所に回転しながら当接することで前記接合箇所に摩擦力を加えるプローブと、
を備え、
少なくとも前記第2被接合部材の円筒内面の一部を前記内径受け治具で支持した状態で、前記プローブを前記接合箇所に回転させながら当接するとともに、前記第1被接合部材および前記第2被接合部材並びに前記内径受け治具が前記プローブの回転軸と異なる向きの回転軸を中心に回転することで前記接合箇所を摩擦撹拌接合するときに、
前記内径受け治具の回転軸が、前記第1被接合部材および前記第2被接合部材の回転軸に対し、前記プローブ側に偏心していることを特徴とする摩擦撹拌接合装置。
続きを表示(約 930 文字)
【請求項2】
請求項1に記載の摩擦撹拌接合装置であって、
前記内径受け治具における回転軸の偏心寸法をL、前記内径受け治具の直径をRとしたときに、
0.001≦L/R≦0.005
なる不等式が成立するように、前記内径受け治具の回転軸が前記第1被接合部材および前記第2被接合部材の回転軸に対し偏心していることを特徴とする摩擦撹拌接合装置。
【請求項3】
請求項1又は2に記載の摩擦撹拌接合装置であって、
前記内径受け治具は、前記内径受け治具回転機構により自由回転することを特徴とする摩擦撹拌接合装置。
【請求項4】
請求項1又は2に記載の摩擦撹拌接合装置であって、
前記内径受け治具は、前記内径受け治具回転機構により回転駆動されることを特徴とする摩擦撹拌接合装置。
【請求項5】
中空円筒状の第1被接合部材と、
中空円筒状であって、少なくとも前記第1被接合部材の内径と略同一又はそれ以下の内径を有する第2被接合部材と、
を接合箇所で接合する摩擦撹拌接合方法であって、
前記第2被接合部材の内径よりも小径である外周面を有し、少なくとも前記第2被接合部材の円筒内面の一部を支持する内径受け治具と、
前記第1被接合部材および前記第2被接合部材を回転駆動させる被接合部材回転機構と、
前記内径受け治具を回転可能とする内径受け治具回転機構と、
前記接合箇所に回転しながら当接することで前記接合箇所に摩擦力を加えるプローブと、
を備えた摩擦撹拌接合装置を用いて、
少なくとも前記第2被接合部材の円筒内面の一部を前記内径受け治具で支持した状態で、前記プローブを前記接合箇所に回転させながら当接させ、前記第1被接合部材および前記第2被接合部材並びに前記内径受け治具を前記プローブの回転軸と異なる向きの回転軸を中心に回転させるとともに、
前記内径受け治具の回転軸を、前記第1被接合部材および前記第2被接合部材の回転軸に対し、前記プローブ側に偏心させた状態で前記内径受け治具を回転させることを特徴とする摩擦撹拌接合方法。
発明の詳細な説明
【技術分野】
【0001】
本発明は、摩擦撹拌接合装置および摩擦撹拌接合方法に関するものである。
続きを表示(約 1,900 文字)
【背景技術】
【0002】
自動車等の駆動に用いられるモーターは発熱量が大きいため、一般に、冷却装置を設けることで発熱を抑えている。モーターの冷却装置としては、モーターの外周に設置される中空円筒状のモーターケース内部に、冷却空気又は冷却水を流すための空間である冷却回路を設けたものがある。このモーターケースは、例えば、径が異なる2つの中空円筒状の被接合部材同士を、径方向に隙間を設けた状態で嵌合させ、接合箇所を接合することにより形成される。
【0003】
ここで、2つの中空円筒状の被接合部材を接合箇所で接合させる技術として、摩擦撹拌接合が公知である。例えば、下記特許文献1には、2つの中空円筒状の被接合部材に設けられた接合箇所に、プローブを回転状態で当接し、接合箇所を摩擦熱で軟化させて撹拌しながら、プローブを中空円筒の円周方向に沿って移動させることにより接合箇所を接合する摩擦撹拌接合方法が開示されている。
【先行技術文献】
【特許文献】
【0004】
特開2003-112272号公報
【発明の概要】
【発明が解決しようとする課題】
【0005】
しかしながら、上記方法のようにプローブを接合箇所に比較的大きな力で当接させた場合、被接合部材の円筒形状に歪みが生じる虞がある。そこで、本発明者らは、2つの被接合部材の外周面に設けられた接合箇所の反面に、被接合部材を支持する受け治具を設置することにより、中空円筒状の被接合部材を、その形状を保ちながら摩擦撹拌接合させる方法を着想した。しかしながら、受け治具の形状によっては、摩擦撹拌接合後に受け治具が取外しづらいという課題があった。
【0006】
本発明は、上述した課題に鑑みて成されたものであって、その目的は、摩擦撹拌接合後に受け治具の取外しが容易な摩擦撹拌接合装置およびそれを用いた摩擦撹拌接合方法を提供することにある。
【課題を解決するための手段】
【0007】
以下、本発明について説明する。なお、本発明の理解を容易にするために添付図面の参照番号を括弧書きにて付記するが、それにより本発明が図示の形態に限定されるものではない。
【0008】
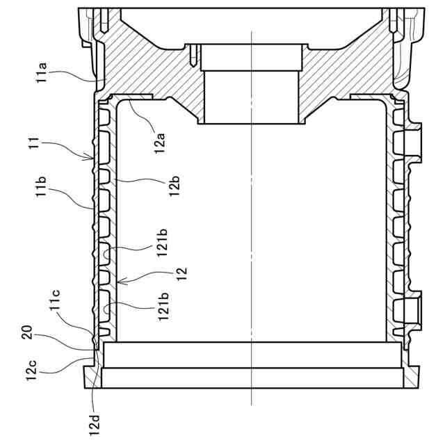
本発明に係る摩擦撹拌接合装置(10)は、中空円筒状の第1被接合部材(11)と、中空円筒状であって、少なくとも前記第1被接合部材(11)の内径と略同一又はそれ以下の内径を有する第2被接合部材(12)と、を接合箇所(20)で摩擦撹拌接合する摩擦撹拌接合装置(10)であって、前記第2被接合部材(12)の内径よりも小径である外周面を有し、少なくとも前記第2被接合部材(12)の円筒内面の一部を支持する内径受け治具(13)と、前記第1被接合部材(11)および前記第2被接合部材(12)を回転駆動させる被接合部材回転機構(14)と、前記内径受け治具(13)を回転可能とする内径受け治具回転機構(15)と、前記接合箇所(20)に回転しながら当接することで前記接合箇所(20)に摩擦力を加えるプローブ(16)と、を備え、少なくとも前記第2被接合部材(12)の円筒内面の一部を前記内径受け治具(13)で支持した状態で、前記プローブ(16)を前記接合箇所(20)に回転させながら当接するとともに、前記第1被接合部材(11)および前記第2被接合部材(12)並びに前記内径受け治具(13)が前記プローブ(16)の回転軸と異なる向きの回転軸を中心に回転することで前記接合箇所(20)を摩擦撹拌接合するときに、前記内径受け治具(13)の回転軸が、前記第1被接合部材(11)および前記第2被接合部材(12)の回転軸に対し、前記プローブ(16)側に偏心していることを特徴とするものである。
【0009】
本発明に係る摩擦撹拌接合装置(10)において、前記内径受け治具(13)における回転軸の偏心寸法をL、前記内径受け治具(13)の直径をRとしたときに、
0.001≦L/R≦0.005
なる不等式が成立するように、前記内径受け治具(13)の回転軸が前記第1被接合部材(11)および前記第2被接合部材(12)の回転軸に対し偏心していることが好適である。
【0010】
また、本発明に係る摩擦撹拌接合装置(10)において、前記内径受け治具(13)は、前記内径受け治具回転機構(15)により自由回転する構成とすることができる。
(【0011】以降は省略されています)
この特許をJ-PlatPat(特許庁公式サイト)で参照する
関連特許
リョービ株式会社
ダイカスト品のガス量推定方法
27日前
リョービ株式会社
機械的特性予測方法および機械的特性予測装置
8日前
リョービ株式会社
金属製部材の接合方法及び金属製部材の接合体
27日前
個人
タップ
6か月前
個人
フライス盤
1か月前
個人
加工機
5か月前
麗豊実業股フン有限公司
ラクトバチルス・パラカセイNB23菌株及びそれを筋肉量の増加や抗メタボリック症候群に用いる用途
5か月前
日東精工株式会社
ねじ締め機
5か月前
株式会社北川鉄工所
回転装置
4か月前
株式会社不二越
ドリル
5か月前
日東精工株式会社
ねじ締め機
1か月前
日東精工株式会社
ねじ締め機
2か月前
日東精工株式会社
ねじ締め機
28日前
日東精工株式会社
ねじ締め装置
1か月前
日東精工株式会社
ねじ締め装置
4か月前
ダイニチ工業株式会社
配膳治具
2日前
株式会社ダイヘン
溶接電源装置
3か月前
株式会社ダイヘン
溶接電源装置
3か月前
株式会社ダイヘン
溶接電源装置
3か月前
株式会社FUJI
工作機械
27日前
株式会社FUJI
工作機械
4か月前
株式会社FUJI
工作機械
4か月前
個人
切削油供給装置
2か月前
株式会社FUJI
工作機械
1か月前
株式会社富田製作所
支持構造
7日前
キヤノン電子株式会社
加工システム
2か月前
株式会社ダイヘン
多層盛り溶接方法
6か月前
中国電力株式会社
養生シート
21日前
株式会社アンド
半田付け方法
5か月前
株式会社アンド
半田付け方法
1か月前
日進工具株式会社
エンドミル
6か月前
個人
型枠製造装置のフレーム
1か月前
エフ・ピー・ツール株式会社
リーマ
6か月前
株式会社アンド
半田付け方法
5か月前
大見工業株式会社
ドリル
3か月前
株式会社ツガミ
工作機械
2か月前
続きを見る
他の特許を見る