TOP
|
特許
|
意匠
|
商標
特許ウォッチ
Twitter
他の特許を見る
10個以上の画像は省略されています。
公開番号
2025123142
公報種別
公開特許公報(A)
公開日
2025-08-22
出願番号
2024019051
出願日
2024-02-11
発明の名称
起立機構付き傾斜姿勢可能装置
出願人
個人
代理人
主分類
A61G
5/14 20060101AFI20250815BHJP(医学または獣医学;衛生学)
要約
【課題】起立または歩行に障害を有する人が、座位から起立状態に移行し、起立状態で傾斜姿勢となることを可能とする。
【解決手段】装置は、回転部1と回転部を支持する土台2を有し、回転部1は、ユーザーを固定する固定部18と、固定部18を駆動するアクチュエーター14と、座位時には座面を有し起立時には座面を有しない機構と、を有し、土台2は、回転可能に回転部1と接続され、回転部1が倒れないようにする支持部材22と、土台脚部材23と、を有する。
【選択図】図5C
特許請求の範囲
【請求項1】
起立または歩行に障害を有する人が傾斜姿勢をとるための装置であって、
前記装置は、回転部と前記回転部を支持する土台を有し、
前記回転部は、
ユーザーを固定する固定部を有し、
前記土台は、
前記回転部と回転可能に接続され、
前記回転部が倒れないようにする支持部材
を有する
ことを特徴とする装置。
続きを表示(約 540 文字)
【請求項2】
前記回転部は、
前記固定部を駆動するアクチュエーターを有する
ことを特徴とする請求項1に記載の装置。
【請求項3】
前記回転部は、
前記固定部が椅子の背もたれの略位置にあるときは座面部を有し、
前記固定部が起立時胸部の略位置にあるときは前記座面部が隠れる機構を有する、
ことを特徴とする請求項1又は2に記載の装置。
【請求項4】
前記土台は、
ユーザーの正面方向を長手方向とする土台脚部材を有する
ことを特徴とする請求項1~3に記載の装置。
【請求項5】
前記支持部材は、
角度調整機構を有する
ことを特徴とする請求項1~4のいずれか一項に記載の装置。
【請求項6】
前記固定部は、
磁力のONとOFFを切り替える機構を有する
ことを特徴とする請求項1~5のいずれか一項に記載の装置。
【請求項7】
前記回転部は、
地面方向に押し当てる部材と、
前記押し当てる部材を駆動するアクチュエーターと、
を有する
ことを特徴とする請求項1~6のいずれか一項に記載の装置。
発明の詳細な説明
【技術分野】
【0001】
本発明は、起立または歩行に障害を有する人が、起立した状態で傾斜した姿勢をとることを可能にする装置に関する。
続きを表示(約 2,300 文字)
【背景技術】
【0002】
従来技術として、障害者を座位から立位に姿勢を変更する車いすが知られている。例えば、特許文献1参照。
【0003】
また、障害者が起立した状態での移動を可能にする機器として特許文献2が知られている。
【先行技術文献】
【特許文献】
【0004】
米国特許第7151778 B2
日本国特許第5259629
【発明の概要】
【発明が解決しようとする課題】
【0005】
一般に、立位を可能とする車いすにおいて、立位を維持するための支持点は、ユーザーの足元周辺にある。そのため、立位時にユーザーの姿勢が前方に傾くと、重心が支持点に対して前方にある状態になり、ユーザーは車いすごと前方に転倒する危険性がある。そこで、かかる車いすは立位時に転倒しないようにするため、立位時の人体固定部は、完全な直立ではなく、ユーザーから見て背中側に少し角度を傾けて設計されており、ユーザーは前傾姿勢にならないように固定されている。
また、立位状態の車いすで移動をすることは、転倒の危険性が高い。例えば、立位状態で車いすが一定速度で進んでいるときに、ブレーキをかけると、前方に転倒する危険性がある。
【0006】
特許文献2の装置では、胸部の固定部は傾くことができないため、ユーザーは装置に固定された後、傾斜した姿勢をとることができない。また、特許文献2に記載の機器は、リハビリを目的とした移動は可能であるが、障害者が日常生活で要求される移動に用いることには適していない。
【0007】
本願は、上述のような課題を解決するためになされたもので、回転部および回転部を支持する土台を有する構成により、障害者は起立動作および起立状態での傾斜姿勢をとることを可能とする。また、起立状態で傾斜姿勢をとることで、杖をついて日常生活での移動することを可能とする。
【課題を解決するための手段】
【0008】
本願に開示される装置は、回転部と回転部を支持する土台を有し、回転部は、ユーザーを固定する固定部を有し、回転部を支持する土台は、回転部と回転可能に接続され、回転部が倒れないようにする支持部材を有することを特徴とする。
【発明の効果】
【0009】
本願に開示される装置によれば、障害者が座位から起立状態に移行し、起立状態で傾斜姿勢をとることを可能とする。
【図面の簡単な説明】
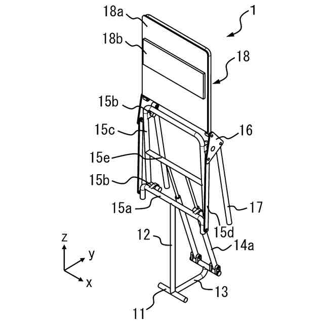
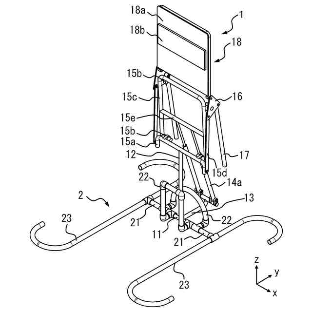
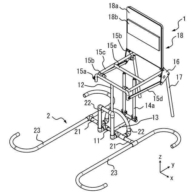
【0010】
実施形態1における装置が座位状態の斜視図
実施形態1における装置が立位状態の斜視図
実施形態1における装置の回転部の斜視図
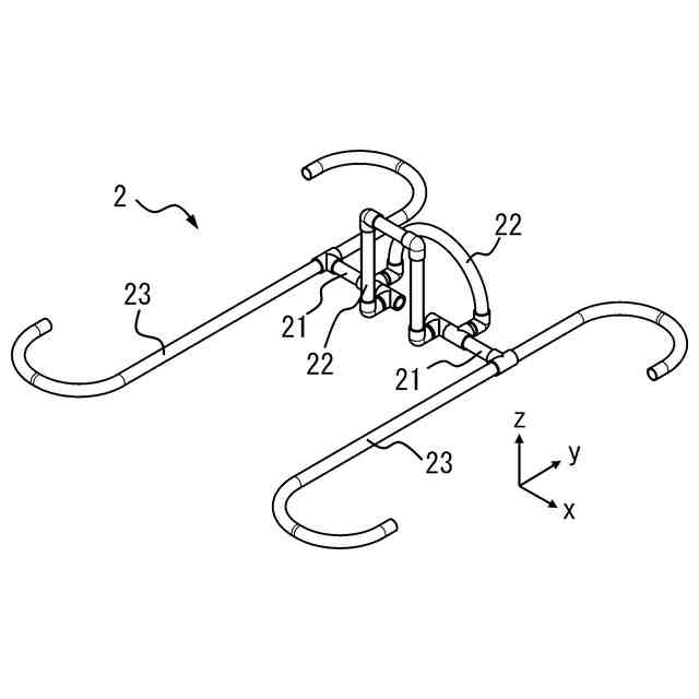
実施形態1における装置の土台の斜視図
実施形態1における装置の杖を取付ける部分の斜視図
実施形態1における、ユーザーが座位状態の側面図
実施形態1における、ユーザーが立位状態の側面図
実施形態1における、ユーザーが傾斜姿勢の側面図
実施形態1における、ユーザーが座位状態の斜視図
実施形態1における、ユーザーが立位状態の斜視図
実施形態1における、ユーザーが傾斜姿勢の斜視図
本発明の移動原理を表した図
実施形態2における装置が座位状態の斜視図
実施形態2における装置が立位状態の斜視図
実施形態2における装置が座位状態の側面図
実施形態2における装置が立位状態の側面図
実施形態2における装置の固定部の斜視図
実施形態3における装置が床面状態の後ろ斜視図
実施形態3における装置が座位状態の後ろ斜視図
実施形態3における装置が立位状態の後ろ斜視図
実施形態3における装置が床面状態の背面図
実施形態3における装置が座位状態の背面図
実施形態3における装置が立位状態の背面図
実施形態3における装置の詳細箇所を説明する背面図
実施形態3における、スライド後のボルト押し当て部材を下から見た図
実施形態3における、スライド前のボルト押し当て部材を下から見た図
実施形態3における、スライド後のボルト押し当て部材の側面図
実施形態3における、スライド前のボルト押し当て部材の側面図
実施形態3における、ユーザーが床面状態の側面図
実施形態3における、ユーザーが座位状態の側面図
実施形態3における、ユーザーが立位状態の側面図
実施形態3における、ユーザーが床面状態の斜視図
実施形態3における、ユーザーが座位状態の斜視図
実施形態3における、ユーザーが立位状態の斜視図
実施形態4における、土台の支持部材の角度を変えたときの斜視図
実施形態4における、土台の支持部材の角度を変えたときの側面図
実施形態5における装置が通常状態の斜視図
実施形態5における装置が地面押し当て部材を押し込んだ状態の斜視図
実施形態5における装置が通常状態の側面図
実施形態5における装置が地面押し当て部材を押し込んだ状態の側面図
実施形態5の装置が階段に寄りかかっている斜視図
実施形態5の装置が地面押し当て部材を伸ばして階段を登る斜視図
実施形態5の装置が階段に寄りかかっている側面図
実施形態5の装置が地面押し当て部材を伸ばして階段を登る側面図
【発明を実施するための形態】
(【0011】以降は省略されています)
この特許をJ-PlatPat(特許庁公式サイト)で参照する
関連特許
個人
短下肢装具
2か月前
個人
嚥下鍛錬装置
3か月前
個人
前腕誘導装置
2か月前
個人
洗井間専家。
6か月前
個人
ホバーアイロン
6か月前
個人
汚れ防止シート
13日前
個人
胸骨圧迫補助具
1か月前
個人
歯の修復用材料
3か月前
個人
アイマスク装置
1か月前
個人
矯正椅子
4か月前
個人
バッグ式オムツ
3か月前
個人
歯の保護用シール
4か月前
個人
陣痛緩和具
3か月前
個人
哺乳瓶冷まし容器
2か月前
個人
シャンプー
5か月前
個人
湿布連続貼り機。
1か月前
株式会社大野
骨壷
3か月前
個人
治療用酸化防御装置
1か月前
個人
エア誘導コルセット
1か月前
株式会社八光
剥離吸引管
4か月前
個人
性行為補助具
2か月前
株式会社ダリヤ
毛髪化粧料
23日前
株式会社GSユアサ
歩行器
4か月前
株式会社ニデック
検眼装置
3か月前
個人
シリンダ式歩行補助具
2か月前
個人
高気圧環境装置
4か月前
個人
精力増強キット
17日前
株式会社ニデック
眼科装置
2日前
個人
形見の製造方法
3か月前
株式会社ニデック
眼科装置
3か月前
個人
手指運動ツール
1か月前
株式会社ニデック
眼科装置
25日前
株式会社ニデック
眼科装置
25日前
株式会社コロナ
サウナ装置
5か月前
株式会社松風
口腔用組成物
3か月前
東ソー株式会社
歯科ブランク
4か月前
続きを見る
他の特許を見る