TOP
|
特許
|
意匠
|
商標
特許ウォッチ
Twitter
他の特許を見る
公開番号
2025123161
公報種別
公開特許公報(A)
公開日
2025-08-22
出願番号
2024030739
出願日
2024-02-10
発明の名称
固定補助具
出願人
個人
代理人
主分類
B25B
23/10 20060101AFI20250815BHJP(手工具;可搬型動力工具;手工具用の柄;作業場設備;マニプレータ)
要約
【課題】インパクトドライバーに取り付けたビスが、回転の勢いでビス穴からずれたり斜めに入ったりすることを防ぐ固定補助具を提供する。
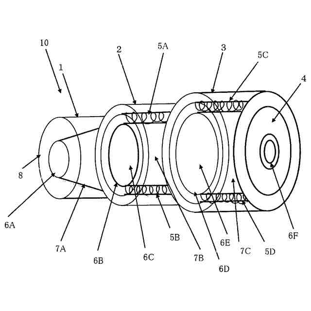
【解決手段】固定補助具10は、インパクトドライバーでビス止めする際に、当該インパクトドライバーへのビスの固定を補助するための固定補助具である。また、固定補助具10は、先端側から基端側に向かって、第1の筒体1と、第2の筒体2と、第3の筒体3と、が連なって構成されており、第1の筒体1と、第2の筒体2と、第3の筒体3と、はそれぞれ内部が空洞で、かつ、先端側と基端側にそれぞれ貫通孔6A~6Fを有しており、第1の筒体1は第2の筒体2よりも一回り小さく、第2の筒体2は第3の筒体3よりも一回り小さく、第1の筒体1はバネ5A,5Bで第2の筒体2に連結されており、第2の筒体2はバネ5C,5Dで第3の筒体3に連結されている。
【選択図】図1
特許請求の範囲
【請求項1】
インパクトドライバーでビス止めする際に、当該インパクトドライバーへのビスの固定を補助するための固定補助具であり、
先端側から基端側に向かって、第1の筒体と、第2の筒体と、第3の筒体と、が連なって構成されており、
前記第1の筒体と、前記第2の筒体と、前記第3の筒体と、はそれぞれ内部が空洞で、かつ、先端側と基端側にそれぞれ貫通孔を有しており、
前記第1の筒体は前記第2の筒体よりも一回り小さく、前記第2の筒体は前記第3の筒体よりも一回り小さく、
前記第1の筒体はバネで前記第2の筒体に連結されており、前記第2の筒体はバネで前記第3の筒体に連結されている固定補助具。
続きを表示(約 95 文字)
【請求項2】
前記第1の筒体の先端側の貫通孔に滑り止めが設けられており、
前記第3の筒体の基端側の貫通孔周辺にベアリングが設けられている請求項1に記載の固定補助具。
発明の詳細な説明
【技術分野】
【0001】
本発明は、インパクトドライバーでビス止めする際に、当該インパクトドライバーへのビスの固定を補助するための固定補助具に関する。
続きを表示(約 1,500 文字)
【背景技術】
【0002】
多くの人が、工事現場やDIYなどで、インパクトドライバーを使っている。インパクトドライバーは、衝撃を加えながら力強くビスを締め付けることができるため、非常に便利な工具である。
【0003】
また、発明者の学校の課題研究でも、作業の際に、インパクトドライバーを使うことがよくある。例えば、発明者は、ものづくりコンテスト(電気工事部門)の課題研究で、作品の解体作業や製作作業などを行った。この課題研究では、作業の際にインパクトドライバーを使ってアウトレットボックスやランプレセプタクルなどの器具を、正確な位置に壁板にビス止めしていった。しかし、その際に、インパクトドライバーに取り付けたビスが、回転の勢いでビス穴からずれたり斜めに入ったりすることがあった。
【0004】
そのため、ビスを打ち込みやすくするために、インパクトドライバー用のビスを固定する補助具(ビス止め固定補助具)が求められている。
また、これに関連する先行技術として、特許文献1に記載の発明がある。特許文献1には、ドリル取付治具やドリル装置形成機構、およびドリル装置が記載されている。
【先行技術文献】
【特許文献】
【0005】
特開2016-221594号公報
【発明が解決しようとする課題】
【0006】
しかし、特許文献1に記載のドリル取付治具などは、ドリルを取り付けるための治具であるため、インパクトドライバーに応用することはできない。よって、特許文献1に記載のドリル取付治具などでは、前述したように、インパクトドライバーに取り付けたビスが、回転の勢いでビス穴からずれたり斜めに入ったりすることを防ぐことはできない。
従って、本発明は、インパクトドライバーに取り付けたビスが、回転の勢いでビス穴からずれたり斜めに入ったりすることを防ぐ固定補助具を提供することを目的とする。
【課題を解決するための手段】
【0007】
本発明は、インパクトドライバーでビス止めする際に、当該インパクトドライバーへのビスの固定を補助するための固定補助具(インパクトドライバー用ビス止め固定補助具)である。また、固定補助具は、先端側から基端側に向かって、第1の筒体と、第2の筒体と、第3の筒体と、が連なって構成されており、第1の筒体と、第2の筒体と、第3の筒体と、はそれぞれ内部が空洞で、かつ、先端側と基端側にそれぞれ貫通孔を有しており、第1の筒体は第2の筒体よりも一回り小さく、第2の筒体は第3の筒体よりも一回り小さく、第1の筒体はバネで第2の筒体に連結されており、第2の筒体はバネで第3の筒体に連結されている。
【0008】
また、固定補助具は、第1の筒体の先端側の貫通孔に滑り止めが設けられており、第3の筒体の基端側の貫通孔周辺にベアリングが設けられている構成であることが望ましい。
【発明の効果】
【0009】
本発明によれば、インパクトドライバーに取り付けたビスが、回転の勢いでビス穴からずれたり斜めに入ったりすることが防がれ、ビスを壁板に真っ直ぐに打ち込むことができる。
【図面の簡単な説明】
【0010】
本発明の実施形態に係る固定補助具の概略構成図である。
本発明の実施形態に係る固定補助具をインパクトドライバーに装着した状態を示す図であり、上図はビスを壁板に打ち込む前の状態を示す図、下図はビスを壁板に打ち込んだ後の状態を示す図である。
【発明を実施するための形態】
(【0011】以降は省略されています)
この特許をJ-PlatPat(特許庁公式サイト)で参照する
関連特許
個人
フラワーホッチキス。
1日前
株式会社三協システム
製函機
1か月前
川崎重工業株式会社
ロボット
14日前
株式会社不二越
ロボット
13日前
株式会社三協システム
移載装置
1か月前
株式会社竹中工務店
補助セット
13日前
川崎重工業株式会社
ハンド
5日前
SMC株式会社
着脱装置
1か月前
トヨタ自動車株式会社
ロボット
8日前
株式会社不二越
移動ロボットシステム
16日前
工機ホールディングス株式会社
作業機
5日前
株式会社不二越
エッジ仕上げ装置
26日前
川崎重工業株式会社
塗装システム
5日前
株式会社不二越
ロボットシステム
1か月前
本田技研工業株式会社
装置
19日前
トヨタ自動車株式会社
軌道生成装置
8日前
株式会社不二越
垂直多関節ロボット
27日前
工機ホールディングス株式会社
作業機
5日前
アネックスツール株式会社
ドライバービット
12日前
ライオン株式会社
移載システム
28日前
シンフォニアテクノロジー株式会社
搬送装置
16日前
大和ハウス工業株式会社
ねじ回転工具
1か月前
株式会社マキタ
回転打撃工具
8日前
川崎重工業株式会社
ワーク搬送ロボット
5日前
ワールド技研株式会社
ロボットセル装置
13日前
セイコーエプソン株式会社
ロボット
1か月前
セイコーエプソン株式会社
ロボット
12日前
NTN株式会社
ハンド
14日前
倉敷紡績株式会社
ハンドおよびコネクタ接続方法
26日前
山九株式会社
レンチ保持治具
8日前
トヨタ自動車株式会社
ロボットの制御装置
12日前
NTN株式会社
把持装置
14日前
NTN株式会社
把持装置
14日前
株式会社マキタ
電動工具
16日前
株式会社マキタ
電動工具
1か月前
NTN株式会社
作業装置
12日前
続きを見る
他の特許を見る