TOP
|
特許
|
意匠
|
商標
特許ウォッチ
Twitter
他の特許を見る
公開番号
2025124754
公報種別
公開特許公報(A)
公開日
2025-08-26
出願番号
2025088177,2021144037
出願日
2025-05-27,2021-09-03
発明の名称
基板本体の表面をパターニングする方法および基板本体
出願人
ショット アクチエンゲゼルシャフト
,
SCHOTT AG
代理人
アインゼル・フェリックス=ラインハルト
,
個人
,
個人
,
個人
,
個人
主分類
C03C
23/00 20060101AFI20250819BHJP(ガラス;鉱物またはスラグウール)
要約
【課題】予定された表面を基板本体に確実に形成できるようにする、基板本体表面のパターニングを準備および/または実行する方法の提供。
【解決手段】少なくとも1つの湾曲した作用領域7a、7b、7cにある基板材料1を、少なくとも1つの湾曲した作用領域の各々において、電磁場と基板材料との間に非線形相互作用を引き起こす電磁場に曝し、湾曲した作用領域に配置された基板材料に少なくとも部分的に影響を与えることを有しており、特徴づけられた表面をパターニングした後、特徴づけられた表面は、少なくとも部分領域的に、少なくとも1つの湾曲した作用領域の湾曲した形状によって少なくとも部分的に決定されかつ/または影響を与えられる少なくとも1つの第1の湾曲したプロファイルを有しており、非線形相互作用は、基板材料1における電磁場の少なくとも1つの非線形吸収を引き起こす、方法である。
【選択図】図2
特許請求の範囲
【請求項1】
基板材料を有する基板本体の所定のまたは予め定めることができる特徴づけられた表面のパターニングを準備および/または実行する方法であって、
前記方法は、少なくとも1つの湾曲した作用領域にある前記基板材料を、前記少なくとも1つの湾曲した作用領域の各々において、電磁場と前記基板材料との間に非線形相互作用を引き起こす前記電磁場に曝し、そうすることで前記湾曲した作用領域に配置された基板材料に少なくとも部分的に影響を与えることを有しており、
前記特徴づけられた表面をパターニングした後、前記特徴づけられた表面は、少なくとも部分領域的に、前記少なくとも1つの湾曲した作用領域の湾曲した形状によって少なくとも部分的に決定されかつ/または影響を与えられる少なくとも1つの第1の湾曲したプロファイルを有しており、
前記非線形相互作用は、前記基板材料における前記電磁場の少なくとも1つの非線形吸収を引き起こす、方法。
続きを表示(約 3,800 文字)
【請求項2】
前記基板材料を、複数の湾曲した作用領域において電磁場に曝し、
ここで、有利には
(i)前記特徴づけられた表面は、複数の領域で同じ前記第1の湾曲したプロファイルを有しており、特に、前記複数の湾曲した作用領域の前記湾曲した形状によって決定されるかもしくは影響を与えられ、かつ/または全体に前記第1の湾曲したプロファイルを有しており、
かつ/または
(ii)前記湾曲した作用領域は、互いに距離を置いて配置されるように選択され、特に前記基板本体の横断面平面において、前記湾曲した作用領域の前記横断面平面との共通部分の中心または重心が、直線に沿って、または任意の、特に円形の曲線に沿って延び、かつ/または連続する作用領域が、前記横断面平面における前記湾曲した作用領域の最大の広がりの30%~100%または100%~200%である距離を互いに有している、請求項1記載の方法。
【請求項3】
前記基板材料に影響を与えることが、特に前記基板材料の屈折率、エッチング速度および/または密度などの1つ以上の材料特性を、少なくとも部分領域的に変化させ、特に増加または減少させることを有しており、
かつ/または
前記基板材料に影響を与えることが、前記湾曲した作用領域から前記基板材料を少なくとも部分的に除去および/または排除すること、特に前記基板材料を周囲の前記基板材料内に圧縮することを有している、請求項1または2記載の方法。
【請求項4】
前記特徴づけられた表面を、前記影響を与えることによって前記基板材料を少なくとも部分的に除去することで形成し、かつ/または少なくとも前記影響を受けた基板材料を、少なくとも後続のエッチングプロセス、特に湿式化学プロセスにより、酸および/またはアルカリ液を用いて、少なくとも部分的に除去することで形成し、ここで、有利には、エッチング媒体として水酸化カリウム溶液を用いる、請求項1から3までのいずれか1項記載の方法。
【請求項5】
前記電磁場を、湾曲した線焦点、特にレーザービームの形で、かつ/または前記湾曲した線焦点、特にレーザービームによって提供し、かつ/または前記湾曲した作用領域を前記線焦点の形によって決定する、請求項1から4までのいずれか1項記載の方法。
【請求項6】
前記レーザービームを、超短パルスレーザーによって提供し、
前記レーザービームの位相を、特に、空間光変調器、回折光学素子および/または複数のシリンドリカルレンズの組み合わせを用いて調整しかつ/または適合させ、
前記レーザービームを、有利には顕微鏡対物レンズまたはフーリエレンズを用いて前記基板本体に集光し、ここで、前記集光は、有利には前記レーザービームの位相を調整するかもしくは適合させた後に行い、かつ/または前記線焦点を形成し、
前記線焦点は、加速されたレーザービーム、特にエアリービームのものであり、
前記レーザービームの波長は1064nmであり、前記顕微鏡対物レンズもしくはフーリエレンズは、10~20mmの焦点距離を有しており、立方体の位相の係数(レーザーパラメータβ)は、0.5×10
3
/m~5×10
3
/mの値を有しており、生ビームの直径(レーザーパラメータω
0
)は、1mm~10mm、有利には2.5mm~5mmの値を有しており、パルス幅(レーザーパラメータτ)は、0.1~10psの値を有しており、パルスエネルギー(レーザーパラメータE
p
)は、1~1500μJ、有利には30~500μJ、特に474μJの値を有しており、かつ/またはバースト中のパルス数(レーザーパラメータN)は、1~200、有利には1~100、特に1~8の値を有しており、
前記湾曲した作用領域の空間的な広がり、有利にはその長さおよび/またはその直径の1つを、前記レーザーの平均出力範囲を変化させることにより、かつ/または位相を変化させることにより調整しかつ/または経時的に変化させ、特に、前記複数の湾曲した作用領域のうちの少なくともいくつかについては、異なる広がりを調整し、
かつ/または
前記湾曲した作用領域の空間的な向きを、前記基板表面、特に、前記レーザービームが前記基板本体に入射する基板表面の法線に対して前記レーザービームの光軸の傾きを変化させることにより調整しかつ/または経時的に変化させ、特に、前記複数の湾曲した作用領域のうちの少なくともいくつかについては、異なる向きを調整する、請求項5記載の方法。
【請求項7】
少なくとも前記非線形相互作用の間に、少なくとも1つの補助基板本体が前記基板本体上に配置されており、それぞれの前記湾曲した作用領域および/または前記線焦点が前記補助基板本体内に少なくとも部分的に延在しており、ここで、有利には、2つ以上の補助基板本体が前記基板本体上に、特に前記基板本体の対向する面上に配置されており、それぞれの前記湾曲した作用領域および/または前記線焦点が2つ以上の補助基板本体内に少なくとも部分的に延在している、請求項1から6までのいずれか1項記載の方法。
【請求項8】
前記少なくとも1つの湾曲した作用領域のうちの少なくとも1つ、有利には複数および/または全ての湾曲した作用領域が、特に少なくとも前記非線形相互作用の間、前記基板本体内に完全に閉じ込められており、
ここで、有利には、本方法が、少なくとも部分領域的に、特に前記基板本体内の前記湾曲した作用領域の主延伸方向に沿って、前記基板本体から材料を除去し、その結果、閉じ込められた前記湾曲した作用領域において影響を受けた前記基板材料を、少なくとも部分的および/または部分領域的に外部からアクセスできるようにすること、特に、前記基板本体からの前記材料の除去をエッチングによって実行することをさらに有している、請求項1から7までのいずれか1項記載の方法。
【請求項9】
前記基板材料を、前記複数の湾曲した作用領域の個々の領域において、連続的に、または全体的に、または部分的に並行して、前記電磁場に曝し、
(i)湾曲した作用領域内の前記基板材料全体を同時に前記電磁場に曝し、
(ii)前記湾曲した作用領域は、それぞれの場合において、直線プロファイルからの最大偏位が20μm超、40μm超、60μm超、80μm超または100μm超であり、
かつ/または
(iii)前記湾曲した作用領域の長さが、それぞれの場合において、0.1mm超、0.3mm超、0.5mm超、0.7mm超、1mm超、3mm超または5mm超である、請求項1から8までのいずれか1項記載の方法。
【請求項10】
(i)前記基板本体が透明であり、ガラス製であり、第1の上面および/または有利には前記第1の上面と平行に延びておりかつ/もしくは前記第1の上面に対向する第2の上面を有しており、
(ii)有利には前記第1の上面と前記第2の上面との間で測定された前記基板本体の厚さが、500μm以下、有利には400μm以下、より好ましくは300μm以下、より好ましくは200μm以下、より好ましくは100μm以下、より好ましくは70μm以下、より好ましくは50μm以下、より好ましくは30μm以下、最も好ましくは10μm以下であり、
かつ/または
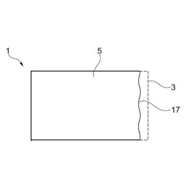
(iii)前記特徴づけられた表面のパターニングの後、
1.前記特徴づけられた表面は、前記第1の上面と前記第2の上面との間に広がっており、
2.前記特徴づけられた表面は、前記第1の上面および/または前記第2の上面に少なくとも部分領域的に連結されており、
3.前記基板本体の少なくとも1つの側面、有利には周方向の側面の少なくとも一部は、前記特徴づけられた表面を有しており、
4.有利には前記第1の上面から前記第2の上面まで延在する貫通孔の表面の少なくとも一部は、特徴づけられた表面を有しており、有利には前記貫通孔は、前記基板材料に影響を与えることにより、かつ/またはエッチングすることにより形成されており、
5.前記基板本体のキャビティの少なくとも1つの表面領域は、前記特徴づけられた表面を有しており、前記キャビティは、有利には、外部からアクセスできるか、または前記基板材料に完全に閉じ込められており、有利には、前記キャビティは、前記基板材料に影響を与えることにより、かつ/またはエッチングすることにより形成されており、
6.前記特徴づけられた表面は、少なくとも部分領域的に前記基板本体の内向きの表面であり、
かつ/または
7.前記特徴づけられた表面は、少なくとも部分領域的に前記基板本体の外向きの表面である、請求項1から9までのいずれか1項記載の方法。
(【請求項11】以降は省略されています)
発明の詳細な説明
【技術分野】
【0001】
本発明は、基板本体の表面のパターニングを準備および/または実行する方法に関する。本発明はさらに、基板本体に関する。
続きを表示(約 1,500 文字)
【0002】
先行技術
出発基板を、分離面などの所定の表面が形成されるように加工するために、スクラッチおよびブレーキング、ホイールカット、レーザーを用いた熱分離、つまり、基板に機械的な予備損傷を与え、材料における熱応力場により亀裂を誘導すること、ならびにレーザーを用いた穿孔分離、つまり、輪郭に沿ってフィラメント化し、その後、穿孔に沿って機械的または熱的に分離することによる分離プロセスが先行技術で知られている。
【0003】
ただし、これらの方法では、所定のターゲット面が達成されないことが多いという欠点がある。当該欠点は、基板材料に意図的に導入された予備損傷が原因のときもあるが、これらの損傷は十分に制御することができない。
【0004】
そこで、本発明の課題は、予定された表面を基板本体に確実に形成できるようにすることである。
【0005】
本発明の説明
この課題は、第1の態様に係る本発明により、基板材料を有する基板本体の所定のまたは予め定めることができる特徴づけられた表面のパターニングを準備および/または実行する方法であって、
当該方法は、少なくとも1つの湾曲した作用領域にある基板材料を、当該少なくとも1つの湾曲した作用領域の各々において、電磁場と基板材料との間に非線形相互作用を引き起こす電磁場に曝し、そうすることで当該湾曲した作用領域に配置された基板材料に少なくとも部分的に影響を与えることを有しており、
特徴づけられた表面をパターニングした後、当該特徴づけられた表面は、少なくとも部分領域的に、少なくとも1つの湾曲した作用領域の湾曲した形状によって少なくとも部分的に決定されかつ/または影響を与えられる少なくとも1つの第1の湾曲したプロファイルを有しており、
当該非線形相互作用は、基板材料における電磁場の少なくとも1つの非線形吸収を引き起こす、ことを提案することにより解決される。
【0006】
この方法は、電磁場の空間的な広がり、したがって個々の湾曲した作用領域の形状が、予定された表面を少なくともその基本的なプロファイルにおいて予め設定するのに利用され得るという驚くべき事実に基づいている。
【0007】
つまり、基板材料は電磁場に曝される。電磁場の少なくとも1つの領域であって、この湾曲している領域では、電磁場と基板材料との間に非線形相互作用が起こる。その結果、湾曲した作用領域と呼ばれる、この湾曲した領域では、この領域に配置された基板材料が少なくとも部分的に影響を受けることになる。
【0008】
ここで、基板材料の影響部は、例えば、基板材料における体積変更部を意味すると理解することができる。変更部の種類には、亀裂、空洞(キャビティ)および/または基板材料の構造の変化などが含まれ得、これらは特に、(影響を受けていない基板材料と比較して)より速やかにエッチング除去される結果となる。
【0009】
この場合、例えば、影響を受けた基板材料と影響を受けていない基板材料との間には界面も存在することになり得る。これは湾曲した作用領域の表面に相当する。この界面は、全体的にまたは部分的に基板材料内に延びることになり得る。非線形相互作用によってキャビティが作り出される場合、界面はキャビティの表面に相当し得る。
【0010】
そのため、影響を受けていない基板材料は、湾曲した作用領域の相補的な形状を有している。あるいは言い換えれば、影響を受けていない基板材料は、局所的に、影響を受けた領域の表面と形状結合式に相互作用する表面を有している。
(【0011】以降は省略されています)
この特許をJ-PlatPat(特許庁公式サイト)で参照する
関連特許
日本電気硝子株式会社
ガラス材
4か月前
個人
ガラス製品の製造方法
3か月前
株式会社フジクラ
シール装置
4か月前
日本電気硝子株式会社
ガラスの製造方法
3か月前
日本電気硝子株式会社
ガラス繊維用組成物
4か月前
日本電気硝子株式会社
ガラス繊維用組成物
3か月前
株式会社オハラ
光学ガラス
4か月前
AGC株式会社
ガラス板の製造方法
5か月前
信越化学工業株式会社
ガラス母材の延伸方法
2か月前
日本電気硝子株式会社
ガラスの製造方法
1か月前
AGC株式会社
車両用窓ガラスとその製造方法
今日
日本電気硝子株式会社
フィーダー
4か月前
AGC株式会社
感光性ガラス
21日前
AGC株式会社
ガラスペースト
4か月前
AGC株式会社
複層ガラス、高地対応複層ガラス
14日前
信越化学工業株式会社
光ファイバ母材の製造方法
2か月前
日本板硝子株式会社
ビル用複層ガラス
1か月前
日本電気硝子株式会社
ガラス製造装置
今日
株式会社オハラ
光学ガラスおよび光学素子
4か月前
日本電気硝子株式会社
ガラス板の製造方法
13日前
日本板硝子株式会社
車両用合わせガラス体
2か月前
信越化学工業株式会社
石英ガラス棒およびその製造方法
6日前
白金科技股分有限公司
微小球およびその調製方法
2か月前
AGC株式会社
複層ガラス、及び複層ガラスの製造方法
5か月前
AGC株式会社
複層ガラス、及び複層ガラスの製造方法
5か月前
AGC株式会社
合わせガラス
1か月前
AGC株式会社
成形装置、及び成形方法
2か月前
日本板硝子株式会社
車両用調光合わせガラス
2か月前
AGC株式会社
ガラス及びその製造方法
2か月前
AGC株式会社
洗浄部材の位置決め方法
4か月前
信越化学工業株式会社
光ファイバ用多孔質母材の搬送装置
4か月前
東洋ガラス株式会社
ガラス製造装置
4か月前
日本電気硝子株式会社
ガラス物品の製造方法
27日前
住友電気工業株式会社
光ファイバの製造装置
1か月前
住友電気工業株式会社
光ファイバの製造方法
1か月前
株式会社オハラ
結晶相を含むガラス
5か月前
続きを見る
他の特許を見る