TOP
|
特許
|
意匠
|
商標
特許ウォッチ
Twitter
他の特許を見る
公開番号
2025120628
公報種別
公開特許公報(A)
公開日
2025-08-18
出願番号
2024015557
出願日
2024-02-05
発明の名称
光ファイバの製造方法
出願人
住友電気工業株式会社
代理人
弁理士法人信栄事務所
主分類
C03B
37/12 20060101AFI20250808BHJP(ガラス;鉱物またはスラグウール)
要約
【課題】光ファイバ内部での気泡の発生を効果的に抑制する。
【解決手段】光ファイバの製造方法は、光ファイバ用母材を加熱して線引きしてガラスファイバを得る線引工程と、冷却ガスを流した冷却管に前記ガラスファイバを通過させて前記ガラスファイバを冷却する冷却工程と、前記ガラスファイバの外周にパージガスを吹き付けながら塗布装置によって紫外線硬化樹脂を塗布する塗布工程と、塗布された前記紫外線硬化樹脂を硬化させて被覆樹脂層を形成する硬化工程と、前記ガラスファイバと前記被覆樹脂層との界面または前記被覆樹脂層の内部における気泡の有無を検査する検査工程と、を備える。前記検査工程において気泡が検出された場合、前記塗布装置における樹脂だまりのメニスカスを小さくするメニスカス抑制工程を実施する。
【選択図】図1
特許請求の範囲
【請求項1】
光ファイバ用母材を加熱して線引きしてガラスファイバを得る線引工程と、
冷却ガスを流した冷却管に前記ガラスファイバを通過させて前記ガラスファイバを冷却する冷却工程と、
前記ガラスファイバの外周にパージガスを吹き付けながら塗布装置によって紫外線硬化樹脂を塗布する塗布工程と、
塗布された前記紫外線硬化樹脂を硬化させて被覆樹脂層を形成する硬化工程と、
前記ガラスファイバと前記被覆樹脂層との界面または前記被覆樹脂層の内部における気泡の有無を検査する検査工程と、
を備え、
前記検査工程において気泡が検出された場合、前記塗布装置における樹脂だまりのメニスカスを小さくするメニスカス抑制工程を実施する、光ファイバの製造方法。
続きを表示(約 730 文字)
【請求項2】
前記メニスカス抑制工程が、前記パージガスの流量を増加させる工程を含む、請求項1に記載の光ファイバの製造方法。
【請求項3】
前記メニスカス抑制工程が、前記冷却ガスの流量を減少させる工程を含む、請求項1に記載の光ファイバの製造方法。
【請求項4】
前記メニスカス抑制工程が、前記塗布装置の温度を上昇させ、前記塗布装置の温度の上昇に合わせて冷却ガスの流量を減少させる工程を含む、請求項1に記載の光ファイバの製造方法。
【請求項5】
前記メニスカス抑制工程において、
前記パージガスの流量の増加と前記冷却ガスの流量の減少のうちいずれかの工程である第1工程を実施し、
前記第1工程の後、再び気泡が検出された場合に、前記パージガスの流量の増加と前記冷却ガスの流量の減少のうち前記第1工程とは異なる工程である第2工程を実施する、請求項1から請求項4のいずれか1項に記載の光ファイバの製造方法。
【請求項6】
前記メニスカス抑制工程を実施した後、前記検査工程で気泡が検出されない場合、前記パージガスの流量を増加前の流量に戻す、請求項2に記載の光ファイバの製造方法。
【請求項7】
前記メニスカス抑制工程を実施した後、前記検査工程で気泡が検出されない場合、前記冷却ガスの流量を減少前の流量に戻す、請求項3または請求項4に記載の光ファイバの製造方法。
【請求項8】
前記パージガスはヘリウムガス、二酸化炭素ガスおよび水素ガスからなる群から選択される少なくとも一種のガスである、請求項1から請求項4のいずれか1項に記載の光ファイバの製造方法。
発明の詳細な説明
【技術分野】
【0001】
本開示は、光ファイバの製造方法に関する。
続きを表示(約 1,900 文字)
【背景技術】
【0002】
光ファイバの製造工程では、光ファイバ用ガラス母材を線引きしてガラスファイバを得た後、ガラスファイバ表面に硬化性樹脂を被覆し硬化させることにより被覆樹脂層を形成する。被覆樹脂層を形成する工程において、ガラスファイバと被覆樹脂層の界面または被覆樹脂層の内部に気泡が発生することがある。気泡が発生すると光ファイバの伝送特性が損なわれるため、被覆樹脂層を形成する際の気泡の発生を抑制することが求められる。特許文献1では、気泡の発生を防ぐためにパージガスを多段のパージ口から吹き込む構成が開示されている。
【先行技術文献】
【特許文献】
【0003】
特開2007-223818号公報
【発明の概要】
【発明が解決しようとする課題】
【0004】
ひとたび気泡が検出された場合、光ファイバの製造を中止し、対策を行った上で製造を再開していた。気泡の発生に対して作業者が必要な対策を行うまでには時間を要し、かつその間に製造された製品は不良品として廃棄する必要があるため、気泡の発生は生産性を低下させる原因となる。
【0005】
本開示は、光ファイバ内部での気泡の発生を効果的に抑制できる光ファイバの製造方法を提供することを目的とする。
【課題を解決するための手段】
【0006】
本開示の光ファイバの製造方法は、
光ファイバ用母材を加熱して線引きしてガラスファイバを得る線引工程と、
冷却ガスを流した冷却管に前記ガラスファイバを通過させて前記ガラスファイバを冷却する冷却工程と、
前記ガラスファイバの外周にパージガスを吹き付けながら塗布装置によって紫外線硬化樹脂を塗布する塗布工程と、
塗布された前記紫外線硬化樹脂を硬化させて被覆樹脂層を形成する硬化工程と、
前記ガラスファイバと前記被覆樹脂層との界面または前記被覆樹脂層の内部における気泡の有無を検査する検査工程と、
を備え、
前記検査工程において気泡が検出された場合、前記塗布装置における樹脂だまりのメニスカスを小さくするメニスカス抑制工程を実施する。
【発明の効果】
【0007】
本開示の光ファイバの製造方法によれば、光ファイバ内部での気泡の発生を効果的に抑制できる。
【図面の簡単な説明】
【0008】
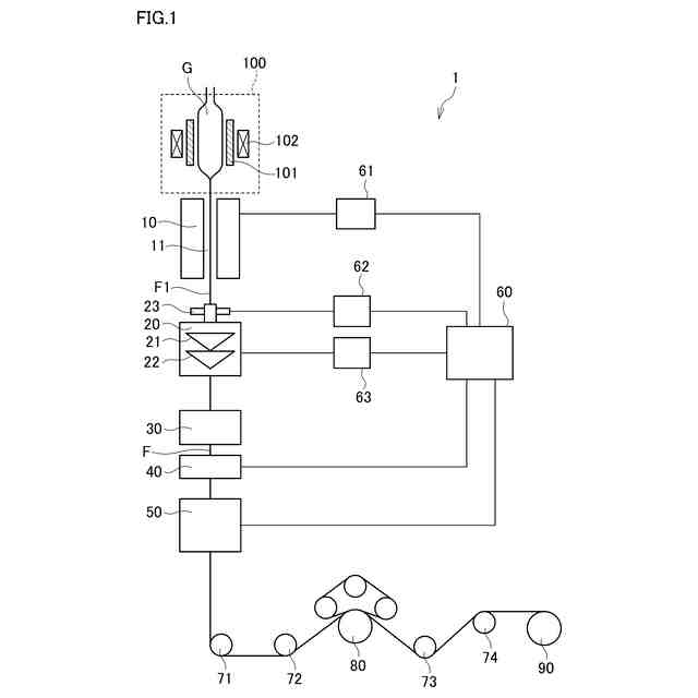
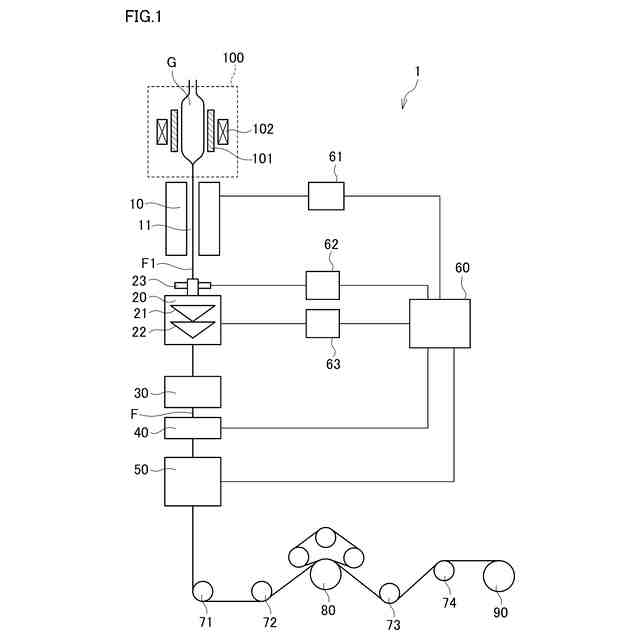
図1は、光ファイバ製造装置の構成の一例を示す図である。
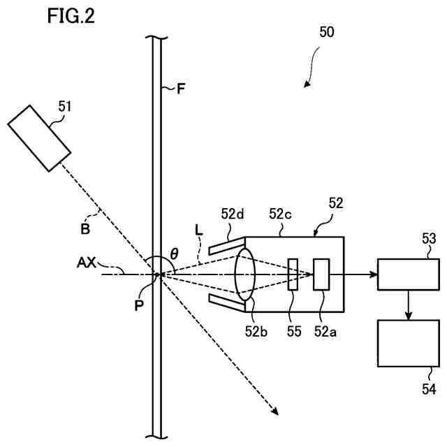
図2は、気泡の検査工程において用いられる気泡検出装置の構成の一例を示す図である。
図3Aは、気泡検出装置による検査工程の一例であり、光ファイバ素線に気泡が存在しない場合を示す図である。
図3Bは、気泡検出装置による検査方法の一例であり、光ファイバ素線に気泡が存在する場合を示す図である。
図4は、塗布装置のダイス入線部を示す図である。
図5は、本実施形態の光ファイバの製造方法におけるメニスカス抑制工程の一例を示すフローチャートである。
【発明を実施するための形態】
【0009】
[本開示の実施形態の説明]
最初に、本開示の実施形態を列記して説明する。本開示の一実施形態に係る光ファイバの製造方法は、
(1)光ファイバ用母材を加熱して線引きしてガラスファイバを得る線引工程と、
冷却ガスを流した冷却管に前記ガラスファイバを通過させて前記ガラスファイバを冷却する冷却工程と、
前記ガラスファイバの外周にパージガスを吹き付けながら塗布装置によって紫外線硬化樹脂を塗布する塗布工程と、
塗布された前記紫外線硬化樹脂を硬化させて被覆樹脂層を形成する硬化工程と、
前記ガラスファイバと前記被覆樹脂層との界面または前記被覆樹脂層の内部における気泡の有無を検査する検査工程と、
を備え、
前記検査工程において気泡が検出された場合、前記塗布装置における樹脂だまりのメニスカスを小さくするメニスカス抑制工程を実施する。
【0010】
気泡発生の主な原因は、塗布工程においてガラスファイバと塗布装置の樹脂だまりとの間に生じるメニスカスである。メニスカスが大きいとガラスファイバと被覆樹脂層の界面または被覆樹脂層の内部に気泡が発生しやすい。気泡が検出された場合にメニスカス抑制工程を実施することで、メニスカスを小さくして気泡の発生を抑制することができる。
(【0011】以降は省略されています)
この特許をJ-PlatPat(特許庁公式サイト)で参照する
関連特許
日本電気硝子株式会社
封着材料ペースト
5日前
AGC株式会社
感光性ガラス
1か月前
ノリタケ株式会社
ガラス接合材およびその利用
2日前
AGC株式会社
車両用窓ガラスとその製造方法
10日前
日本電気硝子株式会社
ガラスの製造方法
2か月前
ノリタケ株式会社
封止用グリーンシート
2日前
AGC株式会社
複層ガラス、高地対応複層ガラス
24日前
信越化学工業株式会社
光ファイバ母材の製造方法
2か月前
日本電気硝子株式会社
ガラス製造装置
10日前
日本板硝子株式会社
ビル用複層ガラス
1か月前
ノリタケ株式会社
ガラス接合材及びその利用
2日前
ノリタケ株式会社
ガラス接合材及びその利用
2日前
ノリタケ株式会社
組立体の製造方法および組立体
2日前
信越化学工業株式会社
石英ガラス棒およびその製造方法
16日前
AGC株式会社
合わせガラス
1か月前
日本電気硝子株式会社
ガラス板の製造方法
23日前
日本電気硝子株式会社
ガラス物品の製造方法
1か月前
日本電気硝子株式会社
ガラス物品の製造方法
4日前
AGC株式会社
積層体及び移動体
3日前
住友電気工業株式会社
光ファイバの製造装置
2か月前
住友電気工業株式会社
光ファイバの製造方法
1か月前
住友電気工業株式会社
光ファイバの製造方法
2か月前
住友電気工業株式会社
光ファイバ母材の製造方法
1か月前
日本電気硝子株式会社
減圧脱泡装置及びガラス製造装置
10日前
日本電気硝子株式会社
溶融装置及びガラス物品の製造方法
2か月前
日本電気硝子株式会社
ガラス
2か月前
日本電気硝子株式会社
ガラス物品の製造方法及び製造装置
1か月前
住友ゴム工業株式会社
ポリマー被覆ガラス基材
2か月前
AGC株式会社
ガラス
2か月前
ヘラクレスガラス技研株式会社
5G電波透過型日射遮蔽高可視光透過ガラス
1か月前
芝浦機械株式会社
ガラス成形装置及び金型洗浄方法
3日前
芝浦機械株式会社
ガラス成形装置及び金型洗浄方法
10日前
日本電気硝子株式会社
ガラス物品の製造方法およびガラス溶融装置
4日前
住友電気工業株式会社
光ファイバおよび光ファイバの製造方法
1か月前
HOYA株式会社
銀含有偏光ガラスおよび光アイソレータ
9日前
株式会社IMUZAK
脆性素材加工物、及びその製造方法
2か月前
続きを見る
他の特許を見る