TOP
|
特許
|
意匠
|
商標
特許ウォッチ
Twitter
他の特許を見る
公開番号
2025143866
公報種別
公開特許公報(A)
公開日
2025-10-02
出願番号
2024043336
出願日
2024-03-19
発明の名称
通信装置及び表示方法
出願人
株式会社CCT
代理人
個人
主分類
G08G
1/09 20060101AFI20250925BHJP(信号)
要約
【課題】車両の交差点における安全な走行を確保できるようにした通信装置及び表示方法を提供すること。
【解決手段】車両に設置された通信装置であって、信号機の情報に関する信号機情報を無線路側機から受信する受信部と、車両の前方に車両よりも車体の大きさが大きい他の車両が走行していることを検出する制御部と、受信部が信号機情報を受信することで車両の交差点への進入を検出するとともに、制御部が他の車両の走行を検出すると、信号機情報に基づいて、信号機の色情報をナビゲーション画面に表示する表示部と、を有する。
【選択図】図4
特許請求の範囲
【請求項1】
車両に設置された通信装置であって、
信号機の情報に関する信号機情報を無線路側機から受信する受信部と、
前記車両の前方に前記車両よりも車体の大きさが大きい他の車両が走行していることを検出する制御部と、
前記受信部が前記信号機情報を受信することで前記車両の交差点への進入を検出するとともに、前記制御部が前記他の車両の走行を検出すると、前記信号機情報に基づいて、前記信号機の色情報をナビゲーション画面に表示する表示部と、を有する
通信装置。
続きを表示(約 600 文字)
【請求項2】
前記信号機情報は、現在時刻から前記信号機の色が黄色又は赤色になるまでの時間を表す時間情報を含む
請求項1記載の通信装置。
【請求項3】
前記表示部は、前記時間情報に基づいて、前記信号機の色が前記黄色又は前記赤色になるまでのカウントダウン表示を行う
請求項2記載の通信装置。
【請求項4】
前記受信部は、前記無線路側機から前記交差点に関する交差点情報を受信し、
前記表示部は、前記交差点情報に基づいて、前記ナビゲーション画面に前記車両の進入禁止領域を表示する
請求項1記載の通信装置。
【請求項5】
前記他の車両は、大型車両である
請求項1記載の通信装置。
【請求項6】
車両に設置された通信装置における表示方法であって、
受信部により、信号機の情報に関する信号機情報を無線路側機から受信するステップと、
制御部により、前記車両の前方に前記車両よりも大きい他の車両が走行していることを検出するステップと、
前記受信部が前記信号機情報を受信することで交差点への進入を検出するとともに、前記制御部が前記他の車両の走行を検出すると、表示部により、前記信号機情報に基づいて、前記信号機の色情報をナビゲーション画面に表示するステップと、を有する
表示方法。
発明の詳細な説明
【技術分野】
【0001】
本発明は、通信装置及び表示情報に関する。
続きを表示(約 1,400 文字)
【背景技術】
【0002】
近年、高度道路交通システム(ITS:Intelligent Transport System)が注目されている。非特許文献1には、路側に設けられる基地局である無線路側機と、車両に設けられる移動局である車載通信機とを有する交通通信システムの標準規格について規定されている。
【0003】
一方、車両にはナビゲーション画面を表示するナビゲーション装置が設置されている場合がある。運転手は、ナビゲーション画面を見ながら、目的地まで効率的に運転を行うことが可能となる。
【先行技術文献】
【非特許文献】
【0004】
ARIB STD-T109 1.3版 「700MHz帯高度道路交通システム」
【発明の概要】
【発明が解決しようとする課題】
【0005】
例えば、車両が交差点に接近しているケースにおいて、前方に大型車両が存在するケースを想定する。このようなケースにおいて、車両を運転する運転手は、車両が大型車両に接近することで、交差点に設置された信号機を確認することができない場合がある。そのため、車両の交差点における安全な走行を確保できない場合がある。
【0006】
そこで、本開示は、車両の交差点における安全な走行を確保できるようにした通信装置及び表示方法を提供することにある。
【課題を解決するための手段】
【0007】
本開示の一態様は、車両に設置された通信装置である。通信装置は、信号機の情報に関する信号機情報を無線路側機から受信する受信部と、車両の前方に車両よりも車体の大きさが大きい他の車両が走行していることを検出する制御部と、受信部が信号機情報を受信することで車両の交差点への進入を検出するとともに、制御部が他の車両の走行を検出すると、信号機情報に基づいて、信号機の色情報をナビゲーション画面に表示する表示部と、を有する。
【0008】
また、本開示の一態様は、通信装置における表示情報である。表示方法は、受信部により、信号機の情報に関する信号機情報を無線路側機から受信するステップと、制御部により、車両の前方に車両よりも大きい他の車両が走行していることを検出するステップと、受信部が信号機情報を受信することで交差点への進入を検出するとともに、制御部が他の車両の走行を検出すると、表示部により、信号機情報に基づいて、信号機の色情報をナビゲーション画面に表示するステップと、を有する。
【発明の効果】
【0009】
一開示によれば、車両の交差点における安全な走行を確保することができる。
【図面の簡単な説明】
【0010】
図1は、一実施形態に係る交差点に進入する車両の例を表す図である。
図2は、一実施形態に係る無線路側機の構成例を表す図である。
図3は、一実施形態に係る車載通信機の例を表す図である。
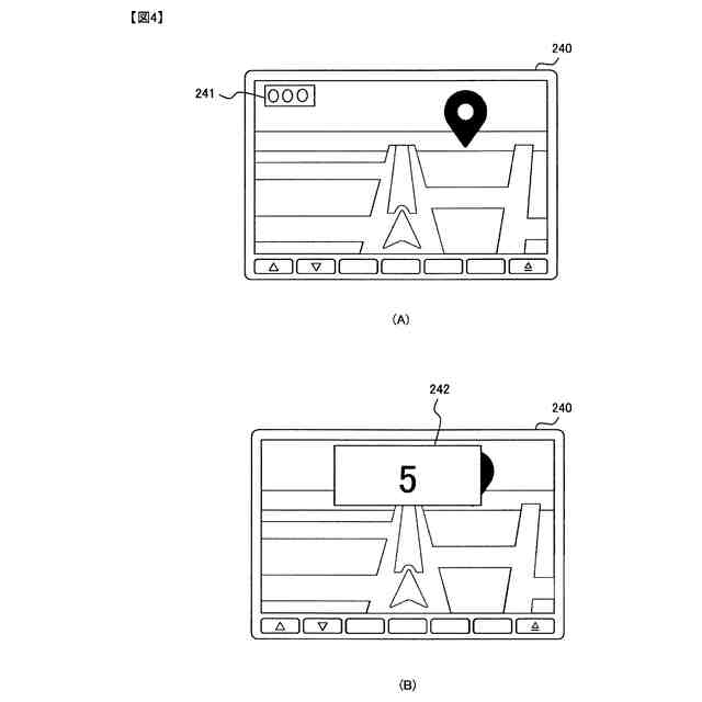
図4(A)及び図4(B)は、一実施形態に係るナビゲーション画面の例を表す図である。
図5は、一実施形態に係るナビゲーション画面の例を表す図である。
図6は、一実施形態に係る動作例を表す図である。
【発明を実施するための形態】
(【0011】以降は省略されています)
この特許をJ-PlatPat(特許庁公式サイト)で参照する
関連特許
株式会社CCT
通信装置及び表示方法
9日前
日本精機株式会社
警報システム
1か月前
株式会社SUBARU
車両
2日前
個人
自動電動車椅子
23日前
スズキ株式会社
運転支援装置
1か月前
エムケー精工株式会社
車両誘導装置
1か月前
ニッタン株式会社
検知器
1か月前
ニッタン株式会社
発信機
2か月前
ニッタン株式会社
検知器
9日前
ニッタン株式会社
発信機
2か月前
ニッタン株式会社
検知器
1か月前
ニッタン株式会社
発信機
3か月前
個人
磁気路上での車両の路線離脱防御
12日前
株式会社国際電気
防災システム
1か月前
ニッタン株式会社
検知器
1か月前
トヨタ自動車株式会社
車両
2か月前
日本信号株式会社
信号情報システム
3か月前
株式会社JVCケンウッド
警報装置
3か月前
個人
乗り物の移動を支援する方法及び装置
2か月前
日本信号株式会社
情報提供システム
3か月前
日本信号株式会社
異常走行検出装置
16日前
株式会社小糸製作所
移動体検出装置
1か月前
大阪瓦斯株式会社
音声出力システム
8日前
トヨタ自動車株式会社
サーバ
16日前
株式会社SUBARU
運転支援装置
10日前
日本精機株式会社
報知装置及び報知システム
22日前
株式会社小糸製作所
車両検出システム
1か月前
株式会社デンソー
運航管理装置
1日前
三菱自動車工業株式会社
制御システム
8日前
株式会社CCT
通信装置及び表示方法
9日前
トヨタ自動車株式会社
回避動作判別装置
3か月前
日本信号株式会社
交通信号制御システム
3か月前
能美防災株式会社
火災感知器
1か月前
株式会社SUBARU
事故情報収集装置
2日前
個人
現示内容に関する情報放送機能付き信号機
2か月前
本田技研工業株式会社
情報提供装置
2か月前
続きを見る
他の特許を見る