TOP
|
特許
|
意匠
|
商標
特許ウォッチ
Twitter
他の特許を見る
公開番号
2025142447
公報種別
公開特許公報(A)
公開日
2025-10-01
出願番号
2024041795
出願日
2024-03-18
発明の名称
運転支援装置
出願人
株式会社SUBARU
代理人
個人
主分類
G08G
1/16 20060101AFI20250924BHJP(信号)
要約
【課題】運転者に対する利便性を向上する。
【解決手段】運転支援装置10は、左右一対のレーザ光照射装置14を有している。また、制御部30の周辺検知部34は、ステレオカメラ12によって撮像されたデータに基づいて、車両Vが走行する車線を区画する区画線及び轍を検知する。そして、制御部30において区画線を検知できず且つ轍を検知した場合には、制御部30のレーザ光照射制御部38が、轍に向けてレーザ光LLを照射させるようにレーザ光照射装置14を作動させる。これにより、区画線に基づく運転支援を行うことができない場合でも、轍に基づく架空区画線をレーザ光LLによって形成して、当該架空区画線を目印とした運転支援を行うことができる。したがって、運転者への利便性を向上することができる。
【選択図】図1
特許請求の範囲
【請求項1】
車両の車両前方を撮像する撮像部と、
作動することで前記車両から車両前方の路面へレーザ光を照射する車幅方向において左右一対のレーザ光照射部と、
前記撮像部からの撮像画像に基づいて、前記車両が走行する車線を区画する区画線及び轍を検知すると共に、前記レーザ光照射部を作動させる制御部と、
を備え、
前記制御部において前記区画線を検知できず且つ前記轍を検知した場合には、前記制御部が、前記轍に向けて前記レーザ光を照射させるように前記レーザ光照射部を作動させる運転支援装置。
続きを表示(約 500 文字)
【請求項2】
運転操作に関する情報を報知する報知部を備え、
前記制御部は、前記撮像部からの撮像画像に基づいて前記車両の車両前方の前方車両を検知すると共に、前記前方車両との間の車間距離及び前記車両の走行速度を算出し、
前記制御部において前記轍を検知できず且つ前記前方車両を検知した場合には、前記制御部は、算出された前記車間距離又は前記走行速度に応じた前記情報を前記報知部によって報知させる請求項1に記載の運転支援装置。
【請求項3】
前記制御部において前記轍を検知できない場合には、前記制御部は、前記路面に照射された前記レーザ光が前記車両の進行方向側へ移動するように前記レーザ光照射部を作動させると共に、前記車両のステアリングの操舵角に応じて前記レーザ光の照射方向を変更する請求項2に記載の運転支援装置。
【請求項4】
道路の制限速度情報が格納された地図情報を記憶する記憶部を備え、
前記制御部において前記前方車両を検知できない場合には、前記制御部は、前記制限速度情報に基づいた前記情報を前記報知部によって報知させる請求項2に記載の運転支援装置。
発明の詳細な説明
【技術分野】
【0001】
本発明は、運転支援装置に関するものである。
続きを表示(約 1,400 文字)
【背景技術】
【0002】
車両(自動車)の運転支援装置では、車両の走行車線からの逸脱を抑制する機能を有するものがある(例えば、下記特許文献1参照)。この運転支援装置では、制御部が、カメラ等の撮像装置によって撮像された画像から、走行車線を区画する区画線を検知する。また、制御部が、検知した区画線に基づいて車両が区画線からはみ出ることを予測すると、操舵機構に操作トルクを付与して、車両の走行車線の逸脱を抑制する。
【先行技術文献】
【特許文献】
【0003】
特開2013-91494号
【発明の概要】
【発明が解決しようとする課題】
【0004】
しかしながら、上記運転支援装置では、以下に示す点において、改善の余地がある。すなわち、例えば、道路上の積雪等によって制御部が区画線を検知できない場合には、運転支援装置において車線逸脱抑制機能が作動しなくなる。この場合には、運転支援が行われないため、運転者に対する利便性が低下する可能性がある。
【0005】
本発明は、上記事実を考慮して、運転者に対する利便性を向上することができる運転支援装置を提供することを目的とする。
【課題を解決するための手段】
【0006】
本発明の1又はそれ以上の実施形態は、車両の車両前方を撮像する撮像部と、作動することで前記車両から車両前方の路面へレーザ光を照射する車幅方向において左右一対のレーザ光照射部と、前記撮像部からの撮像画像に基づいて、前記車両が走行する車線を区画する区画線及び轍を検知すると共に、前記レーザ光照射部を作動させる制御部と、を備え、前記制御部において前記区画線を検知できず且つ前記轍を検知した場合には、前記制御部が、前記轍に向けて前記レーザ光を照射させるように前記レーザ光照射部を作動させる運転支援装置である。
【発明の効果】
【0007】
本発明の1又はそれ以上の実施形態によれば、運転者に対する利便性を向上することができる。
【図面の簡単な説明】
【0008】
本実施の形態に係る運転支援装置が適用された車両を示す車両上側から見た平面図である。
本実施の形態に係る運転支援装置のブロック図である。
図1に示されるレーザ光照射装置から路面に照射されるレーザ光の一例を示す平面図である。
図1に示されるレーザ光照射装置から路面に照射されるレーザ光の他の例を示す平面図である。
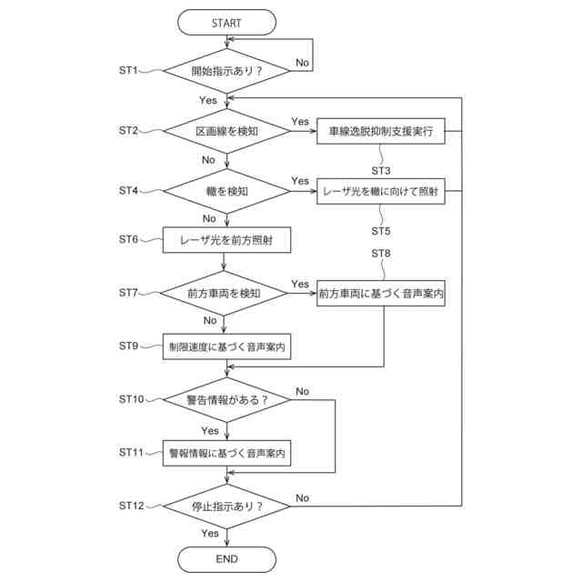
本実施の形態に係る運転支援装置の動作を説明するためのフローチャートである。
【発明を実施するための形態】
【0009】
以下、図面を用いて、本実施の形態に係る運転支援装置10が適用された車両(自動車)Vについて説明する。なお、図1に示される矢印FRは車両Vの車両前側を示し、矢印RHは、車両上側から見たときの車両右側(車幅方向一方側)を示している。
【0010】
図1及び図2に示されるように、運転支援装置10は、撮像部としてのステレオカメラ12と、レーザ光照射部としての左右一対のレーザ光照射装置14と、車速センサ16と、操舵角センサ18と、GPS受信機20と、記憶部22と、報知部としてのスピーカ24と、操作スイッチ26と、制御部30と、を備えている。以下、運転支援装置10の各構成について説明する。
(【0011】以降は省略されています)
この特許をJ-PlatPat(特許庁公式サイト)で参照する
関連特許
株式会社SUBARU
車両
9日前
株式会社SUBARU
運転支援装置
7日前
株式会社SUBARU
車体後部構造
今日
株式会社SUBARU
硫黄除去方法
9日前
株式会社SUBARU
車載制御装置
7日前
株式会社SUBARU
サイドドア構造
今日
株式会社SUBARU
サイドドア構造
今日
株式会社SUBARU
車両用制御装置
5日前
株式会社SUBARU
車両衝突軽減装置
今日
株式会社SUBARU
燃料電池システム
12日前
株式会社SUBARU
車両用空調制御装置
5日前
株式会社SUBARU
燃料タンク処理装置
1日前
株式会社SUBARU
燃料タンク処理装置
1日前
株式会社SUBARU
ゴム組成物および防振ゴム
9日前
株式会社SUBARU
フロントフードアセンブリ
今日
株式会社SUBARU
提案装置および情報処理装置
1日前
日本発條株式会社
ヒータ装置
9日前
日本発條株式会社
車両用支持装置
9日前
株式会社SUBARU
ドライビングシミュレータの制御装置
12日前
株式会社SUBARU
精神状態判定装置および精神状態判定方法
13日前
株式会社SUBARU
水素供給システム及び当該水素供給システムの制御装置
5日前
株式会社SUBARU
水素供給システム及び当該水素供給システムの制御装置
5日前
株式会社SUBARU
車両外ユーザのステータスを検出する方法、そのシステム、ソフトウェア及び車両
今日
日本精機株式会社
路面投影装置
3か月前
日本精機株式会社
警報システム
1か月前
個人
自動電動車椅子
20日前
エムケー精工株式会社
車両誘導装置
1か月前
スズキ株式会社
運転支援装置
1か月前
ニッタン株式会社
発信機
2か月前
株式会社国際電気
防災システム
1か月前
個人
磁気路上での車両の路線離脱防御
9日前
ニッタン株式会社
検知器
6日前
ニッタン株式会社
検知器
1か月前
ニッタン株式会社
検知器
28日前
ニッタン株式会社
検知器
28日前
ニッタン株式会社
発信機
3か月前
続きを見る
他の特許を見る