TOP
|
特許
|
意匠
|
商標
特許ウォッチ
Twitter
他の特許を見る
公開番号
2025131980
公報種別
公開特許公報(A)
公開日
2025-09-10
出願番号
2024029264
出願日
2024-02-29
発明の名称
検知器
出願人
ニッタン株式会社
代理人
個人
,
個人
主分類
G08B
17/12 20060101AFI20250903BHJP(信号)
要約
【課題】結露除去用のヒーターを備えた検知器におけるヒーターの消費電力を抑え電力効率を向上させる技術を提供する。
【解決手段】検知対象の事象を検出する機能を有する回路基板を内蔵した筐体と、筐体の正面側に設けられた開口部に臨むようにして筐体の内部に配設され、検知対象が発する所定波長光を受光する1または2以上の検知用受光素子と、開口部と1または2以上の検知用受光素子との間に設けられた透明な保護カバーと、保護カバーの内側の面に接するように設けられた加熱手段と、を備えた検知器において、前記回路基板には、加熱手段を作動させる信号を生成する制御回路が搭載されており、前記開口部の縁部の近傍であって筐体の内面の保護カバーと接する部位には、開口部の縁部に沿って周方向に環状をなす1または2以上の溝が形成されているようにした。
【選択図】図2
特許請求の範囲
【請求項1】
検知対象の事象を検出する機能を有する回路基板を内蔵した筐体と、
前記筐体の正面側に設けられた開口部に臨むようにして前記筐体の内部に配設され、検知対象が発する所定波長光を受光する1または2以上の検知用受光素子と、
前記開口部と前記1または2以上の検知用受光素子との間に設けられた透明な保護カバーと、
前記保護カバーの内側の面に接するように設けられた加熱手段と、
を備えた検知器であって、
前記回路基板には、前記加熱手段を作動させる信号を生成する制御回路が搭載されており、
前記開口部の縁部の近傍であって前記筐体の内面の前記保護カバーと接する部位には、前記開口部の縁部に沿って1または2以上の溝が形成されていることを特徴とする検知器。
続きを表示(約 120 文字)
【請求項2】
前記筐体の内面と前記保護カバーの外側の面との間にはシール材が配設されており、前記溝は前記筐体の内面の前記保護カバーと接する領域のうち前記開口部の縁部に近い部位に設けられていることを特徴とする請求項1に記載の検知器。
発明の詳細な説明
【技術分野】
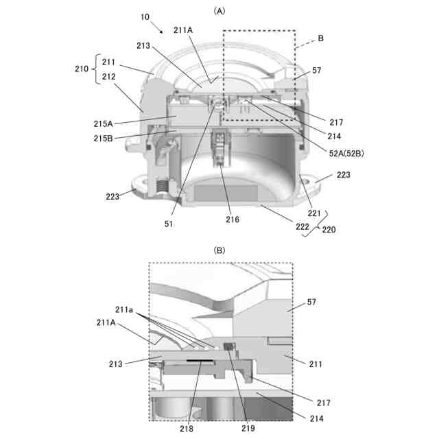
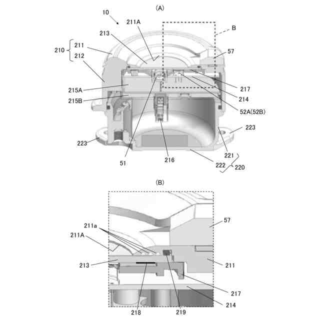
【0001】
本発明は、炎等の異常事象の検知を行う検知器に関し、特にセンサーの前面側を覆うカバーガラスの結露を除去するヒーターを備えた検知器における電力効率を向上させる技術に関する。
続きを表示(約 2,300 文字)
【背景技術】
【0002】
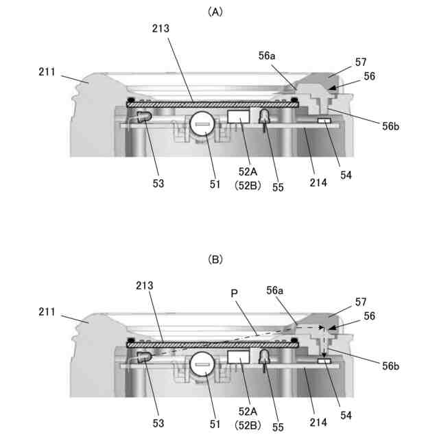
建物内外に設けられている火災報知システムに使用される火災感知器のひとつに炎検知器がある。炎検知器のセンサーには、紫外線センサー、赤外線センサーが使用されており、特定種類の炎を検出でき、且つ、太陽光や他の熱源を検出しないように受光できる波長が限定されている。また、炎検知器は、屋外で使用されることを考慮して、防塵防水構造としているため、ケースの中央に配置されたセンサーの前面側にカバーガラスが配設され、カバーガラスと本体ケースとの間にはシール材が設けられることがある。さらに、炎検知器は、本体ケースがアルミやステンレス等の金属で形成されることがある。
【0003】
センサーの前面にカバーガラスが配設されている炎検知器においては、設置環境の温度や湿度の変化により、カバーガラスの表面が結露することがあり、受光に支障を来たし正常な検知機能を発揮できない状態になってしまう。そこで、結露による曇りを除去するためにカバーガラスの内面にヒーターを設置して、ヒーターに通電することによりカバーガラスを暖め、表面の水を蒸発させることで、受光に支障が起きないようにしている。
【0004】
従来、結露を検知するセンサーを設けて、結露を検知した場合に、水分検出信号により火災検出信号を出力させないか結露検知表示を行うようした火災感知器に関する発明がある(特許文献1)。
また、赤外線検出素子(赤外線センサー)の前面側に光透過窓部材(カバーガラス)を配設した炎検知器であって、光透過窓部材と本体ケースとの間にシール材を設けた炎検知器が特許文献2に記載されている。また、特許文献2には、本体ケースがアルミやステンレス等の金属で形成されることが記載されている。
【先行技術文献】
【特許文献】
【0005】
特昭開57-123490号公報
特開2016-71775号公報
【発明の概要】
【発明が解決しようとする課題】
【0006】
ヒーターは電力を多大に消費するので、消費電力を抑えるため稼働時間を最小にしたいという要望がある。また、早急に加熱効果を得られるよう、短時間でヒーターの熱がカバーガラスに伝わるようにしたいという要望もある。
しかし、本体ケースがアルミやステンレス等の金属で形成される炎検知器の場合、カバーガラスには金属製のケースが接触するため、ヒーターの熱がケースに伝わり外部へ逃げてしまい、カバーガラスの温度上昇速度が遅くなり、正常な検知機能を発揮できない状態(未警戒時間)が長くなってしまうとともに、消費電力も増大してしまうという課題があることが分かった。
【0007】
また、近年、水素エネルギーに対する需要が高まり、水素自動車が街中を走るようになって来ている。水素自動車は水素の再充填のために、水素ステーションにて水素を補給するが、充填中に水素が漏れるおそれがある。一方、気体水素もそれに印加した時に生ずる水素炎も目に見えないために、漏れたことに気づくのが遅れ、水素火災や水素爆発に至るおそれがある。そのため、漏れた水素への引火による炎を検出し警報するために、水素炎を検知する炎検知器の重要性が高まっている。
【0008】
本発明は上記のような課題に着目してなされたもので、その目的とするところは、センサーの前面側を覆うカバーガラスの結露による曇りを除去するためのヒーターを備えた検知器において、ヒーターの消費電力を抑え電力効率を向上させることにある。
本発明の他の目的は、結露除去用のヒーターを備えた検知器において、ケースへの熱伝導によってカバーガラスの温度上昇速度が遅くなり、正常な検知機能を発揮できない状態(未警戒時間)が長くなるのを回避することができるようにすることにある。
【課題を解決するための手段】
【0009】
上記課題を解決するために、この発明は、
検知対象の事象を検出する機能を有する回路基板を内蔵した筐体と、
前記筐体の正面側に設けられた開口部に臨むようにして前記筐体の内部に配設され、検知対象が発する所定波長光を受光する1または2以上の検知用受光素子と、
前記開口部と前記1または2以上の検知用受光素子との間に設けられた透明な保護カバーと、
前記保護カバーの内側の面に接するように設けられた加熱手段と、
を備えた検知器において、
前記回路基板には、前記加熱手段を作動させる信号を生成する制御回路が搭載されており、
前記開口部の縁部の近傍であって前記筐体の内面の前記保護カバーと接する部位には、前記開口部の縁部に沿って1または2以上の溝が形成されているように構成したものである。
【0010】
上記のような構成を有する検知器によれば、筐体の内面の保護カバーと接する部位に溝が設けられることで保護カバーと金属製の筐体(ケース)との接触面積が減少するため、結露を除去するために加熱手段から保護カバーに付与された熱が筐体に伝達するのを抑制し、効率よく保護カバーを加熱することができ、それによってヒーターの消費電力を抑え電力効率を向上させることができる。また、ケースへの熱伝導によってカバーガラスの温度上昇速度が遅くなり、正常な検知機能を発揮できない状態(未警戒時間)が長くなるのを回避することができる。
(【0011】以降は省略されています)
この特許をJ-PlatPat(特許庁公式サイト)で参照する
関連特許
日本精機株式会社
警報システム
2か月前
株式会社SUBARU
車両
22日前
個人
自動電動車椅子
1か月前
スズキ株式会社
運転支援装置
1か月前
エムケー精工株式会社
車両誘導装置
2か月前
ニッタン株式会社
検知器
1か月前
個人
磁気路上での車両の路線離脱防御
1か月前
株式会社国際電気
防災システム
2か月前
ニッタン株式会社
検知器
29日前
ニッタン株式会社
検知器
1か月前
ニッタン株式会社
検知器
1か月前
大阪瓦斯株式会社
音声出力システム
28日前
日本信号株式会社
異常走行検出装置
1か月前
ダイハツ工業株式会社
移動支援装置
14日前
トヨタ自動車株式会社
サーバ
4日前
株式会社SUBARU
運転支援装置
1か月前
株式会社小糸製作所
移動体検出装置
1か月前
トヨタ自動車株式会社
サーバ
1か月前
三菱自動車工業株式会社
制御システム
28日前
株式会社デンソー
運航管理装置
21日前
株式会社小糸製作所
車両検出システム
1か月前
株式会社CCT
通信装置及び表示方法
29日前
日本精機株式会社
報知装置及び報知システム
1か月前
株式会社SUBARU
事故情報収集装置
22日前
能美防災株式会社
火災感知器
1か月前
株式会社 ミックウェア
車内環境制御システム
17日前
ヨシモトポール株式会社
接近報知システム
1か月前
株式会社SUBARU
車室内異常検知装置
22日前
ホーチキ株式会社
火災検出システム
24日前
本田技研工業株式会社
物体検出装置
2か月前
能美防災株式会社
非常伝達装置
1か月前
株式会社関電工
車両運行通知システム
17日前
株式会社豊田中央研究所
注意喚起装置
1か月前
能美防災株式会社
火災感知器及び火災報知システム
21日前
シャープ株式会社
駐車制御装置
1か月前
大阪瓦斯株式会社
音声出力装置
23日前
続きを見る
他の特許を見る