TOP
|
特許
|
意匠
|
商標
特許ウォッチ
Twitter
他の特許を見る
公開番号
2025126965
公報種別
公開特許公報(A)
公開日
2025-09-01
出願番号
2024023373
出願日
2024-02-20
発明の名称
垂直循環バケットコンベヤによる粉粒体の搬送方法
出願人
株式会社トクヤマ
代理人
個人
,
個人
主分類
B65G
17/12 20060101AFI20250825BHJP(運搬;包装;貯蔵;薄板状または線条材料の取扱い)
要約
【課題】
低比重の粉粒体を垂直循環バケットコンベヤにより搬送する際に、バケットとコンベヤのケーシング側の排出口との隙間から、粉粒体が落下しないようにする。
【構成】
複数のバケットをチェーンに固定し垂直循環させる垂直循環バケットコンベヤにより、バケットコンベヤのケーシングに設けた投入口と排出口の間で、粉粒体を垂直搬送する。少なくとも排出口に、排出口からバケット側へ突出するプレートを、着脱自在に、かつバケットが間欠的にプレートに接触するように取り付ける。これにより排出口とバケットとのギャップを縮めると共に、バケットとプレートとの接触による衝撃で、プレート上に蓄積した粉粒体を排出口側へ払い落とす。
【選択図】 図2
特許請求の範囲
【請求項1】
複数のバケットをチェーンに固定し垂直循環させる垂直循環バケットコンベヤにより、前記バケットコンベヤのケーシングに設けた投入口と排出口の間で、粉粒体を垂直搬送する方法であって、
少なくとも前記排出口に、排出口からバケット側へ突出するプレートを、着脱自在に、かつバケットが間欠的に前記プレートに接触するように取り付けることにより、
排出口とバケットとのギャップを縮めると共に、
バケットとプレートとの接触による衝撃で、プレート上に蓄積した粉粒体を排出口側へ払い落とす、
ことを特徴とする、垂直循環バケットコンベヤによる粉粒体の搬送方法。
続きを表示(約 240 文字)
【請求項2】
前記プレートを、排出口と前記投入口の双方に取り付けることを特徴とする、請求項1の垂直循環バケットコンベヤによる粉粒体の搬送方法。
【請求項3】
前記プレートがフッ素樹脂製であることを特徴とする、請求項1または2の垂直循環バケットコンベヤによる粉粒体の搬送方法。
【請求項4】
前記プレートを、バケット側へ突出する長さを調整自在に取り付けることを特徴とする、請求項1または2の垂直循環バケットコンベヤによる粉粒体の搬送方法。
発明の詳細な説明
【技術分野】
【0001】
この発明は垂直循環バケットコンベヤによる粉粒体の搬送方法に関し、例えば廃石膏ボードを破砕した二水石膏粉から成る粒体の搬送方法に関する。この明細書で、粉粒体は粉体あるいは粒体をいう。
続きを表示(約 1,700 文字)
【背景技術】
【0002】
発明者らは、廃石膏ボードからの石膏の回収に取り組んできた(特許文献1)。発明者らの開発した方法では、廃石膏ボードを破砕し篩に掛け、紙片と石膏塊とを分離する。次いで磁選機により金属異物を除き、2次破砕により石膏の粉粒体と紙片とを分離する。必要に応じてエアテーブルなどにより砂利などの重量異物を除く。得られた二水石膏をか焼し、半水およびまたは無水III型石膏の粉粒体とする。か焼後の石膏を石膏スラリーと混合し、晶析槽で二水石膏粒子を析出させ、二水石膏の粉体をろ別し、ろ液は晶析槽等へ還流させる。
【先行技術文献】
【特許文献】
【0003】
特開2021-79303
【発明の概要】
【発明が解決しようとする課題】
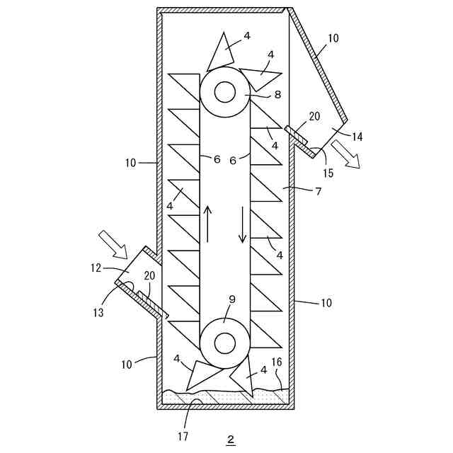
【0004】
石膏スラリーとの混合までの工程では、設備の配置上の都合で、石膏の粉粒体を高い位置へ搬送することがある。粉粒体の成分は二水石膏で、石膏ボード中では細い針状結晶の凝集体で空隙率が高いため、極めて低比重である。また廃石膏ボードが雨に濡れるなどにより、粉粒体は湿気って付着性が増していることがある。
【0005】
このような石膏の粉粒体を垂直循環バケットコンベヤのバケットにより上昇させ、排出口でバケットを回転させ、粉粒体を排出する。廃石膏ボード由来の石膏の粉粒体は低比重なため、遠心力はほとんど働かず、粉粒体は水平方向に充分移動せず、バケットの前縁とコンベヤのケーシングの隙間から落下し、ケーシングの底部に溜まる。また石膏の粉粒体は流動性が低くかつ付着性が有るので、排出口でケーシングに付着して盛り上がることがある。すると後続の石膏の粉粒体は排出口を通過できずに隙間から落下し、コンベヤのケーシングの底部に溜まる。
【0006】
ケーシングの底部に溜まった石膏の粉粒体は、バケットで掻き取られて搬送される。しかしケーシング底部に石膏の粉粒体が溜まると、粉粒体を排出口とケーシングの底部との間で循環させることになり、搬送は非効率になる。極端な場合、ケーシングの底部に大量の粉粒体が溜まり、コンベヤが停止する。
【0007】
このような問題は排出口に限らず、石膏の粉粒体の投入口でも同様である。粉粒体を水平移動させる力が弱いので、粉粒体は投入口とバケットの隙間から落下しやすい。また投入口に石膏の粉粒体が溜まると、後続の粉粒体は溜まった粉粒体を乗り越える過程で水平方向の速度を失い、隙間からケーシングの底部へ落下する。
【0008】
この発明の課題は、廃石膏ボード由来の石膏の粉粒体などの、低比重の粉粒体を垂直循環バケットコンベヤにより搬送する際に、バケットとコンベヤのケーシング側の排出口との隙間から、粉粒体が落下しないようにすることにある。
【課題を解決するための手段】
【0009】
この発明は、複数のバケットをチェーンに固定し垂直循環させる垂直循環バケットコンベヤにより、前記バケットコンベヤのケーシングに設けた投入口と排出口の間で、粉粒体を垂直搬送する方法であって、
少なくとも前記排出口に、排出口からバケット側へ突出するプレートを、着脱自在に、かつバケットが間欠的に前記プレートに接触するように取り付けることにより、
排出口とバケットとのギャップを縮めると共に、
バケットとプレートとの接触による衝撃で、プレート上に蓄積した粉粒体を排出口側へ払い落とすことを特徴とする。
【0010】
この発明では、バケットとのギャップをプレートにより短縮できる。またプレート上に蓄積した粉粒体をバケットとの接触による衝撃で払い落とし、蓄積した粉粒体が後続の粉粒体の移動を妨げないようにできる。プレートをバケットよりも軟質の材料とすると、バケットの損傷を防止でき、排出口自体をバケットと接触させるのではなく、かつプレートは着脱自在なので、例えばプレートが損傷すると交換すれば良い。
(【0011】以降は省略されています)
この特許をJ-PlatPat(特許庁公式サイト)で参照する
関連特許
株式会社トクヤマ
組成物
11日前
株式会社トクヤマ
水硬性組成物
25日前
株式会社トクヤマ
窒化ケイ素基板
1か月前
株式会社トクヤマ
窒化ケイ素基板
18日前
株式会社トクヤマ
石膏粒体のか焼方法
1か月前
株式会社トクヤマ
シリコンエッチング液
4日前
株式会社トクヤマ
シリコンエッチング液
4日前
株式会社トクヤマ
ケトン誘導体の製造方法
3日前
株式会社トクヤマ
有機ケイ素化合物の製造方法
3日前
株式会社トクヤマ
改質フライアッシュの製造方法
11日前
株式会社トクヤマ
チオラクトン誘導体の製造方法
21日前
株式会社トクヤマデンタル
歯科用硬化性組成物およびその製造方法
21日前
株式会社トクヤマ
廃石膏粒体の貯蔵方法および貯蔵システム
1か月前
株式会社トクヤマ
有機ケイ素化合物の製造方法及び濾過装置
3日前
株式会社トクヤマ
廃石膏ボードから紙片と石膏粒体を回収する方法
1か月前
株式会社トクヤマ
垂直循環バケットコンベヤによる粉粒体の搬送方法
1か月前
株式会社トクヤマ
ジオポリマー組成物及びジオポリマー組成物の製造方法
11日前
株式会社トクヤマデンタル
ポリウレタン系歯科切削加工用ミルブランクとその製造方法
6日前
株式会社トクヤマ
高純度水酸化テトラアルキルアンモニウム水溶液の製造方法
1か月前
株式会社トクヤマデンタル
多成分系液状組成物調整キットの製造方法、及びこれに用いる治具
1か月前
株式会社トクヤマ
窒化アルミニウム焼結基板、その製造方法および電子回路用絶縁基板
17日前
株式会社トクヤマ
デリバリー用複合粒子、ならびにその製造方法およびその製造キット
17日前
株式会社トクヤマ
縞状流体の形成方法、化学物質の製造方法、及び縞状流体の形成装置
11日前
株式会社トクヤマ
縞状流体の形成方法、化学物質の製造方法、及び縞状流体の形成装置
11日前
株式会社トクヤマ
縞状流体の形成方法、化学物質の製造方法、及び縞状流体の形成装置
2か月前
株式会社トクヤマ
シリコンエッチング抑制剤、エッチング液、基板の処理方法及び半導体素子の製造方法
10日前
個人
収容箱
3か月前
個人
コンベア
5か月前
個人
段ボール箱
7か月前
個人
段ボール箱
6か月前
個人
ゴミ収集器
6か月前
個人
角筒状構造体
5か月前
個人
宅配システム
6か月前
個人
バンド
1か月前
個人
楽ちんハンド
4か月前
個人
包装容器
1か月前
続きを見る
他の特許を見る