TOP
|
特許
|
意匠
|
商標
特許ウォッチ
Twitter
他の特許を見る
公開番号
2025127421
公報種別
公開特許公報(A)
公開日
2025-09-01
出願番号
2024096383
出願日
2024-06-14
発明の名称
ホルダーパンツ
出願人
日本製紙クレシア株式会社
代理人
個人
,
個人
主分類
A41B
9/04 20060101AFI20250825BHJP(衣類)
要約
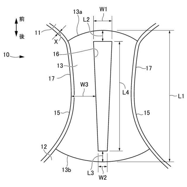
【課題】尿漏れを抑えることが可能なホルダーパンツを提供する。
【解決手段】本開示は、着用時に着用者の腹側に位置する前身頃11と、背側に位置する後身頃12と、股下に位置するクロッチ部13と、着用者の脚を挿通させる左右の脚開口15とを備え、吸収性パッドを保持するために用いられるホルダーパンツ10であって、クロッチ部13の幅方向の中央に配置されて前後方向に延びる開口16と、左右の脚開口15の縁部に左右1本ずつ配置されて左右の脚開口15に沿って延びる脚周り弾性部材17と、を備え、脚周り弾性部材17と開口16とが最も近接する位置における脚周り弾性部材17の幅方向の外端と開口16との幅方向の離間距離は、30mm以上60mm以下である。
【選択図】図2
特許請求の範囲
【請求項1】
着用時に着用者の腹側に位置する前身頃と、背側に位置する後身頃と、股下に位置する股下部と、着用者の脚を挿通させる左右の脚開口とを備え、吸収性パッドを保持するために用いられるホルダーパンツであって、
前記股下部の幅方向の中央に配置されて前後方向に延びる開口と、
前記左右の脚開口の縁部に左右1本ずつ配置されて前記左右の脚開口に沿って延びる脚周り弾性部材と、を備え、
前記脚周り弾性部材と前記開口とが最も近接する位置における前記脚周り弾性部材の幅方向の外端と前記開口との幅方向の離間距離は、30mm以上60mm以下である
ことを特徴とするホルダーパンツ。
続きを表示(約 230 文字)
【請求項2】
前記脚周り弾性部材は、編みゴムのゴム紐である
ことを特徴とする請求項1に記載のホルダーパンツ。
【請求項3】
前記脚周り弾性部材の部材幅は、9mm以上12mm以下である
ことを特徴とする請求項1又は請求項2に記載のホルダーパンツ。
【請求項4】
前記脚周り弾性部材の伸長応力は、0.35N/mm以上0.60N/mm以下である
ことを特徴とする請求項1又は請求項2に記載のホルダーパンツ。
発明の詳細な説明
【技術分野】
【0001】
本開示は、ホルダーパンツに関する。
続きを表示(約 1,300 文字)
【背景技術】
【0002】
従来、尿取りパッドや生理用ナプキン等の吸収性パッドを着用者の股下で保持するためにホルダーパンツが用いられている。着用者は、吸収性パッドが体液を吸収した後に吸収性パッドのみを新たな吸収性パッドと交換すればよく、ホルダーパンツ自体は必要に応じて洗濯すれば繰り返し利用でき、コスト的なメリットや環境への負荷も軽減できる。
【0003】
例えば、特許文献1には、生理用ナプキン用のホルダーパンツとして、前身頃、後身頃、及び両者間に位置する股布部で構成され、前身頃と後身頃ともに胴回り上部に前身頃腰帯部、後身頃腰帯部を有する生理用ショーツが開示されている。この生理用ショーツの後身頃腰帯部には、サポートショーツが縫合されて固定的に取り付けられている。サポートショーツは、後身頃縫合部、前身頃固定部、及びこれらの両者間に位置する跨ぎ部からなる。サポートショーツの跨ぎ部の細帯区域には、会陰周辺に当接する部位から尿道口周辺に当接する部位にかけて細帯開放口が設けられ、ナプキン等の安定的保持と経血漏れを防止する。また、サポートショーツの前身頃固定部は、ナプキンの押圧感を調整するための二本の接合帯で構成される。
【先行技術文献】
【特許文献】
【0004】
特開2022-000201号公報
【発明の概要】
【発明が解決しようとする課題】
【0005】
従来のホルダーパンツは、パンツ用パッドや尿取りパッド(以下、単に「尿取りパッド」という。)を装着した際、着圧が強く、身体にフィットし過ぎてしまい、股部に尿を受け止める空間の余裕が保たれず、尿漏れが生じ易かった。
【0006】
特許文献1に記載の生理用ショーツは、経血に対するものであり、尿取りパッドに適したものではなく、排尿に対しての効果は不十分であった。
【0007】
そこで、本開示は、尿漏れを抑えることが可能なホルダーパンツの提供を目的とする。
【課題を解決するための手段】
【0008】
上記課題を解決するため、本発明の第1の態様は、着用時に着用者の腹側に位置する前身頃と、背側に位置する後身頃と、股下に位置する股下部と、着用者の脚を挿通させる左右の脚開口とを備え、吸収性パッドを保持するために用いられるホルダーパンツであって、前記股下部の幅方向の中央に配置されて前後方向に延びる開口と、前記左右の脚開口の縁部に左右1本ずつ配置されて前記左右の脚開口に沿って延びる脚周り弾性部材と、を備え、前記脚周り弾性部材と前記開口とが最も近接する位置における前記脚周り弾性部材の幅方向の外端と前記開口との幅方向の離間距離は、30mm以上60mm以下である。
【0009】
本発明の第2の態様は、上記第1の態様のホルダーパンツであって、前記脚周り弾性部材は、編みゴムのゴム紐である。
【0010】
本発明の第3の態様は、上記第1の態様又は上記第2の態様のホルダーパンツであって、前記脚周り弾性部材の部材幅は、9mm以上12mm以下である。
(【0011】以降は省略されています)
この特許をJ-PlatPat(特許庁公式サイト)で参照する
関連特許
日本製紙クレシア株式会社
キッチンタオルロール
12日前
個人
和服
5か月前
個人
衿芯
2か月前
個人
シャツ
21日前
個人
ネクタイ
21日前
個人
二部式袍
8か月前
個人
靴下
9か月前
個人
下着
3か月前
個人
衣装
5か月前
個人
多機能装身具
1か月前
個人
マスク
21日前
個人
簡単帯
9か月前
個人
シャツ改造方法
5か月前
個人
ショーツ
9か月前
個人
肩章付き衣服。
3か月前
個人
:マスクカバー
1か月前
個人
作業補助ミトン
7か月前
個人
車椅子用グローブ
1か月前
個人
ソフトキャミブラ
5か月前
個人
手袋
6か月前
株式会社聖
手足保護具
8か月前
個人
足首用サポーター
7か月前
個人
内フィルムマスク
2日前
東洋紡株式会社
マスク
今日
個人
レインコート
4か月前
興和株式会社
マスク
7か月前
グンゼ株式会社
衣服
5か月前
個人
被介護者用上衣
2か月前
個人
防水マスク
9か月前
個人
ヘアアクセサリー
9か月前
個人
マスク(多機能マスク)
1か月前
個人
ワイヤー付き衣類
9か月前
株式会社カネカ
収納物
7か月前
西垣靴下株式会社
靴下
9か月前
個人
ブラカップを有する衣類
12日前
株式会社マルイチ
2部式着物
6日前
続きを見る
他の特許を見る