TOP
|
特許
|
意匠
|
商標
特許ウォッチ
Twitter
他の特許を見る
10個以上の画像は省略されています。
公開番号
2025127469
公報種別
公開特許公報(A)
公開日
2025-09-01
出願番号
2025025427
出願日
2025-02-19
発明の名称
垂直型発光ダイオードパッケージ構造及びその製造方法
出願人
晶呈科技股分有限公司
代理人
個人
,
個人
,
個人
主分類
H10H
20/857 20250101AFI20250825BHJP()
要約
【課題】垂直型発光ダイオードパッケージ構造及びその製造方法を提供する。
【解決手段】第1基板と、第1発光素子と、を含む第1構造層と、第2基板と、第2発光素子と、を含み、第1構造層に接続される第2構造層と、第3基板と、第3発光素子と、を含む第3構造層と、を備え、第3構造層は、第2構造層が第1構造層と第3構造層との間に位置するように、第2構造層に接続され、第1発光素子、第2発光素子及び第3発光素子は、第1基板、第2基板及び第3基板の上面にそれぞれ設けられる垂直型発光ダイオードパッケージ構造。これによって、パッケージング後の構造サイズを効果的に縮小し、ダイボンディング工程を簡略化し、且つ試験と修復の難易度を低減させることができる。
【選択図】図1A
特許請求の範囲
【請求項1】
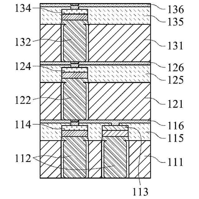
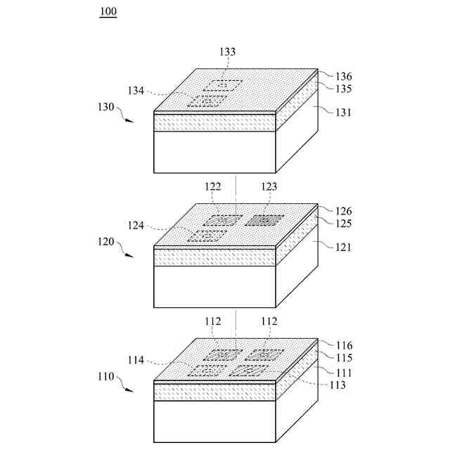
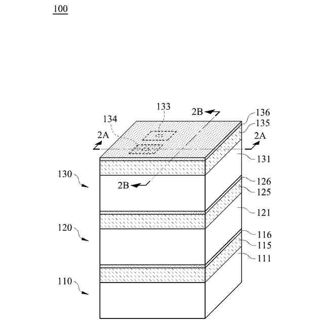
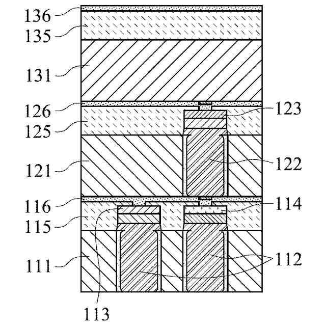
上面及び前記上面に対向する下面を有する第1基板と、それぞれ前記第1基板の前記上面から前記下面まで貫通される4つの第1導電部材と、前記4つの第1導電部材のうちの一方の、前記上面に位置する端面に設けられ且つ電気的に接続される第1発光素子と、前記4つの第1導電部材のうちの他方の、前記上面に位置する端面に設けられ且つ電気的に接続される第1ダミープラグと、を含む第1構造層と、
上面及び前記上面に対向する下面を有する第2基板と、それぞれ前記第2基板の前記上面から前記下面まで貫通され、且つそれぞれ前記4つの第1導電部材のうち、前記第1発光素子が設けられていない3つに電気的に接続される3つの第2導電部材と、前記3つの第2導電部材のうちの一方の、前記上面に位置する端面に設けられ且つ電気的に接続される第2発光素子と、前記3つの第2導電部材のうちの他方の、前記上面に位置する端面に設けられ且つ電気的に接続される第2ダミープラグと、を含み、前記第1構造層に接続される第2構造層と、
上面及び前記上面に対向する下面を有する第3基板と、それぞれ前記第3基板の前記上面から前記下面まで貫通され、且つそれぞれ前記3つの第2導電部材のうち、前記第2発光素子が設けられていない2つに電気的に接続される2つの第3導電部材と、前記2つの第3導電部材のうちの一方の、前記上面に位置する端面に設けられ且つ電気的に接続される第3発光素子と、前記2つの第3導電部材のうちの他方の、前記上面に位置する端面に設けられ且つ電気的に接続される第3ダミープラグと、を含む第3構造層と、
を備え、
前記第3構造層は、前記第2構造層が前記第1構造層と前記第3構造層との間に位置するように、前記第2構造層に接続される垂直型発光ダイオードパッケージ構造。
続きを表示(約 1,700 文字)
【請求項2】
前記3つの第2導電部材は、それぞれ前記4つの第1導電部材のうち、前記第1発光素子が設けられていない前記3つに位置合わせて設けられ、且つ前記2つの第3導電部材は、それぞれ前記3つの第2導電部材のうち、前記第2発光素子が設けられていない前記2つに位置合わせて設けられる請求項1に記載の垂直型発光ダイオードパッケージ構造。
【請求項3】
前記3つの第2導電部材は、それぞれ前記4つの第1導電部材のうちの3つに位置合わせて設けられ、前記2つの第3導電部材は、それぞれ前記3つの第2導電部材のうちの2つに位置合わせて設けられ、且つ前記第1発光素子、前記第2発光素子、前記第3発光素子は、位置合わせて設けられる請求項1に記載の垂直型発光ダイオードパッケージ構造。
【請求項4】
前記4つの第1導電部材は、2×2のマトリクスで配列される請求項2又は請求項3に記載の垂直型発光ダイオードパッケージ構造。
【請求項5】
前記第1発光素子は、赤色発光素子であり、前記第2発光素子は、緑色発光素子であり、且つ前記第3発光素子は、青色発光素子である請求項1に記載の垂直型発光ダイオードパッケージ構造。
【請求項6】
4つの第1導電部材をそれぞれ第1基板の上面から下面まで貫通させる第1導電部材設置工程と、
第1発光素子と第1ダミープラグを前記4つの第1導電部材のうちの2つの、前記第1基板の前記上面に位置する端面にそれぞれ設け、且つそれぞれ前記2つの第1導電部材と電気的な接続を形成して、第1構造層を取得する第1配置工程と、
3つの第2導電部材をそれぞれ第2基板の上面から下面まで貫通させる第2導電部材設置工程と、
第2発光素子と第2ダミープラグを前記3つの第2導電部材のうちの2つの、前記第2基板の前記上面に位置する端面にそれぞれ設け、且つそれぞれ前記2つの第2導電部材と電気的な接続を形成して、第2構造層を取得する第2配置工程と、
2つの第3導電部材をそれぞれ第3基板の上面から下面まで貫通させる第3導電部材設置工程と、
第3発光素子と第3ダミープラグを前記2つの第3導電部材の、前記第3基板の前記上面に位置する端面にそれぞれ設け、且つそれぞれ前記2つの第3導電部材と電気的な接続を形成して、第3構造層を取得する第3配置工程と、
前記第1構造層、前記第2構造層、前記第3構造層を順にスタックし且つ接続し、前記3つの第2導電部材をそれぞれ前記4つの第1導電部材のうち、前記第1発光素子が設けられていない3つに電気的に接続し、且つ前記2つの第3導電部材をそれぞれ前記3つの第2導電部材のうち、前記第2発光素子が設けられていない2つに電気的に接続して、垂直型発光ダイオードパッケージ構造を形成する組み立て工程と、
を含む垂直型発光ダイオードパッケージ構造の製造方法。
【請求項7】
前記3つの第2導電部材は、それぞれ前記4つの第1導電部材のうち、前記第1発光素子が設けられていない前記3つに位置合わせて設けられ、且つ前記2つの第3導電部材は、それぞれ前記3つの第2導電部材のうち、前記第2発光素子が設けられていない前記2つに位置合わせて設けられる請求項6に記載の垂直型発光ダイオードパッケージ構造の製造方法。
【請求項8】
前記3つの第2導電部材は、それぞれ前記4つの第1導電部材のうちの3つに位置合わせて設けられ、前記2つの第3導電部材は、それぞれ前記3つの第2導電部材のうちの2つに位置合わせて設けられ、且つ前記第1発光素子、前記第2発光素子、前記第3発光素子は、位置合わせて設けられる請求項6に記載の垂直型発光ダイオードパッケージ構造の製造方法。
【請求項9】
前記4つの第1導電部材は、2×2のマトリクスで配列される請求項7又は請求項8に記載の垂直型発光ダイオードパッケージ構造の製造方法。
【請求項10】
前記第1発光素子は、赤色発光素子であり、前記第2発光素子は、緑色発光素子であり、且つ前記第3発光素子は、青色発光素子である請求項6に記載の垂直型発光ダイオードパッケージ構造の製造方法。
発明の詳細な説明
【技術分野】
【0001】
本発明は、発光ダイオードパッケージ構造に関し、特に製造の便利性を向上させ且つサイズを縮小することができる垂直型発光ダイオードパッケージ構造及びその製造方法に関する。
続きを表示(約 2,400 文字)
【背景技術】
【0002】
周知の発光ダイオードパッケージ構造は、発光ダイオードとダミープラグ(dummy plug)を基板に固定し、発光ダイオードとダミープラグを電気的に接続してからコロイドパッケージを行う。しかしながら、周知のパッケージ構造では、発光ダイオードは、水平に配列され、即ち、異なる色の発光ダイオードは、水平方向に別々に配列しなければならず、パッケージ構造の体積が大きすぎて、マイクロ化を実現することが困難である。
【発明の概要】
【課題を解決するための手段】
【0003】
本発明の一態様によれば、上面及び上面に対向する下面を有する第1基板と、それぞれ第1基板の上面から下面まで貫通される4つの第1導電部材と、第1導電部材のうちの一方の、上面に位置する端面に設けられ且つ電気的に接続される第1発光素子と、第1導電部材のうちの他方の、上面に位置する端面に設けられ且つ電気的に接続される第1ダミープラグと、を含む第1構造層と、上面及び上面に対向する下面を有する第2基板と、それぞれ第2基板の上面から下面まで貫通され、且つそれぞれ第1導電部材のうち、第1発光素子が設けられていない3つに電気的に接続される3つの第2導電部材と、第2導電部材のうちの一方の、上面に位置する端面に設けられ且つ電気的に接続される第2発光素子と、第2導電部材のうちの他方の、上面に位置する端面に設けられ且つ電気的に接続される第2ダミープラグと、を含み、第1構造層に接続される第2構造層と、上面及び上面に対向する下面を有する第3基板と、それぞれ第3基板の上面から下面まで貫通され、且つそれぞれ第2導電部材のうち、第2発光素子が設けられていない2つに電気的に接続される2つの第3導電部材と、第3導電部材のうちの一方の、上面に位置する端面に設けられ且つ電気的に接続される第3発光素子と、第3導電部材のうちの他方の、上面に位置する端面に設けられ且つ電気的に接続される第3ダミープラグと、を含む第3構造層と、を備え、第3構造層は、第2構造層が第1構造層と第3構造層との間に位置するように、第2構造層に接続される垂直型発光ダイオードパッケージ構造を提供する。
【0004】
前記垂直型発光ダイオードパッケージ構造によれば、第2導電部材は、それぞれ第1導電部材のうち、第1発光素子が設けられていない3つに位置合わせて設けられてもよく、且つ第3導電部材は、それぞれ第2導電部材のうち、第2発光素子が設けられていない2つに位置合わせて設けられてもよい。
【0005】
前記垂直型発光ダイオードパッケージ構造によれば、第2導電部材は、それぞれ第1導電部材のうちの3つに位置合わせて設けられてもよく、第3導電部材は、それぞれ第2導電部材のうちの2つに位置合わせて設けられてもよく、且つ第1発光素子、第2発光素子、第3発光素子は、位置合わせて設けられてもよい。
【0006】
前記垂直型発光ダイオードパッケージ構造によれば、第1導電部材は、2×2のマトリクスで配列されてもよい。
【0007】
前記垂直型発光ダイオードパッケージ構造によれば、第1発光素子は、赤色発光素子であってもよく、第2発光素子は、緑色発光素子であってもよく、且つ第3発光素子は、青色発光素子であってもよい。
【0008】
本発明の別の態様によれば、4つの第1導電部材をそれぞれ第1基板の上面から下面まで貫通させる第1導電部材設置工程と、第1発光素子と第1ダミープラグを第1導電部材のうちの2つの、第1基板の上面に位置する端面にそれぞれ設け、且つそれぞれその2つの第1導電部材と電気的な接続を形成して、第1構造層を取得する第1配置工程と、3つの第2導電部材をそれぞれ第2基板の上面から下面まで貫通させる第2導電部材設置工程と、第2発光素子と第2ダミープラグを第2導電部材のうちの2つの、第2基板の上面に位置する端面にそれぞれ設け、且つそれぞれその2つの第2導電部材と電気的な接続を形成して、第2構造層を取得する第2配置工程と、2つの第3導電部材をそれぞれ第3基板の上面から下面まで貫通させる第3導電部材設置工程と、第3発光素子と第3ダミープラグを第3導電部材の、第3基板の上面に位置する端面にそれぞれ設け、且つそれぞれ第3導電部材と電気的な接続を形成して、第3構造層を取得する第3配置工程と、第1構造層、第2構造層、第3構造層を順にスタックし且つ接続し、第2導電部材をそれぞれ第1導電部材のうち、第1発光素子が設けられていない3つに電気的に接続し、且つ第3導電部材をそれぞれ第2導電部材のうち、第2発光素子が設けられていない2つに電気的に接続して、垂直型発光ダイオードパッケージ構造を形成する組み立て工程と、を含む垂直型発光ダイオードパッケージ構造の製造方法を提供する。
【0009】
前記垂直型発光ダイオードパッケージ構造の製造方法によれば、第2導電部材は、それぞれ第1導電部材のうち、第1発光素子が設けられていない3つに位置合わせて設けられてもよく、且つ第3導電部材は、それぞれ第2導電部材のうち、第2発光素子が設けられていない2つに位置合わせて設けられてもよい。
【0010】
前記垂直型発光ダイオードパッケージ構造の製造方法によれば、第2導電部材は、それぞれ第1導電部材のうちの3つに位置合わせて設けられてもよく、第3導電部材は、それぞれ第2導電部材のうちの2つに位置合わせて設けられてもよく、且つ第1発光素子、第2発光素子、第3発光素子は、位置合わせて設けられてもよい。
(【0011】以降は省略されています)
この特許をJ-PlatPat(特許庁公式サイト)で参照する
関連特許
晶呈科技股分有限公司
ウェハ表面膜層の検出方法
6か月前
晶呈科技股分有限公司
発光ダイオードチップ及びその製造方法
7日前
晶呈科技股分有限公司
ウエハ欠陥の解析装置及びウエハ欠陥の解析方法
3か月前
晶呈科技股分有限公司
発光ダイオードのパッケージ構造及びその製造方法
11か月前
晶呈科技股分有限公司
垂直型発光ダイオードパッケージ構造及びその製造方法
1か月前
エイブリック株式会社
半導体装置
1か月前
エイブリック株式会社
半導体装置
今日
富士電機株式会社
半導体装置
1か月前
富士電機株式会社
半導体装置
3日前
富士電機株式会社
半導体装置
21日前
富士電機株式会社
半導体装置
1か月前
富士電機株式会社
半導体装置
1か月前
富士電機株式会社
半導体装置
1か月前
三菱電機株式会社
半導体装置
1か月前
国立大学法人 和歌山大学
光検出器
1か月前
AGC株式会社
太陽電池モジュール
6日前
三菱電機株式会社
半導体装置
1か月前
キヤノン株式会社
有機発光素子
13日前
ミツミ電機株式会社
半導体装置
今日
株式会社半導体エネルギー研究所
半導体装置
1か月前
日亜化学工業株式会社
発光素子
1日前
ミツミ電機株式会社
センサ装置
1か月前
株式会社半導体エネルギー研究所
半導体装置
22日前
日亜化学工業株式会社
発光装置
21日前
株式会社半導体エネルギー研究所
半導体装置
1か月前
住友電気工業株式会社
半導体装置
13日前
ローム株式会社
TVSダイオード
1日前
ローム株式会社
TVSダイオード
1日前
株式会社半導体エネルギー研究所
発光デバイス
1か月前
ローム株式会社
半導体装置
1日前
ローム株式会社
窒化物半導体装置
27日前
住友電気工業株式会社
半導体装置
13日前
株式会社東芝
熱電変換装置
1日前
ローム株式会社
窒化物半導体装置
1か月前
ローム株式会社
窒化物半導体装置
21日前
TDK株式会社
光検知装置
今日
続きを見る
他の特許を見る