TOP
|
特許
|
意匠
|
商標
特許ウォッチ
Twitter
他の特許を見る
公開番号
2025128236
公報種別
公開特許公報(A)
公開日
2025-09-02
出願番号
2025093041,2021153848
出願日
2025-06-04,2021-09-22
発明の名称
半導体装置
出願人
株式会社半導体エネルギー研究所
代理人
主分類
G11C
11/54 20060101AFI20250826BHJP(情報記憶)
要約
【課題】新規な半導体装置を提供する。
【解決手段】アナログの電流信号によって設定される重み値と、入力値と、の積和演算を
行う機能を有する半導体装置であって、アナログの電流信号は、可変抵抗素子とスイッチ
とが直列に電気的に接続された構成が複数並列に電気的に接続された回路を有する、デジ
タル・アナログ変換回路を用いて出力され、可変抵抗素子として強誘電体素子を用いる、
半導体装置である。強誘電体素子は、強誘電性を有する材料としてハフニウム及びジルコ
ニウムの一方、又は双方を含む酸化物を有する。
【選択図】図2
特許請求の範囲
【請求項1】
第1のデジタル・アナログ変換回路と、第2のデジタル・アナログ変換回路と、を有する半導体装置であって、
前記第1のデジタル・アナログ変換回路は、可変抵抗素子として機能する第1の強誘電体素子を有し、
前記第2のデジタル・アナログ変換回路は、可変抵抗素子として機能する第2の強誘電体素子を有し、
前記第1のデジタル・アナログ変換回路は、第1のデータに対応するアナログの第1の電流信号を生成する機能を有し、
前記第2のデジタル・アナログ変換回路は、第2のデータに対応するアナログの第2の電流信号を生成する機能を有し、
前記第1の電流信号と、前記第2の電流信号との積和演算を行う機能を有する、
半導体装置。
続きを表示(約 550 文字)
【請求項2】
第1のデジタル・アナログ変換回路と、第2のデジタル・アナログ変換回路と、を有する半導体装置であって、
前記第1のデジタル・アナログ変換回路は、可変抵抗素子として機能する第1の強誘電体素子を有し、
前記第2のデジタル・アナログ変換回路は、可変抵抗素子として機能する第2の強誘電体素子を有し、
前記第1のデジタル・アナログ変換回路は、重み係数に対応するアナログの第1の電流信号を生成する機能を有し、
前記第2のデジタル・アナログ変換回路は、入力値に対応するアナログの第2の電流信号を生成する機能を有し、
前記第1の電流信号と、前記第2の電流信号との積和演算を行う機能を有する、
半導体装置。
【請求項3】
請求項1又は請求項2において、
前記第1の強誘電体素子及び前記第2の強誘電体素子のそれぞれは、強誘電体トンネル接合を有する、
半導体装置。
【請求項4】
請求項1乃至請求項3のいずれか一において、
前記第1の強誘電体素子及び前記第2の強誘電体素子のそれぞれは、強誘電性を有する材料としてハフニウム及びジルコニウムのいずれか一方、又は双方を含む酸化物を有する、
半導体装置。
発明の詳細な説明
【技術分野】
【0001】
本発明の一態様は、半導体装置に関する。また、本明細書等で開示する発明の技術分野
は、物、駆動方法、または、製造方法に関するものである。
続きを表示(約 1,900 文字)
【0002】
より具体的には、本明細書で開示する本発明の一態様の技術分野として、半導体装置、
表示装置、液晶表示装置、発光装置、蓄電装置、撮像装置、記憶装置、信号処理装置、プ
ロセッサ、電子機器、システム、それらの駆動方法、それらの製造方法、またはそれらの
検査方法を一例として挙げることができる。
【背景技術】
【0003】
現在、人間の脳の仕組みを模した集積回路の開発が盛んに進められている。当該集積回
路は、脳の仕組みが電子回路として組み込まれており、人間の脳の「ニューロン」と「シ
ナプス」に相当する回路を有する。そのため、そのような集積回路を、「ニューロモーフ
ィック」、「ブレインモーフィック」、又は「ブレインインスパイア」と呼ぶこともある
。当該集積回路は、非ノイマン型アーキテクチャを有し、処理速度の増加に伴って消費電
力が大きくなるノイマン型アーキテクチャと比較して、極めて少ない消費電力で並列処理
を行えると期待されている。
【0004】
「ニューロン」と「シナプス」とを有する神経回路網を模した情報処理のモデルは、人工
ニューラルネットワーク(ANN)と呼ばれる。人工ニューラルネットワークを用いるこ
とで、人間並み、もしくは、人間を超える精度での推論も可能である。ニューラルネット
ワークでは、ニューロン出力の重み付け和の演算、すなわち、積和演算が主要な演算であ
る。
【0005】
非特許文献1には、不揮発性メモリ素子を用いた積和演算回路が提案されている。当該
積和演算回路では、各メモリ素子において、チャネル形成領域にシリコンを有するトラン
ジスタのサブスレッショルド領域での動作を利用して、各メモリ素子に格納した乗数に対
応したデータと被乗数に対応した入力データとの乗算に対応した電流を出力する。また、
各列のメモリ素子が出力する電流の和により、積和演算に対応したデータを取得する。当
該積和演算回路は、内部にメモリ素子を有しているため、乗算、加算において外部のメモ
リからのデータ読み出し及び書き込みを行わなくすることができる。このため、読み出し
及び書き込みなどに起因するデータ転送の回数を少なくすることができるため、消費電力
を低くできると期待されている。
【先行技術文献】
【非特許文献】
【0006】
X.Guo et al.,“Fast, Energy-Efficient, Robust, and Reproducible Mixed-Signal Neuromorphic Classifier Based on Embedded NOR Flash Memory Technology” IEDM2017, pp.151-154.
【発明の概要】
【発明が解決しようとする課題】
【0007】
積和演算をデジタル回路で実行する場合、乗数となるデジタルデータ(乗数データ)と
被乗数となるデジタルデータ(被乗数データ)の乗算をデジタル乗算回路にて実行し、当
該乗算で得られたデジタルデータ(積データ)の加算をデジタル加算回路にて実行し、当
積和演算の結果としてデジタルデータ(積和データ)を取得する。デジタル乗算回路、及
びデジタル加算回路は、多ビットの演算を取り扱える仕様であることが好ましいが、この
場合、デジタル乗算回路、及びデジタル加算回路のそれぞれの回路規模を大きくする必要
があるため、回路面積が増大し、また、消費電力も大きくなる恐れがある。
【0008】
本発明の一態様は、積和演算が可能な半導体装置を提供することを課題の一とする。又
は、本発明の一態様は、消費電力が低い半導体装置を提供することを課題の一とする。又
は、本発明の一態様は、回路面積が低減された半導体装置を提供することを課題の一とす
る。
【課題を解決するための手段】
【0009】
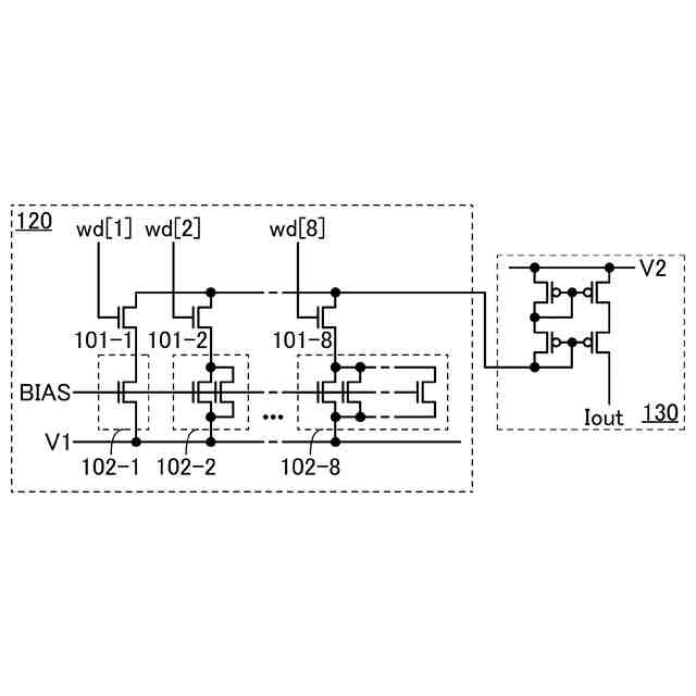
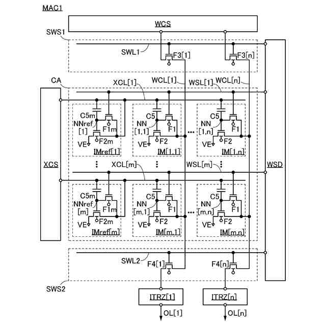
本発明の一態様は、アナログの電流信号によって設定される重み値と、入力値と、の積
和演算を行う機能を有する半導体装置(人工ニューラルネットワーク)である。
【0010】
なお、入力値の書き込みにおいても、アナログの電流信号を用いることができる。
(【0011】以降は省略されています)
この特許をJ-PlatPat(特許庁公式サイト)で参照する
関連特許
株式会社JVCケンウッド
ファイル管理方法
2か月前
キオクシア株式会社
半導体記憶装置
2日前
キオクシア株式会社
半導体装置
2か月前
ローム株式会社
メモリ装置
2日前
ローム株式会社
メモリ回路
1か月前
ローム株式会社
半導体装置
2か月前
キヤノン株式会社
撮像装置
1か月前
キオクシア株式会社
記憶装置
2日前
キオクシア株式会社
記憶装置
今日
日東電工株式会社
配線回路基板
3か月前
ローム株式会社
半導体記憶装置
1か月前
日東電工株式会社
配線回路基板
3か月前
株式会社東芝
磁気ヘッド、及び、磁気記録装置
1か月前
株式会社東芝
磁気ヘッド、及び、磁気記録装置
13日前
株式会社東芝
磁気ヘッド、及び、磁気記録装置
1か月前
株式会社東芝
磁気ヘッド、及び、磁気記録装置
1か月前
キオクシア株式会社
磁気メモリ
1か月前
株式会社東芝
磁気ヘッド、及び、磁気記録装置
1か月前
ローム株式会社
半導体記憶装置
5日前
ローム株式会社
半導体記憶装置
5日前
キオクシア株式会社
記憶装置
今日
株式会社パトライト
データ処理プログラム及び報知システム
2か月前
キオクシア株式会社
磁気記憶装置
2日前
キオクシア株式会社
半導体記憶装置
2か月前
キオクシア株式会社
半導体記憶装置
2か月前
キオクシア株式会社
半導体記憶装置
22日前
キヤノン株式会社
半導体装置および機器
2か月前
ニデックインスツルメンツ株式会社
磁気ヘッドおよびカードリーダ
1か月前
artience株式会社
磁気記録媒体用プライマーおよび磁気記録媒体
2か月前
株式会社東芝
磁気ディスク装置
22日前
株式会社東芝
磁気ディスク装置
13日前
ルネサスエレクトロニクス株式会社
電子装置
2か月前
キオクシア株式会社
半導体記憶装置
2日前
ルネサスエレクトロニクス株式会社
半導体装置
1か月前
国立大学法人 東京大学
読出回路及び磁気メモリ装置
12日前
ミネベアミツミ株式会社
ハードディスク駆動装置
26日前
続きを見る
他の特許を見る