TOP
|
特許
|
意匠
|
商標
特許ウォッチ
Twitter
他の特許を見る
10個以上の画像は省略されています。
公開番号
2025140726
公報種別
公開特許公報(A)
公開日
2025-09-29
出願番号
2024040284
出願日
2024-03-14
発明の名称
磁気記憶装置
出願人
キオクシア株式会社
代理人
弁理士法人鈴榮特許綜合事務所
主分類
G11C
11/16 20060101AFI20250919BHJP(情報記憶)
要約
【課題】動作性能を向上させることができる磁気記憶装置を提供する。
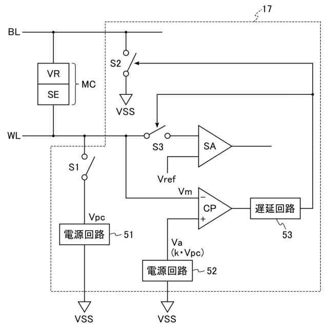
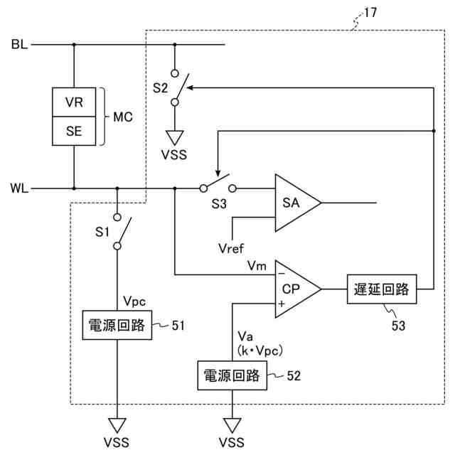
【解決手段】実施形態の磁気記憶装置は、メモリセルの電圧Vmとプリチャージ電圧Vpcより低い電圧Vaとを比較し、メモリセルの電圧が電圧Vaより低下したとき、第1信号を出力するコンパレータCPと、コンパレータから出力された第1信号を第1遅延時間、遅延して第2信号を出力する遅延回路53とを備える。読み出し動作において、スイッチS1が接続状態に設定され、スイッチS2が遮断状態に設定されて、メモリセルが電圧Vpcに充電される。メモリセルが電圧Vpcに充電された後、スイッチS1が遮断状態に設定され、スイッチS2が接続状態に設定されて、メモリセルの電荷が放電される。そして、第2信号に応じて、スイッチS3が遮断状態に設定され、センスアンプによりメモリセルの電圧Vmと電圧Vrefとが比較されて、メモリセルに記憶されたデータが判定される。
【選択図】図5
特許請求の範囲
【請求項1】
可変抵抗素子及びセレクタ素子を含むメモリセルと、
前記メモリセルに第1電圧を供給する第1電源回路と、
前記メモリセルと前記第1電源回路との間に接続され、前記メモリセルと前記第1電源回路との間を接続状態あるいは遮断状態のいずれかに設定する第1スイッチと、
接地電圧が供給される接地電圧ノードと前記メモリセルとの間に接続され、前記接地電圧ノードと前記メモリセルとの間を接続状態あるいは遮断状態のいずれかに設定する第2スイッチと、
前記メモリセルの電圧と前記第1電圧より低い第2電圧とを比較し、前記メモリセルの電圧が前記第2電圧より低下したとき、第1信号を出力するコンパレータと、
前記コンパレータから出力された前記第1信号を第1遅延時間、遅延して第2信号を出力する遅延回路と、
前記メモリセルの電圧と第3電圧とを比較するセンスアンプと、
前記メモリセルと前記センスアンプとの間に接続され、前記メモリセルと前記センスアンプとの間を接続状態あるいは遮断状態のいずれかに設定する第3スイッチと、
を備え、読み出し動作において、
前記第1スイッチが接続状態に設定され、前記第2スイッチが遮断状態に設定されて、前記メモリセルが前記第1電圧に充電され、
前記メモリセルが前記第1電圧に充電された後、前記第1スイッチが遮断状態に設定され、前記第2スイッチが接続状態に設定されて、前記メモリセルに充電された電荷が放電され、
前記第2信号に応じて、前記第3スイッチが遮断状態に設定され、前記センスアンプにより前記メモリセルの電圧と前記第3電圧とが比較されて、前記メモリセルに記憶されたデータが判定される、
磁気記憶装置。
続きを表示(約 1,400 文字)
【請求項2】
前記第2信号に応じて、前記第2スイッチが遮断状態に設定されて、前記メモリセルに充電された電荷の放電が停止される、
請求項1に記載の磁気記憶装置。
【請求項3】
前記メモリセルが前記第1電圧に充電された後、前記第2スイッチが接続状態に設定されて、前記メモリセルに充電された電荷が放電されて放電が停止したときに前記メモリセルが保持する電圧を第4電圧とすると、
前記第2電圧は、前記第1電圧より低く、前記第4電圧より高い、
請求項1に記載の磁気記憶装置。
【請求項4】
前記遅延回路による前記第1遅延時間は、前記コンパレータが前記第1信号を出力してから、前記放電により前記メモリセルが前記第4電圧に低下するまでの時間より短い、
請求項3に記載の磁気記憶装置。
【請求項5】
前記メモリセルが持つ抵抗成分をR、容量成分をCとすると、
前記遅延回路による前記第1遅延時間は、RCで表せる時定数の3倍以下である、
請求項1に記載の磁気記憶装置。
【請求項6】
第1配線及び第2配線をさらに備え、
前記第1配線と前記第2配線との間に前記メモリセルが接続され、
前記第1配線は前記第1スイッチに接続され、前記第2配線は、前記第2スイッチに接続され、
前記メモリセルの電圧は、前記第1配線が保持する電圧を含む、
請求項1に記載の磁気記憶装置。
【請求項7】
前記メモリセルと前記第1配線が持つ抵抗成分をR、容量成分をCとすると、
前記遅延回路による前記第1遅延時間は、RCで表せる時定数の3倍以下である、
請求項6に記載の磁気記憶装置。
【請求項8】
第1メモリセルと第2メモリセルに対する読み出し動作において、
前記コンパレータが前記第1メモリセルの電圧と前記第2電圧とを比較し、第1信号を出力してから、前記第3スイッチが遮断状態に設定されるまでの時間を第1時間とし、
前記コンパレータが前記第2メモリセルの電圧と前記第2電圧とを比較し、第1信号を出力してから、前記第3スイッチが遮断状態に設定されるまでの時間を第2時間とすると、
前記第1時間と前記第2時間は等しい、
請求項1に記載の磁気記憶装置。
【請求項9】
第1方向に延伸して設けられ、前記セレクタ素子に接続された第1配線と、
前記第1方向と交差する第2方向に延伸して設けられ、前記可変抵抗素子に接続された第2配線と、
をさらに備え、
前記第1スイッチは、前記第1配線と前記第1電源回路との間に接続され、
前記第2スイッチは、前記第2配線と前記接地電圧ノードとの間に接続され、
前記第1スイッチが接続状態に設定されたとき、前記第1電源回路から前記第1電圧が前記セレクタ素子及び前記第1配線に供給されて、前記セレクタ素子及び前記第1配線が前記第1電圧に充電され、
前記第2スイッチが接続状態に設定されたとき、前記セレクタ素子及び前記第1配線に充電された電荷が前記第2配線を介して放電される、
請求項1に記載の磁気記憶装置。
【請求項10】
前記セレクタ素子は、双方向ダイオードを含む、
請求項1に記載の磁気記憶装置。
(【請求項11】以降は省略されています)
発明の詳細な説明
【技術分野】
【0001】
本発明の実施形態は、磁気記憶装置に関する。
続きを表示(約 2,000 文字)
【背景技術】
【0002】
磁気抵抗効果素子を記憶素子として用いた磁気記憶装置(MRAM:Magnetoresistive Random Access Memory)が知られている。
【先行技術文献】
【特許文献】
【0003】
米国特許出願公開第2018/0342273号明細書
【発明の概要】
【発明が解決しようとする課題】
【0004】
動作性能を向上させることができる磁気記憶装置を提供する。
【課題を解決するための手段】
【0005】
実施形態の磁気記憶装置は、可変抵抗素子及びセレクタ素子を含むメモリセルと、前記メモリセルに第1電圧を供給する第1電源回路と、前記メモリセルと前記第1電源回路との間に接続され、前記メモリセルと前記第1電源回路との間を接続状態あるいは遮断状態のいずれかに設定する第1スイッチと、接地電圧が供給される接地電圧ノードと前記メモリセルとの間に接続され、前記接地電圧ノードと前記メモリセルとの間を接続状態あるいは遮断状態のいずれかに設定する第2スイッチと、前記メモリセルの電圧と前記第1電圧より低い第2電圧とを比較し、前記メモリセルの電圧が前記第2電圧より低下したとき、第1信号を出力するコンパレータと、前記コンパレータから出力された前記第1信号を第1遅延時間、遅延して第2信号を出力する遅延回路と、前記メモリセルの電圧と第3電圧とを比較するセンスアンプと、前記メモリセルと前記センスアンプとの間に接続され、前記メモリセルと前記センスアンプとの間を接続状態あるいは遮断状態のいずれかに設定する第3スイッチと、を備える。読み出し動作において、前記第1スイッチが接続状態に設定され、前記第2スイッチが遮断状態に設定されて、前記メモリセルが前記第1電圧に充電され、前記メモリセルが前記第1電圧に充電された後、前記第1スイッチが遮断状態に設定され、前記第2スイッチが接続状態に設定されて、前記メモリセルに充電された電荷が放電され、前記第2信号に応じて、前記第3スイッチが遮断状態に設定され、前記センスアンプにより前記メモリセルの電圧と前記第3電圧とが比較されて、前記メモリセルに記憶されたデータが判定される。
【図面の簡単な説明】
【0006】
実施形態に係る磁気記憶装置を含むメモリシステムの構成を示すブロック図である。
実施形態に係る磁気記憶装置が備えるメモリセルアレイの構成を示す回路図である。
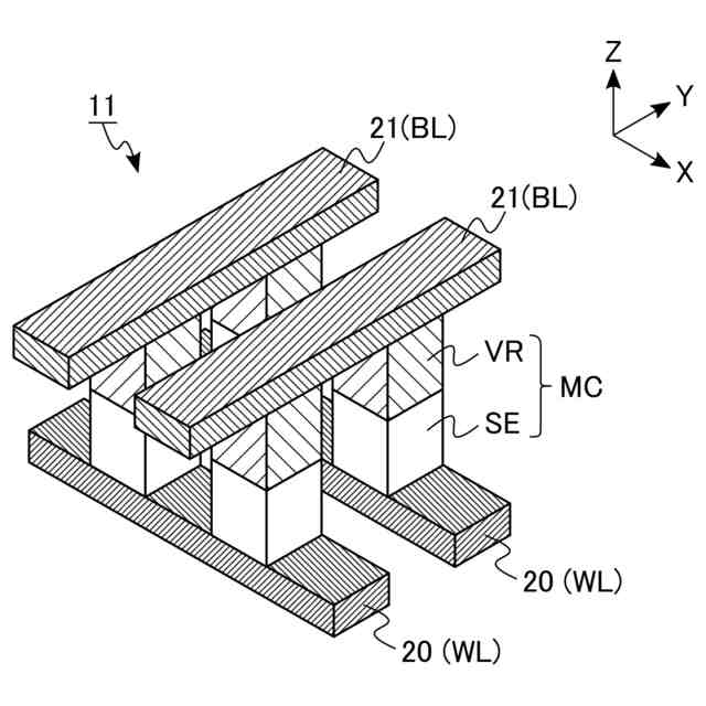
実施形態に係る磁気記憶装置が備えるメモリセルアレイの構造を示す斜視図である。
実施形態に係るメモリセルアレイ内のメモリセルの断面図である。
実施形態に係る磁気記憶装置が備える読み出し回路の構成を示す回路図である。
実施形態に係る読み出し回路内の遅延回路の構成例を示す図である。
実施形態に係る磁気記憶装置の読み出し動作におけるメモリセルの電圧の変化を示す図である。
実施形態に係る磁気記憶装置の読み出し動作の流れを示すフローチャートである。
実施形態に係る読み出し動作におけるスイッチの状態及び電流の流れを示す図である。
実施形態に係る読み出し動作におけるスイッチの状態及び電流の流れを示す図である。
実施形態に係る読み出し動作におけるスイッチの状態及び電流の流れを示す図である。
実施形態に係る読み出し動作におけるスイッチの状態及び電流の流れを示す図である。
【発明を実施するための形態】
【0007】
以下、図面を参照して実施形態について説明する。以下の説明において、同一の機能及び構成を有する構成要素については、共通する参照符号を付す。また、以下に示す実施形態は、この実施形態の技術的思想を具体化するための装置や方法を例示するものであって、構成部品の材質、形状、構造、及び配置等を下記のものに特定するものではない。
【0008】
(実施形態)
先ず、実施形態の磁気記憶装置を含むメモリシステムの一例について説明する。図1は、実施形態の磁気記憶装置を含むメモリシステムMSの構成を示すブロック図である。
【0009】
図1に示すように、メモリシステムMSは、磁気記憶装置1及びメモリコントローラ2を含む。磁気記憶装置1は、メモリコントローラ2の制御に基づいて動作する。メモリコントローラ2は、外部のホスト機器からの要求(あるいは、命令)に応答して、磁気記憶装置1に対して読み出し動作及び書き込み動作などの実行を命令し得る。
【0010】
1. 磁気記憶装置の構成
次に、図1を参照して、実施形態の磁気記憶装置1の構成について説明する。
(【0011】以降は省略されています)
この特許をJ-PlatPat(特許庁公式サイト)で参照する
関連特許
株式会社ナノバブル研究所
データ消去装置
2日前
キオクシア株式会社
半導体記憶装置
6日前
ローム株式会社
メモリ回路
1か月前
ローム株式会社
メモリ装置
6日前
キヤノン株式会社
撮像装置
1か月前
キオクシア株式会社
半導体記憶装置
2日前
キオクシア株式会社
記憶装置
4日前
キオクシア株式会社
記憶装置
6日前
株式会社東芝
磁気ヘッド、及び、磁気記録装置
1か月前
ローム株式会社
半導体記憶装置
9日前
ローム株式会社
半導体記憶装置
9日前
株式会社東芝
磁気ヘッド、及び、磁気記録装置
1か月前
株式会社東芝
磁気ヘッド、及び、磁気記録装置
1か月前
株式会社東芝
磁気ヘッド、及び、磁気記録装置
1か月前
キオクシア株式会社
記憶装置
4日前
キオクシア株式会社
磁気メモリ
1か月前
株式会社東芝
磁気ヘッド、及び、磁気記録装置
17日前
ローム株式会社
不揮発性メモリ装置
2日前
キオクシア株式会社
磁気記憶装置
6日前
ローム株式会社
不揮発性メモリ装置
2日前
ローム株式会社
不揮発性メモリ装置
2日前
キオクシア株式会社
メモリデバイス
2日前
キオクシア株式会社
メモリデバイス
2日前
キオクシア株式会社
メモリシステム
3日前
キオクシア株式会社
半導体記憶装置
26日前
キオクシア株式会社
半導体記憶装置
2日前
ローム株式会社
不揮発性半導体記憶装置
2日前
ニデックインスツルメンツ株式会社
磁気ヘッドおよびカードリーダ
1か月前
キオクシア株式会社
半導体記憶装置
2日前
キオクシア株式会社
半導体記憶装置、メモリシステム
3日前
株式会社東芝
磁気ディスク装置
26日前
株式会社東芝
磁気ディスク装置
17日前
キオクシア株式会社
半導体記憶装置
6日前
キオクシア株式会社
半導体装置及び記憶媒体
2日前
国立大学法人 東京大学
読出回路及び磁気メモリ装置
16日前
ルネサスエレクトロニクス株式会社
半導体装置
1か月前
続きを見る
他の特許を見る