TOP
|
特許
|
意匠
|
商標
特許ウォッチ
Twitter
他の特許を見る
10個以上の画像は省略されています。
公開番号
2025091303
公報種別
公開特許公報(A)
公開日
2025-06-18
出願番号
2023206503
出願日
2023-12-06
発明の名称
配線回路基板
出願人
日東電工株式会社
代理人
弁理士法人いくみ特許事務所
主分類
G11B
5/60 20060101AFI20250611BHJP(情報記憶)
要約
【課題】圧電素子の伸縮をより正確に制御できる配線回路基板を提供する。
【解決手段】
回路付サスペンション基板1は、圧電素子Pz1の一端部と電気的に接続される第1端子141Aを有する第1パターン141と、圧電素子Pz1の他端部と電気的に接続される第2端子1421Aを有する第2パターン142と、圧電素子Pz1が回路付サスペンション基板1に搭載された状態で、第1パターン141、第2パターン142および圧電素子Pz1からなる直列回路に対して並列接続される第3パターン143とを備える。第1パターン141および第2パターン142は、第1の電気抵抗率を有する第1の導体から作られる。第3パターン143は、第1の電気抵抗率よりも高い第2の電気抵抗率を有する第2の導体、または、半導体から作られる。
【選択図】図1
特許請求の範囲
【請求項1】
圧電素子を搭載可能な配線回路基板であって、
前記圧電素子の一端部と電気的に接続される第1端子を有する第1パターンと、
前記圧電素子の他端部と電気的に接続される第2端子と、前記第2端子と接続される配線とを有し、前記第1パターンから離れて配置される第2パターンと、
前記圧電素子が前記配線回路基板に搭載された状態で、前記第1パターン、前記第2パターンおよび前記圧電素子からなる直列回路に対して並列接続される配線を有する第3パターンと
を備え、
前記第2パターンの前記配線は、第1の電気抵抗率を有する第1の導体から作られ、
前記第3パターンの前記配線は、前記第1の電気抵抗率よりも高い第2の電気抵抗率を有する第2の導体、または、半導体から作られる、配線回路基板。
続きを表示(約 830 文字)
【請求項2】
前記第3パターンの前記配線の厚みは、前記第2パターンの前記配線の厚みよりも薄い、請求項1に記載の配線回路基板。
【請求項3】
前記第1の導体は、銅であり、
前記第2の導体、または、前記半導体は、クロム、ニッケル、チタン、錫、モリブデン、パラジウムからなる群から選択される少なくとも一種の金属を含有する、請求項1に記載の配線回路基板。
【請求項4】
金属支持層と、
前記金属支持層上に配置され、貫通穴を有する第1絶縁層と
をさらに備え、
前記第1パターンおよび第3パターンは、前記第1絶縁層の前記貫通穴を通して前記金属支持層と電気的に接続される、請求項1~3のいずれか一項に記載の配線回路基板。
【請求項5】
金属支持層と、
前記金属支持層上に配置される第1絶縁層と
をさらに備え、
前記第2パターンおよび前記第3パターンは、前記第1絶縁層上に配置される、請求項1~3のいずれか一項に記載の配線回路基板。
【請求項6】
金属支持層と、
前記金属支持層上に配置される第1絶縁層と、
前記第1絶縁層上に配置される第2絶縁層と
をさらに備え、
前記第3パターンは、前記第1絶縁層上に配置され、かつ、前記第2絶縁層に覆われ、
前記第2パターンは、前記第2絶縁層上に配置される、請求項1~3のいずれか一項に記載の配線回路基板。
【請求項7】
金属支持層と、
前記金属支持層上に配置される第1絶縁層と、
前記第1絶縁層上に配置される第2絶縁層と
をさらに備え、
前記第2パターンは、前記第1絶縁層上に配置され、かつ、前記第2絶縁層に覆われ、
前記第3パターンは、前記第2絶縁層上に配置される、請求項1~3のいずれか一項に記載の配線回路基板。
発明の詳細な説明
【技術分野】
【0001】
本発明は、配線回路基板に関する。
続きを表示(約 1,100 文字)
【背景技術】
【0002】
従来、配線回路基板の一例として、スライダと圧電素子とを搭載可能な回路付サスペンション基板が知られている(例えば、特許文献1参照。)。
【0003】
回路付サスペンション基板は、圧電素子の一端部と接続される第1素子接続端子と、圧電素子の他端部と接続される第2素子接続端子とを備える。第1素子接続端子は、回路付きサスペンション基板の金属支持層にグランドされる。第2素子接続端子は、電源配線を介して、外部接続端子に接続される。
【先行技術文献】
【特許文献】
【0004】
特開2019-117674号公報
【発明の概要】
【発明が解決しようとする課題】
【0005】
特許文献1に記載されるような回路付サスペンション基板において、圧電素子が電気的に分極する場合がある。
【0006】
圧電素子が電気的に分極した状態で圧電素子に電圧が印加されると、圧電素子の伸縮が過度に大きくなったり、または、過度に小さくなったりする可能性がある。
【0007】
本発明の目的は、圧電素子の伸縮をより正確に制御できる配線回路基板を提供することにある。
【課題を解決するための手段】
【0008】
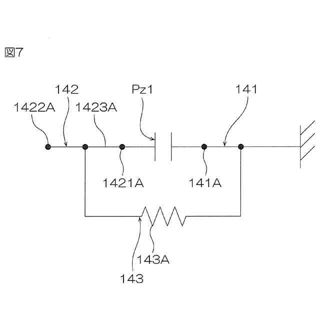
本発明[1]は、圧電素子を搭載可能な配線回路基板であって、前記圧電素子の一端部と電気的に接続される第1端子を有する第1パターンと、前記圧電素子の他端部と電気的に接続される第2端子と、前記第2端子と接続される配線とを有し、前記第1パターンから離れて配置される第2パターンと、前記圧電素子が前記配線回路基板に搭載された状態で、前記第1パターン、前記第2パターンおよび前記圧電素子からなる直列回路に対して並列接続される配線を有する第3パターンとを備え、前記第2パターンの前記配線は、第1の電気抵抗率を有する第1の導体から作られ、前記第3パターンの前記配線は、前記第1の電気抵抗率よりも高い第2の電気抵抗率を有する第2の導体、または、半導体から作られる、配線回路基板を含む。
【0009】
このような構成によれば、圧電素子が配線回路基板に搭載された状態で、第1パターン、圧電素子および第2パターンからなる直列回路に対して第3パターンが並列接続された並列回路が、形成される。
【0010】
そのため、圧電素子が分極してしまった場合、圧電素子に電圧が印加されていない状態で、分極によって偏った圧電素子内の電荷を第3パターンに逃がして、圧電素子の分極を解消できる。
(【0011】以降は省略されています)
この特許をJ-PlatPat(特許庁公式サイト)で参照する
関連特許
日東電工株式会社
分離膜
2か月前
日東電工株式会社
通気構造
1か月前
日東電工株式会社
生体センサ
1か月前
日東電工株式会社
光学積層体
27日前
日東電工株式会社
光学積層体
14日前
日東電工株式会社
配線回路基板
2か月前
日東電工株式会社
積層フィルム
2か月前
日東電工株式会社
反射フィルム
1か月前
日東電工株式会社
調光フィルム
3か月前
日東電工株式会社
調光フィルム
3か月前
日東電工株式会社
複合ケーブル
1か月前
日東電工株式会社
配線回路基板
2か月前
日東電工株式会社
偏光フィルム
21日前
日東電工株式会社
光学粘着シート
1日前
日東電工株式会社
光学粘着シート
1日前
日東電工株式会社
光学粘着シート
1日前
日東電工株式会社
積層光学フィルム
2か月前
日東電工株式会社
表面保護フィルム
1か月前
日東電工株式会社
表面保護フィルム
1か月前
日東電工株式会社
偏光子の製造方法
1か月前
日東電工株式会社
ガラス樹脂複合体
1か月前
日東電工株式会社
積層光学フィルム
2か月前
日東電工株式会社
炭酸塩生成システム
2か月前
日東電工株式会社
ロール体の製造方法
3日前
日東電工株式会社
調光用導電性フィルム
13日前
日東電工株式会社
光学積層体の製造方法
29日前
日東電工株式会社
積層フィルムの製造方法
1か月前
日東電工株式会社
長尺状積層体の製造方法
1か月前
日東電工株式会社
延伸フィルムの製造方法
2か月前
日東電工株式会社
ウレア化合物の製造方法
7日前
日東電工株式会社
延伸フィルムの製造方法
13日前
日東電工株式会社
防汚フィルムの製造方法
2か月前
日東電工株式会社
長尺状積層体の製造方法
1か月前
日東電工株式会社
長尺状積層体の製造方法
1か月前
日東電工株式会社
延伸フィルムの製造方法
13日前
日東電工株式会社
積層フィルムの製造方法
1か月前
続きを見る
他の特許を見る