TOP
|
特許
|
意匠
|
商標
特許ウォッチ
Twitter
他の特許を見る
10個以上の画像は省略されています。
公開番号
2025128325
公報種別
公開特許公報(A)
公開日
2025-09-02
出願番号
2025099093,2024537758
出願日
2025-06-13,2023-07-25
発明の名称
船員見守り装置、船員見守りシステム、及び船員見守りプログラム
出願人
国立大学法人 鹿児島大学
,
オーシャンソリューションテクノロジー株式会社
,
株式会社佐世保航海測器社
,
ネオス株式会社
代理人
個人
,
個人
,
個人
,
個人
主分類
B63C
9/20 20060101AFI20250826BHJP(船舶またはその他の水上浮揚構造物;関連艤装品)
要約
【課題】船員に緊急事態が発生したことを適正に検知することができる船員見守り装置、船員見守りシステム、及び船員見守りプログラムを提供する。
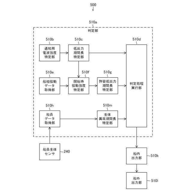
【解決手段】船員見守り装置500において、判定部510aは、船員の存在を知らせるための通知用電波を繰り返し発信する船員着用発信器から受信された通知用電波の強度と、船員が搭乗している船舶の揺動の激しさを検出する船舶揺動センサの検出結果とに基づいて、船員に緊急事態が生じたか否かを判定する判定処理を行う。船内出力部510kは、判定部510aによって船員に緊急事態が生じたと判定された場合に、その判定がなされた旨を表す緊急事態検出信号を警報器に出力する。
【選択図】図4
特許請求の範囲
【請求項1】
船員の存在を知らせるための通知用電波を繰り返し発信する船員着用発信器から受信された前記通知用電波の強度と、前記船員が搭乗している船舶の揺動の激しさを繰り返し検出する船舶揺動センサの検出結果とに基づいて、前記船員に緊急事態が生じたか否かを判定する判定処理を行う判定部と、
前記判定部によって前記船員に緊急事態が生じたと判定された場合に、その判定がなされた旨を表す緊急事態検出信号を出力する出力部と、
を備える、船員見守り装置。
続きを表示(約 1,700 文字)
【請求項2】
前記判定部は、
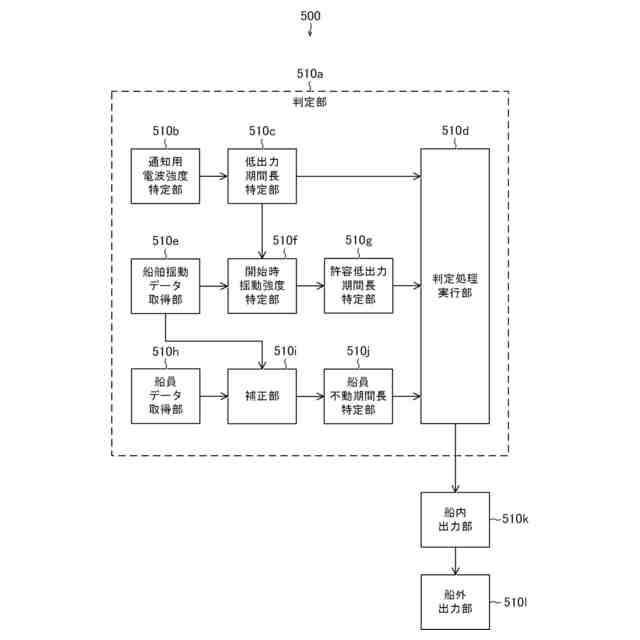
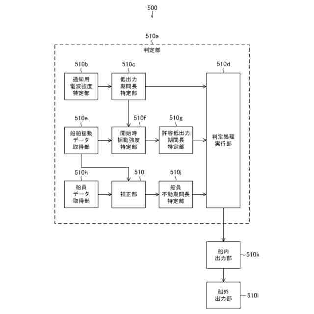
前記通知用電波の強度と、前記船舶に前記船員が存在することを表すものとして予め設定された閾値電波強度とを比較し、前記通知用電波の強度が前記閾値電波強度を下回る期間である低出力期間の長さを特定する低出力期間長特定部と、
前記船舶揺動センサの検出結果を用いて、前記低出力期間が開始する際の前記船舶の揺動の激しさである開始時揺動強度を特定する開始時揺動強度特定部と、
前記低出力期間長特定部によって特定された前記低出力期間の長さと、前記開始時揺動強度特定部によって特定された前記開始時揺動強度とに基づいて、前記船員に緊急事態が生じたか否かを判定する前記判定処理を行う判定処理実行部と、
を有する、請求項1に記載の船員見守り装置。
【請求項3】
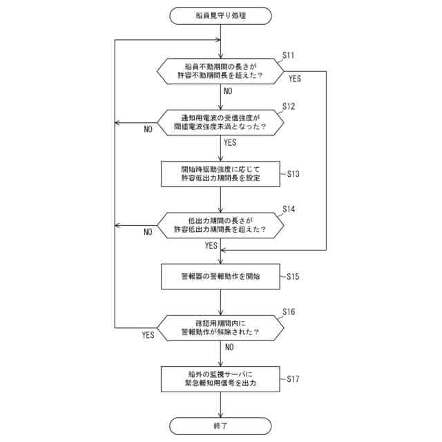
前記判定処理実行部は、前記低出力期間の長さが、前記船員が正常であることを表すものとして設定される許容低出力期間長を超えることを、前記船員に緊急発生が発生したと判定する条件としており、
前記判定部は、
前記許容低出力期間長を設定する許容低出力期間長設定部であって、前記開始時揺動強度特定部によって特定された前記開始時揺動強度が大きいほど、前記許容低出力期間長を短く設定する前記許容低出力期間長設定部、
をさらに有する、請求項2に記載の船員見守り装置。
【請求項4】
前記通知用電波に、前記船員の動き又は生体内の活動を検出した検出結果が含まれ、
前記判定部は、前記通知用電波の強度及び前記船舶揺動センサの検出結果のみならず、前記通知用電波に含まれる、前記船員の動き又は生体内の活動の検出結果にも基づいて、前記船員に緊急事態が生じたか否かを判定する、
請求項1に記載の船員見守り装置。
【請求項5】
前記通知用電波には、前記船員の動きを検出した検出結果が含まれ、
前記判定部は、
前記通知用電波に含まれる前記船員の動きの検出結果と、前記船舶揺動センサの検出結果とを用いて、前記船員の動きの検出結果から、前記船舶の揺動が前記船員の動きに与える寄与を減殺する補正を行うことにより、前記船舶に対する前記船員の動きを表す補正後船員データを生成する補正部、
を有し、
前記補正後船員データが前記判定処理に用いられる、
請求項4に記載の船員見守り装置。
【請求項6】
請求項1から5のいずれか1項に記載の船員見守り装置と、
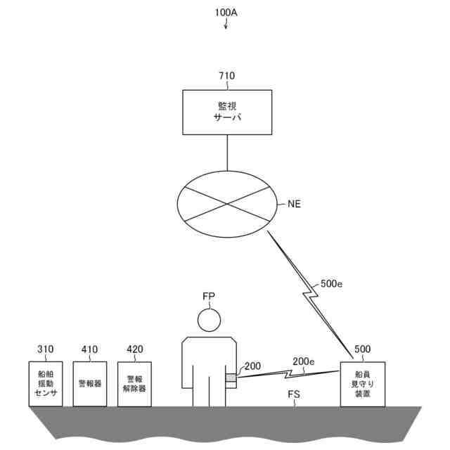
前記船舶に設置され、前記船員見守り装置からの前記緊急事態検出信号の取得を契機として、警報を発する警報動作を行う警報器と、
前記船舶に設置され、前記警報器によって前記警報動作が行われているときに、前記船員から前記警報動作を停止させるための操作を受けると、前記警報器に前記警報動作を停止させる警報解除器と、
を備える、船員見守りシステム。
【請求項7】
前記船員見守り装置が、
前記警報器による前記警報動作が、前記船員が前記警報動作を解除するために必要な期間として予め設定された確認期間よりも長く継続された場合に、前記船員に前記緊急事態が生じた旨を船外のサーバに対して出力する、
請求項6に記載の船員見守りシステム。
【請求項8】
前記船員に着用され、前記通知用電波を発信する前記船員着用発信器と、
前記船舶に設置され、前記船舶の揺動の激しさを検出する前記船舶揺動センサと、
をさらに備える、請求項6に記載の船員見守りシステム。
【請求項9】
コンピュータに、
船員の存在を知らせるための通知用電波を繰り返し発信する船員着用発信器から受信された前記通知用電波の強度と、前記船員が搭乗している船舶の揺動の激しさを繰り返し検出する船舶揺動センサの検出結果とに基づいて、前記船員に緊急事態が生じたか否かを判定する判定処理を行う判定部、
前記判定部によって前記船員に緊急事態が生じたと判定された場合に、その判定がなされた旨を表す緊急事態検出信号を出力する出力部、
としての機能を実現させる、船員見守りプログラム。
発明の詳細な説明
【技術分野】
【0001】
本発明は、船員見守り装置、船員見守りシステム、及び船員見守りプログラムに関する。
続きを表示(約 1,600 文字)
【背景技術】
【0002】
特許文献1に開示されているように、船員に着用される発信器と、その発信器によって発信された電波を受信することにより船員の所在を管理する管理装置とを備えるシステムが知られている。
【先行技術文献】
【特許文献】
【0003】
特開2020-8492号公報
【発明の概要】
【発明が解決しようとする課題】
【0004】
特許文献1に係るシステムでは、発信器からの電波が管理装置に届きにくくなったか否かということだけで、警告を発すべき緊急事態が生じたか否かが判定される。このような単純な構成では、緊急事態を適正に検知し難い場合がある。
【0005】
そこで、本発明は、船員に緊急事態が発生したことを適正に検知することができる船員見守り装置、船員見守りシステム、及び船員見守りプログラムを提供することを目的とする。
【課題を解決するための手段】
【0006】
本発明に係る船員見守り装置は、
船員の存在を知らせるための通知用電波を繰り返し発信する船員着用発信器から受信された前記通知用電波の強度と、前記船員が搭乗している船舶の揺動の激しさを繰り返し検出する船舶揺動センサの検出結果とに基づいて、前記船員に緊急事態が生じたか否かを判定する判定処理を行う判定部と、
前記判定部によって前記船員に緊急事態が生じたと判定された場合に、その判定がなされた旨を表す緊急事態検出信号を出力する出力部と、
を備える。
【0007】
前記判定部は、
前記通知用電波の強度と、前記船舶に前記船員が存在することを表すものとして予め設定された閾値電波強度とを比較し、前記通知用電波の強度が前記閾値電波強度を下回る期間である低出力期間の長さを特定する低出力期間長特定部と、
前記船舶揺動センサの検出結果を用いて、前記低出力期間が開始する際の前記船舶の揺動の激しさである開始時揺動強度を特定する開始時揺動強度特定部と、
前記低出力期間長特定部によって特定された前記低出力期間の長さと、前記開始時揺動強度特定部によって特定された前記開始時揺動強度とに基づいて、前記船員に緊急事態が生じたか否かを判定する前記判定処理を行う判定処理実行部と、
を有してもよい。
【0008】
前記判定処理実行部は、前記低出力期間の長さが、前記船員が正常であることを表すものとして設定される許容低出力期間長を超えることを、前記船員に緊急発生が発生したと判定する条件としており、
前記判定部は、
前記許容低出力期間長を設定する許容低出力期間長設定部であって、前記開始時揺動強度特定部によって特定された前記開始時揺動強度が大きいほど、前記許容低出力期間長を短く設定する前記許容低出力期間長設定部、
をさらに有してもよい。
【0009】
前記通知用電波に、前記船員の動き又は生体内の活動を検出した検出結果が含まれ、
前記判定部は、前記通知用電波の強度及び前記船舶揺動センサの検出結果のみならず、前記通知用電波に含まれる、前記船員の動き又は生体内の活動の検出結果にも基づいて、前記船員に緊急事態が生じたか否かを判定してもよい。
【0010】
前記通知用電波には、前記船員の動きを検出した検出結果が含まれ、
前記判定部は、
前記通知用電波に含まれる前記船員の動きの検出結果と、前記船舶揺動センサの検出結果とを用いて、前記船員の動きの検出結果から、前記船舶の揺動が前記船員の動きに与える寄与を減殺する補正を行うことにより、前記船舶に対する前記船員の動きを表す補正後船員データを生成する補正部、
を有し、
前記補正後船員データが前記判定処理に用いられてもよい。
(【0011】以降は省略されています)
特許ウォッチbot のツイートを見る
この特許をJ-PlatPat(特許庁公式サイト)で参照する
関連特許
ロート製薬株式会社
鎮痒剤
14日前
国立大学法人 鹿児島大学
経路設計システム、経路設計方法及びプログラム
1か月前
国立大学法人 鹿児島大学
生成AIの調整用データのデータ構造、対話システム、調整方法及びプログラム
22日前
国立大学法人 鹿児島大学
PAC1受容体拮抗薬を用いた鎮痒薬
2か月前
国立大学法人 鹿児島大学
船員見守り装置、船員見守りシステム、及び船員見守りプログラム
1か月前
環境バイオエンジニアリング株式会社
土壌伝染性病害原因菌である基腐病菌に抗菌性を有する防除剤及びそれを用いた土壌伝染性病害防除方法
1か月前
個人
水上遊具
4か月前
個人
洋上研究所
2か月前
個人
川下り用船
10か月前
個人
発電船
11か月前
個人
船用横揺防止具
7か月前
個人
補助機構
6か月前
個人
津波防災ウエア
1か月前
個人
コンパクトシティ船
6か月前
個人
渦流動力推進構造
6か月前
個人
セールのバテンガイド装置
2か月前
個人
水質浄化・集熱昇温システム
3か月前
炎重工株式会社
浮標
8か月前
炎重工株式会社
浮標
8か月前
炎重工株式会社
移動体
11か月前
住友重機械工業株式会社
船舶
3か月前
株式会社フルトン
水中捕捉装置
6か月前
個人
船舶
8か月前
個人
スクリュープロペラ
6か月前
株式会社ラフティ
サーフボード
3か月前
個人
回転式による流体流出防止タンカー
6か月前
オーケー工業株式会社
係留フック
7か月前
スズキ株式会社
船外機
5か月前
スズキ株式会社
船外機
5か月前
朝日電装株式会社
船外機用照明装置
1か月前
スズキ株式会社
船外機
6か月前
株式会社アカデミー出版
船舶
2か月前
ヤマハ発動機株式会社
船外機
8か月前
スズキ株式会社
船外機
6か月前
常石造船株式会社
メタノール燃料船
9か月前
株式会社神戸タフ興産
船舶の甲板構造
10か月前
続きを見る
他の特許を見る