TOP
|
特許
|
意匠
|
商標
特許ウォッチ
Twitter
他の特許を見る
公開番号
2025128711
公報種別
公開特許公報(A)
公開日
2025-09-03
出願番号
2024025559
出願日
2024-02-22
発明の名称
太陽電池及びその製造方法
出願人
内山工業株式会社
代理人
協明国際弁理士法人
主分類
H10K
30/50 20230101AFI20250827BHJP()
要約
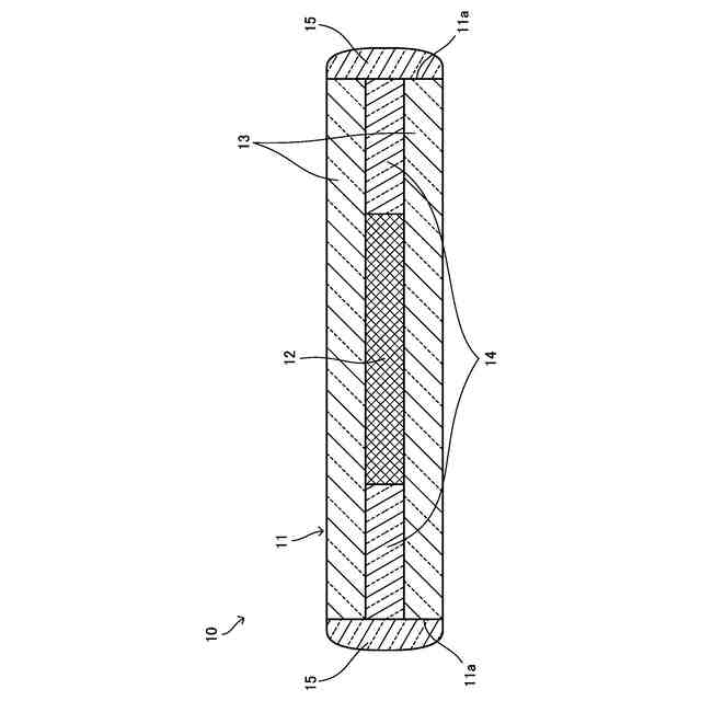
【課題】ポリシラザンの使用量を抑えながらもガスバリア性を担保できる太陽電池及びその製造方法を提供する。
【解決手段】太陽電池10は、太陽光発電層12を保護層13間に挟み込んでなる積層体11を有しており、積層体11の全周の端面11aには、ポリシラザン成分を含むセラミック被膜15が固着している。
【選択図】図1
特許請求の範囲
【請求項1】
太陽光発電層を保護層間に挟み込んでなる積層体を有する太陽電池であって、
前記積層体の全周の端面には、ポリシラザン成分を含むセラミック被膜が固着していることを特徴とする太陽電池。
続きを表示(約 880 文字)
【請求項2】
請求項1において、
前記保護層間における前記太陽光発電層の側方には硬化した接着剤が配されており、
前記端面は、中央の前記接着剤の層を含む複数層の層状面とされることを特徴とする太陽電池。
【請求項3】
請求項1において、
前記保護層は、合成樹脂フィルムに無機材料をコーティングしてなることを特徴とする太陽電池。
【請求項4】
請求項1において、
前記保護層は、ガラス板またはガラス板と合成樹脂フィルムとの積層材よりなることを特徴とする太陽電池。
【請求項5】
請求項1に記載の太陽電池を製造する、太陽電池の製造方法であって、
作業面に、親水性領域と、該親水性領域に隣接する撥水性領域とを形成しておき、
前記積層体を、その外縁が前記親水性領域に平面視において収まるように前記作業面に設置し、
ポリシラザン液を含む液状のセラミックコート剤を前記端面に滴下することで前記セラミック被膜を形成することを特徴とする、太陽電池の製造方法。
【請求項6】
請求項5において、
前記積層体は平面視で方形状であり、
前記親水性領域は、前記積層体の平面形状に略合致した方形の外縁に沿った帯状の領域とされる一方、前記撥水性領域は、前記親水性領域の内側及び外側のそれぞれに隣接する領域とされ、
前記積層体を前記親水性領域の内側に位置する前記撥水性領域に載置することを特徴とする、太陽電池の製造方法。
【請求項7】
請求項1に記載の太陽電池を製造する、太陽電池の製造方法であって、
作業面に、撥水性領域と、該撥水性領域に隣接する超撥水性領域とを形成しておき、
ポリシラザン液を含む液状のセラミックコート剤を前記撥水性領域に滴下して液状突出条を形成し、
前記積層体を、端面が液状突出条に接触するように配置することで前記セラミック被膜を形成することを特徴とする、太陽電池の製造方法。
発明の詳細な説明
【技術分野】
【0001】
本発明は、太陽光発電層を保護層間に挟み込んでなる積層体を有する太陽電池及びその製造方法に関する。
続きを表示(約 1,100 文字)
【背景技術】
【0002】
従来のこの種の太陽電池では、酸素や水蒸気のガスバリア性を高めるために、表裏面側に配する保護層(例えば合成樹脂製のバリアフィルム)に加え、または代えて、太陽光発電層をガスバリア性が高いポリシラザン被膜で覆う技術が提案されている。特許文献1のものでは、太陽光発電層の全体がポリシラザンによる封止層の中に配されて保護されている。
【先行技術文献】
【特許文献】
【0003】
特許6876480号公報
【発明の概要】
【発明が解決しようとする課題】
【0004】
しかしながら、特許文献1のもののように、太陽光発電層を全方向より取り囲むようにポリシラザンを配するものでは、1つの太陽電池を形成するために高価なポリシラザンを多く必要とするため、コスト高となるおそれがある。
【0005】
本発明は、このような事情を考慮して提案されたもので、その目的は、ポリシラザンの使用量を抑えながらもガスバリア性を担保できる太陽電池及びその製造方法を提供することにある。
【課題を解決するための手段】
【0006】
前記目的を達成するために、本発明の太陽電池は、太陽光発電層を保護層間に挟み込んでなる積層体を有する太陽電池であって、前記積層体の全周の端面には、ポリシラザン成分を含むセラミック被膜が固着していることを特徴とする。
【0007】
本発明の太陽電池の製造方法は、作業面に、親水性領域と、該親水性領域に隣接する撥水性領域とを形成しておき、前記積層体を、その外縁が前記親水性領域に平面視において収まるように前記作業面に設置し、液状のセラミックコート剤を前記端面に滴下させることで前記セラミック被膜を形成することを特徴とする。
【0008】
本発明の他の太陽電池の製造方法は、作業面に、撥水性領域と、該撥水性領域に隣接する超撥水性領域とを形成しておき、液状のセラミックコート剤を前記撥水性領域に滴下して液状突出条を形成し、前記積層体を、端面が液状突出条に接触するように配置することで前記セラミック被膜を形成することを特徴とする。
【発明の効果】
【0009】
本発明の太陽電池は前述した構成とされているため、ポリシラザンの使用量を抑えながらもガスバリア性を担保することができる。
【0010】
本発明の太陽電池の製造方法は前述した手順とされているため、ポリシラザンの使用量を抑えてガスバリア性を担保した太陽電池を製造することができる。
【図面の簡単な説明】
(【0011】以降は省略されています)
この特許をJ-PlatPat(特許庁公式サイト)で参照する
関連特許
内山工業株式会社
シール構造及びガスケット
8日前
内山工業株式会社
キャップ取付方法及び軸受キャップ
13日前
内山工業株式会社
アクリルゴム組成物およびアクリルゴム成形品
7日前
個人
半導体装置
8日前
エイブリック株式会社
半導体装置
14日前
東レ株式会社
太陽電池モジュール
8日前
エイブリック株式会社
縦型ホール素子
2日前
エイブリック株式会社
縦型ホール素子
2日前
ローム株式会社
半導体装置
9日前
富士通株式会社
半導体装置
7日前
株式会社半導体エネルギー研究所
表示装置
2日前
三菱電機株式会社
半導体装置
7日前
日亜化学工業株式会社
発光素子
15日前
ミツミ電機株式会社
半導体装置
14日前
日亜化学工業株式会社
発光装置
6日前
TDK株式会社
圧電素子
7日前
日亜化学工業株式会社
発光素子
7日前
ローム株式会社
TVSダイオード
15日前
ローム株式会社
TVSダイオード
15日前
ローム株式会社
窒化物半導体装置
2日前
ローム株式会社
半導体装置
15日前
サンケン電気株式会社
半導体装置
13日前
富士電機株式会社
半導体装置の製造方法
1日前
デクセリアルズ株式会社
受光装置
13日前
TDK株式会社
光検知装置
14日前
株式会社東芝
熱電変換装置
15日前
キオクシア株式会社
記憶装置
13日前
沖電気工業株式会社
発光装置及び表示装置
8日前
株式会社カネカ
太陽電池モジュール
6日前
株式会社カネカ
太陽電池モジュール
15日前
内山工業株式会社
太陽電池
13日前
サンケン電気株式会社
発光装置
6日前
株式会社MARUWA
発光装置及び照明器具
6日前
日本電気株式会社
超伝導量子回路装置
7日前
一般財団法人電力中央研究所
熱化学電池
8日前
ローム株式会社
RAM
6日前
続きを見る
他の特許を見る