TOP
|
特許
|
意匠
|
商標
特許ウォッチ
Twitter
他の特許を見る
公開番号
2025149387
公報種別
公開特許公報(A)
公開日
2025-10-08
出願番号
2024050006
出願日
2024-03-26
発明の名称
シール構造及びガスケット
出願人
内山工業株式会社
代理人
協明国際弁理士法人
主分類
F16J
15/10 20060101AFI20251001BHJP(機械要素または単位;機械または装置の効果的機能を生じ維持するための一般的手段)
要約
【課題】ガスケットの脱落防止を図るとともに安定したシール性能を発揮し得るシール構造及びガスケットを提供する。
【解決手段】第1部材2は、平坦面状で且つ環状の第1面22と、前記第1面の内周側に設けられた内周壁部23と、を備え、第2部材3は、平坦面状で且つ環状の第2面33を備え、前記第1部材及び前記第2部材のうちの一方は、環状のガスケット4の配置位置の外周側に設けられた外周壁部を備えており、前記ガスケットは、前記第1面と前記第2面との間に圧縮状態で挟持され前記第1面と前記第2面との間をシールする環状のシール本体部41と、前記シール本体部の幅方向両側に設けられ前記第1面及び前記第2面のうちの少なくとも一方面に弾接して前記シール本体部が自立するように支持するフランジ部44と、を備え、前記シール本体部及び前記フランジ部は、前記内周壁部及び前記外周壁部に非接触の状態で前記第1面と前記第2面との間に介在する。
【選択図】図1
特許請求の範囲
【請求項1】
締結されて相互に合体される第1部材及び第2部材の二部材間を環状のガスケットによってシールするシール構造であって、
前記第1部材は、前記ガスケットが配置され平坦面状で且つ環状の第1面と、前記第1面の内周側に設けられた内周壁部と、を備え、
前記第2部材は、前記ガスケットが配置され平坦面状で且つ環状の第2面を備え、
前記第1部材及び前記第2部材のうちの一方は、前記ガスケットの配置位置の外周側に設けられた外周壁部を備えており、
前記ガスケットは、前記第1面と前記第2面との間に圧縮状態で挟持され前記第1面と前記第2面との間をシールする環状のシール本体部と、前記シール本体部の幅方向両側に設けられ前記第1面及び前記第2面のうちの少なくとも一方面に弾接して前記シール本体部が自立するように支持するフランジ部と、を備え、
前記シール本体部及び前記フランジ部は、前記内周壁部及び前記外周壁部に非接触の状態で前記第1面と前記第2面との間に介在することを特徴とするシール構造。
続きを表示(約 910 文字)
【請求項2】
請求項1において、
前記第1部材と前記第2部材が締結された状態で、前記外周壁部が前記第1部材及び前記第2部材のうちの他方に当接される構成とされ、
前記外周壁部の高さ寸法は、前記二部材を締結する前の前記シール本体部の高さ寸法よりも小さく且つ前記ガスケットの締め付け高さを規定する寸法に設定されていることを特徴とするシール構造。
【請求項3】
請求項1または請求項2において、
前記内周壁部には、切り欠き形成された凹部が設けられており、
前記ガスケットの内周側には、前記凹部に挿通される突部が設けられることを特徴とするシール構造。
【請求項4】
請求項1または請求項2において、
前記第1部材及び前記第2部材のうちの一方には、他方に向けて開口する位置決め凹部が設けられており、
前記ガスケットには、前記位置決め凹部に挿通される突部が設けられていることを特徴とするシール構造。
【請求項5】
請求項1または請求項2において、
前記第1部材及び前記第2部材のうちの一方は、他方に設けられた開口を塞ぐ蓋部材であることを特徴とするシール構造。
【請求項6】
締結されて相互に合体される第1部材及び第2部材の二部材間をシールするガスケットであって、
前記第1部材の平坦面状で且つ環状の第1面及び前記第2部材の平坦面状で且つ環状の第2面の間に圧縮状態で挟持され、前記第1面と前記第2面との間をシールする環状のシール本体部と、前記シール本体部の幅方向両側に設けられ前記第1面及び前記第2面のうちの一方面のみに弾接して前記シール本体部が自立するように支持するフランジ部と、前記フランジ部の前記第1面及び前記第2面のうちの他方側に、前記シール本体部の前記幅方向両側を支持する倒れ防止突部と、を備えていることを特徴とするガスケット。
【請求項7】
請求項6において、
前記シール本体部の高さ寸法は、前記シール本体部の幅寸法よりも大きいことを特徴とするガスケット。
発明の詳細な説明
【技術分野】
【0001】
本発明は、締結されて相互に合体される第1部材及び第2部材の二部材のシール構造及びガスケットに関する。
続きを表示(約 2,400 文字)
【背景技術】
【0002】
従来より、第1部材の第1面及び第2部材の第2面間に圧縮状態でガスケットを介在させ、これらの間をシールするシール構造が知られている。
例えば、下記特許文献1では、ロックカバーのフランジとシリンダヘッドとの間の隙間をシールするガスケットを設けたシール構造が開示されている。また、下記特許文献2では、収納ケースを構成する筐体の開口部の周縁に沿ったパッキンガイド部に当接させながら取り付けられたパッキンが筐体と蓋部との間を密閉するパッキン取付機構が開示されている。
【先行技術文献】
【特許文献】
【0003】
特開2001-124207号公報
特許第6478458号公報
【発明の概要】
【発明が解決しようとする課題】
【0004】
上記特許文献1に記載されているようなガスケットが嵌め入れられるシール溝がないシール構造において、ガスケット自体が自立しない形状の場合、平坦面間で圧縮されるガスケットが位置ずれして内側に脱落する懸念がある。
上記特許文献2に記載のパッキン取付機構では、パッキン取付面にパッキンが粘着シールによって取り付けられパッキンガイド部に当接していることで、位置ずれや脱落の抑制を図っている。しかし、筐体と蓋部の間において、パッキンガイド部に当接しているパッキンの部分が噛みこむことによりパッキンが破損等してシール性能が低下する懸念がある。
【0005】
本発明は、上記事情に鑑みてなされたものであり、ガスケットの脱落防止を図るとともに安定したシール性能を発揮し得るシール構造及びガスケットを提供することにある。
【課題を解決するための手段】
【0006】
上記目的を達成するために、本発明のシール構造の構成1は、締結されて相互に合体される第1部材及び第2部材の二部材間を環状のガスケットによってシールするシール構造であって、前記第1部材は、前記ガスケットが配置され平坦面状で且つ環状の第1面と、前記第1面の内周側に設けられた内周壁部と、を備え、前記第2部材は、前記ガスケットが配置され平坦面状で且つ環状の第2面を備え、前記第1部材及び前記第2部材のうちの一方は、前記ガスケットの配置位置の外周側に設けられた外周壁部を備えており、前記ガスケットは、前記第1面と前記第2面との間に圧縮状態で挟持され前記第1面と前記第2面との間をシールする環状のシール本体部と、前記シール本体部の幅方向両側に設けられ前記第1面及び前記第2面のうちの少なくとも一方面に弾接して前記シール本体部が自立するように支持するフランジ部と、を備え、前記シール本体部及び前記フランジ部は、前記内周壁部及び前記外周壁部に非接触の状態で前記第1面と前記第2面との間に介在することを特徴とする。
【0007】
以下の実施の形態の記載により、本発明に係るシール構造は、以下の従属的構成を備えていてもよいことが開示される。
<構成2>
構成1において、前記第1部材と前記第2部材が締結された状態で、前記外周壁部が前記第1部材及び前記第2部材のうちの他方に当接される構成とされ、前記外周壁部の高さ寸法は、前記二部材を締結する前の前記シール本体部の高さ寸法よりも小さく且つ前記ガスケットの締め付け高さを規定する寸法に設定されていてもよい。
<構成3>
構成1または構成2において、前記内周壁部には、切り欠き形成された凹部が設けられており、前記ガスケットの内周側には、前記凹部に挿通される突部が設けられていてもよい。
<構成4>
構成1または構成2において、前記第1部材及び前記第2部材のうちの一方には、他方に向けて開口する位置決め凹部が設けられており、前記ガスケットには、前記位置決め凹部に挿通される突部が設けられていてもよい。
<構成5>
構成1乃至構成4のいずれか1つにおいて、前記第1部材及び前記第2部材のうちの一方は、他方に設けられた開口を塞ぐ蓋部材であってもよい。
【0008】
上記目的を達成するために、本発明のガスケットは、締結されて相互に合体される第1部材及び第2部材の二部材間をシールするガスケットであって、前記第1部材の平坦面状で且つ環状の第1面及び前記第2部材の平坦面状で且つ環状の第2面の間に圧縮状態で挟持され、前記第1面と前記第2面との間をシールする環状のシール本体部と、前記シール本体部の幅方向両側に設けられ前記第1面及び前記第2面のうちの一方面のみに弾接して前記シール本体部が自立するように支持するフランジ部と、前記フランジ部の前記第1面及び前記第2面のうちの他方側に、前記シール本体部の前記幅方向両側を支持する倒れ防止突部と、を備えていることを特徴とする。
【発明の効果】
【0009】
本発明のシール構造及びガスケットは、上述した構成とされるため、ガスケットの脱落防止を図るとともに安定したシール性能を発揮できる。
【図面の簡単な説明】
【0010】
本発明の第1実施形態に係るシール構造の模式的分解斜視図である。
同シール構造の模式的平面図である。
(a)は同シール構造の要部の模式的縦断面斜視図、(b)は同シール構造に用いられるガスケットを示す模式的縦断面図である。
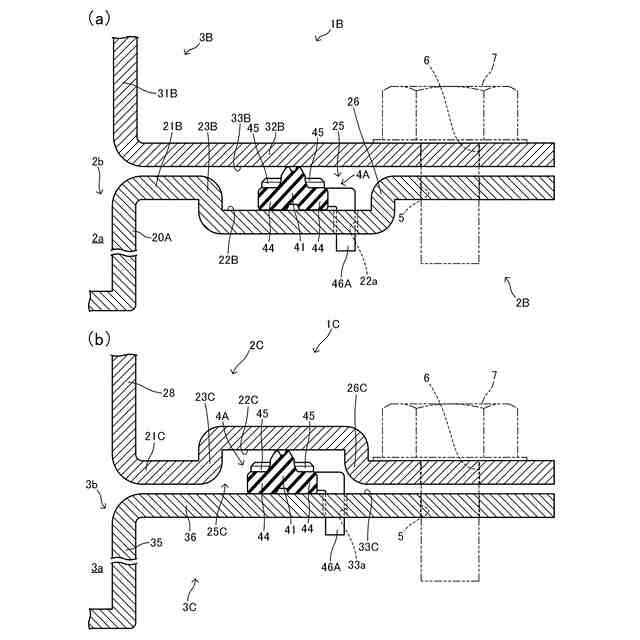
(a)、(b)は同シール構造の要部の模式的縦断面図である。
シール構造の変形例を示す要部の模式的縦断面図である。
(a)は第2実施形態に係るシール構造の模式的縦断面図、(b)はその変形例を示す模式的縦断面図である。
ガスケットの変形例を示す模式的平面図である。
【発明を実施するための形態】
(【0011】以降は省略されています)
この特許をJ-PlatPat(特許庁公式サイト)で参照する
関連特許
内山工業株式会社
日用品
1か月前
内山工業株式会社
太陽電池
8日前
内山工業株式会社
密封装置
22日前
内山工業株式会社
密封装置
1か月前
内山工業株式会社
密封装置
1か月前
内山工業株式会社
製造装置および製造方法
1か月前
内山工業株式会社
シール構造及びガスケット
3日前
内山工業株式会社
太陽電池及びその製造方法
1か月前
内山工業株式会社
密封装置及び密封装置の製造方法
16日前
内山工業株式会社
キャップ取付方法及び軸受キャップ
8日前
内山工業株式会社
アクリルゴム組成物およびアクリルゴム成形品
2日前
内山工業株式会社
電池シール材用シリコーンゴム組成物および電池シール材
1か月前
個人
鍋虫ねじ
1か月前
個人
回転伝達機構
2か月前
個人
紛体用仕切弁
1か月前
個人
ホース保持具
5か月前
個人
差動歯車用歯形
3か月前
個人
トーションバー
6か月前
個人
給排気装置
4日前
個人
ジョイント
22日前
個人
ボルトナットセット
6か月前
個人
ナット
23日前
個人
回転式配管用支持具
7か月前
株式会社不二工機
電磁弁
4か月前
株式会社不二工機
電磁弁
3か月前
個人
地震の揺れ回避装置
2か月前
個人
吐出量監視装置
1か月前
株式会社オンダ製作所
継手
8か月前
個人
ベルトテンショナ
7か月前
カヤバ株式会社
ダンパ
3か月前
カヤバ株式会社
ダンパ
3か月前
カヤバ株式会社
緩衝器
7か月前
株式会社ミクニ
弁装置
8か月前
株式会社ミクニ
弁装置
8か月前
カヤバ株式会社
緩衝器
3か月前
株式会社三協丸筒
枠体
6か月前
続きを見る
他の特許を見る