TOP
|
特許
|
意匠
|
商標
特許ウォッチ
Twitter
他の特許を見る
公開番号
2025129638
公報種別
公開特許公報(A)
公開日
2025-09-05
出願番号
2024026407
出願日
2024-02-26
発明の名称
カバー部材
出願人
日本プラスト株式会社
代理人
個人
,
個人
主分類
B62D
25/08 20060101AFI20250829BHJP(鉄道以外の路面車両)
要約
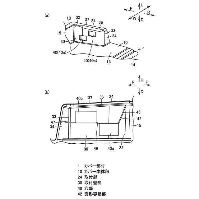
【課題】取付部品の取付精度及び歩行者保護性能を向上できるカバー部材を提供する。
【解決手段】カバー部材1は、カバー本体部10と、カバー本体部10に突設された取付部24と、を備える。取付部24は、外力が入力される方向に沿う所定の第一方向に対して交差する交差方向に法線方向を有する取付壁部30と、取付壁部30において、第一方向と第一方向に対して交差する所定の第二方向とに少なくとも一部が互い重ならない位置に取付壁部30を交差方向に貫通して形成され、取付部品が係合される複数の穴部40と、穴部40を介して取付壁部30の一般部に対して変形しやすく形成された変形容易部42と、を有する。
【選択図】図1
特許請求の範囲
【請求項1】
カバー本体部と、
このカバー本体部に突設された取付部と、を備え、
前記取付部は、
外力が入力される方向に沿う所定の第一方向に対して交差する交差方向に法線方向を有する取付壁部と、
この取付壁部において、前記第一方向と前記第一方向に対して交差する所定の第二方向とに少なくとも一部が互い重ならない位置に前記取付壁部を前記交差方向に貫通して形成され、取付部品が係合される複数の穴部と、
これら穴部を介して前記取付壁部の一般部に対して変形しやすく形成された変形容易部と、を有する
ことを特徴とするカバー部材。
続きを表示(約 260 文字)
【請求項2】
穴部に係合された取付部品に対して少なくとも一部が第一方向に重なり合う位置にある
ことを特徴とする請求項1記載のカバー部材。
【請求項3】
変形容易部は、入力される外力により応力が集中する応力集中部であり、少なくとも一部が穴部間に亘り形成されている
ことを特徴とする請求項1または2記載のカバー部材。
【請求項4】
取付部は、変形容易部により穴部同士が近接する付近に囲繞された変形部を有する
ことを特徴とする請求項3記載のカバー部材。
発明の詳細な説明
【技術分野】
【0001】
本発明は、取付部品が係合されるカバー部材に関する。
続きを表示(約 1,300 文字)
【背景技術】
【0002】
従来、自動車のウインドシールドであるフロントガラスの前端部とボンネットフードの後側部との間のカウル部に配置されるカバー部材としてのカウルカバーにおいて、その車幅方向両端部に穴部が形成され、取付部品であるフェンダパネルなどの車体パネルから突出する係合突起である係合部を係合させることで、車体パネルを保持するものが知られている(例えば、特許文献1参照。)。
【先行技術文献】
【特許文献】
【0003】
特開2021-160383号公報
【発明の概要】
【発明が解決しようとする課題】
【0004】
上記の構成において、カウルカバー側の複数の穴部が、カウルカバーに見栄え改善のためなどに立設された立壁部に開口されている場合、穴部が上下に並んでいると、車体パネルの前後方向のぐらつきを規制できないので、精度よく取り付けるためには部品精度を高める必要がある。また、立壁部の基端部から先端部に亘り板状に繋がる範囲が広く形成されることから、歩行者の衝突などの上方からの外力に対して突っ張る高剛性形状となるため、その外力に対する反力をより低下させることが望まれる。
【0005】
本発明は、このような点に鑑みなされたもので、取付部品の取付精度及び歩行者保護性能を向上できるカバー部材を提供することを目的とする。
【課題を解決するための手段】
【0006】
本発明の態様に係るカバー部材は、カバー本体部と、このカバー本体部に突設された取付部と、を備え、前記取付部は、外力が入力される方向に沿う所定の第一方向に対して交差する交差方向に法線方向を有する取付壁部と、この取付壁部において、前記第一方向と前記第一方向に対して交差する所定の第二方向とに少なくとも一部が互い重ならない位置に前記取付壁部を前記交差方向に貫通して形成され、取付部品が係合される複数の穴部と、これら穴部を介して前記取付壁部の一般部に対して変形しやすく形成された変形容易部と、を有する。
【発明の効果】
【0007】
本発明によれば、取付部品の取付精度及び歩行者保護性能を向上できる。
【図面の簡単な説明】
【0008】
本発明の第1の実施の形態のカバー部材の一部を示し、(a)は車幅方向内方から示す斜視図、(b)は車幅方向外方から示す斜視図である。
同上カバー部材を示す斜視図である。
同上カバー部材を備える車両の例を示す斜視図である。
同上カバー部材に対して外力が入力された状態を示す斜視図である。
本発明の第2の実施の形態のカバー部材の一部を車幅方向内方から示す斜視図である。
【発明を実施するための形態】
【0009】
以下、本発明の第1の実施の形態について、図面を参照して説明する。
【0010】
図3において、1はカバー部材を示す。カバー部材1は、任意の構成に用いてよいが、本実施の形態においては、車両用部品、例えば車両用の外装材、一例として図3に示す自動車のカウル部2を覆うカウルカバーを例に挙げる。
(【0011】以降は省略されています)
この特許をJ-PlatPat(特許庁公式サイト)で参照する
関連特許
日本プラスト株式会社
送風装置
5日前
日本プラスト株式会社
樹脂成形品
2日前
日本プラスト株式会社
空気吹出装置
2日前
日本プラスト株式会社
エアバッグ装置のカバー体
20日前
日本プラスト株式会社
エアバッグ、エアバッグの折畳み方法
2日前
個人
カート
2か月前
個人
走行装置
3か月前
個人
乗り物
4か月前
個人
電動走行車両
3か月前
個人
電動モビリティ
7か月前
個人
折り畳み自転車
10か月前
個人
発音装置
6か月前
個人
駐輪設備
27日前
個人
閂式ハンドル錠
3か月前
個人
自転車用傘捕捉具
11か月前
個人
ボギー・フレーム
1か月前
個人
自由方向乗車自転車
7か月前
個人
ルーフ付きトライク
1か月前
個人
ルーフ付きトライク
2か月前
個人
体重掛けリフト台車
10か月前
個人
“zen-go.”
2か月前
個人
キャンピングトライク
8か月前
個人
自転車用荷物台
10か月前
個人
パワーアシスト自転車
1か月前
個人
アタッチメント
11か月前
個人
ステアリングの操向部材
8か月前
株式会社CPM
駐輪機
11か月前
株式会社豊田自動織機
産業車両
4か月前
株式会社三五
リアサブフレーム
10か月前
個人
フロントフットブレーキ。
3か月前
個人
乗用自動車のディフューザー
6日前
学校法人千葉工業大学
車両
9か月前
学校法人千葉工業大学
車両
9か月前
個人
ホイールハブ駆動構造
3か月前
豊田鉄工株式会社
小型車両
2か月前
学校法人千葉工業大学
車両
9か月前
続きを見る
他の特許を見る