TOP
|
特許
|
意匠
|
商標
特許ウォッチ
Twitter
他の特許を見る
公開番号
2025133345
公報種別
公開特許公報(A)
公開日
2025-09-11
出願番号
2024031240
出願日
2024-03-01
発明の名称
エアバッグ装置のカバー体
出願人
日本プラスト株式会社
代理人
個人
,
個人
主分類
B60R
21/2165 20110101AFI20250904BHJP(車両一般)
要約
【課題】エアバッグの良好な展開挙動を得ることができるエアバッグ装置のカバー体を提供する。
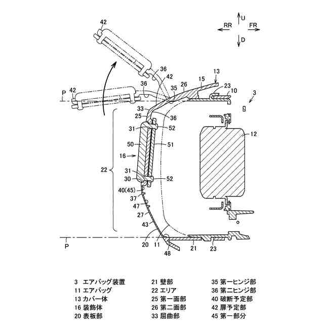
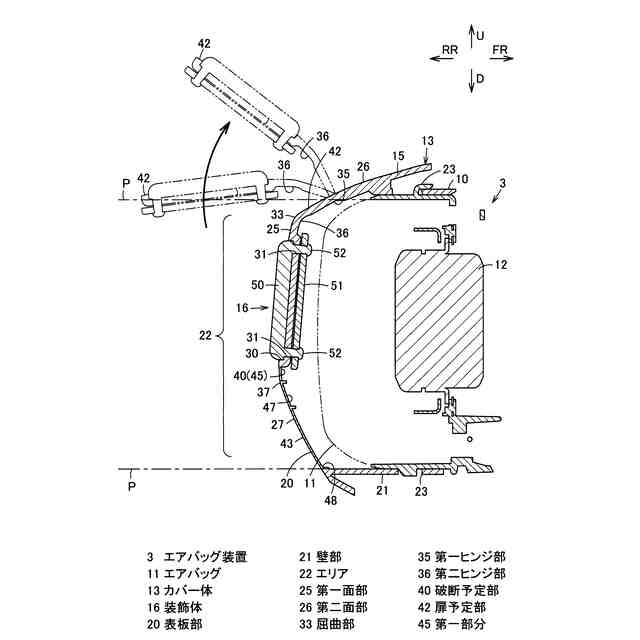
【解決手段】表板部20は、装飾体16が位置する第一面部25の上部に左右方向に沿う屈曲部33を介して隣接する第二面部26の裏側にて左右方向に沿ってエリア22に形成された第一ヒンジ部35と、屈曲部33の裏側にてエリア22に第一ヒンジ部35と略平行に形成された第二ヒンジ部36と、第一ヒンジ部35を中心として上方に展開する上部扉予定部42をエリア22に区画する破断予定部40と、を有する。破断予定部40は、エアバッグ11の展開中心と装飾体16とに対して下方の位置にある第一部分45と、少なくとも第一面部25の裏側から第二ヒンジ部36を越えて第二面部26の裏側に亘りエリア22の左右の壁部21に沿う位置に形成された第二部分と、を備える。
【選択図】図1
特許請求の範囲
【請求項1】
折り畳まれた状態のエアバッグを覆って配置されるエアバッグ装置のカバー体であって、
表板部と、
この表板部の裏側に突設され、前記エアバッグと対向するエリアをこの表板部に囲む位置にある壁部と、
前記エリアに位置して前記表板部に配置された装飾体と、を備え、
前記表板部は、
前記装飾体が位置し、前記エリアの一部をなす第一面部と、
左右方向に沿う屈曲部を介して前記第一面部の上部に隣接して前記エリアの他の一部をなす第二面部と、
この第二面部の裏側にて左右方向に沿って前記エリアに形成された第一ヒンジ部と、
前記屈曲部の裏側にて前記エリアに前記第一ヒンジ部と略平行に形成された第二ヒンジ部と、
前記エリアに前記エアバッグの膨張圧力により破断可能に形成され、前記第一ヒンジ部を中心として上方に展開する扉予定部を前記エリアに区画する破断予定部と、を有し、
前記破断予定部は、
前記第一面部の裏側にて左右方向に沿って形成され、前記エアバッグの展開中心と前記装飾体とに対して下方の位置にある第一部分と、
少なくとも前記第一面部の裏側から前記第二ヒンジ部を越えて前記第二面部の裏側に亘り前記エリアの左右の前記壁部に沿う位置に形成された第二部分と、を備える
ことを特徴とするエアバッグ装置のカバー体。
続きを表示(約 170 文字)
【請求項2】
屈曲部は、上下方向において装飾体の上縁部と第一ヒンジ部との間に配置されている
ことを特徴とする請求項1記載のエアバッグ装置のカバー体。
【請求項3】
破断予定部の第一部分は、装飾体の下縁部に沿って配置されている
ことを特徴とする請求項1または2記載のエアバッグ装置のカバー体。
発明の詳細な説明
【技術分野】
【0001】
本発明は、折り畳まれた状態のエアバッグを覆って配置されるエアバッグ装置のカバー体に関する。
続きを表示(約 2,000 文字)
【背景技術】
【0002】
従来、自動車などの車両が衝突した際の衝撃から乗員を保護するエアバッグ装置において、折り畳まれた状態のエアバッグを覆うカバー体に装飾体が配置されているものが知られている。カバー体の造形によっては、装飾体が中央部に据えられていることにより、エアバッグの膨張時にカバー体を開裂させるためのテアラインが装飾体を避けるようにエアバッグの展開中心に対してずれた位置に設定されている(例えば、特許文献1参照。)。
【先行技術文献】
【特許文献】
【0003】
特開2019-137197号公報
【発明の概要】
【発明が解決しようとする課題】
【0004】
カバー体が、テアラインにより展開する扉予定部が回動軸であるヒンジ部と装飾体との間で屈曲面を有するような形状となる場合であっても、エアバッグの展開挙動を良好にすることが求められる。また、ヒンジ部を越えて延びるテアラインを設定してエアバッグの展開を良好にすることも考えられるものの、エアバッグの良好な展開挙動のために初期応力がヒンジ部に伝わるようにすることも求められる。
【0005】
本発明は、このような点に鑑みなされたもので、エアバッグの良好な展開挙動を得ることができるエアバッグ装置のカバー体を提供することを目的とする。
【課題を解決するための手段】
【0006】
本発明の態様に係るエアバッグ装置のカバー体は、折り畳まれた状態のエアバッグを覆って配置されるエアバッグ装置のカバー体であって、表板部と、この表板部の裏側に突設され、前記エアバッグと対向するエリアをこの表板部に囲む位置にある壁部と、前記エリアに位置して前記表板部に配置された装飾体と、を備え、前記表板部は、前記装飾体が位置し、前記エリアの一部をなす第一面部と、左右方向に沿う屈曲部を介して前記第一面部の上部に隣接して前記エリアの他の一部をなす第二面部と、この第二面部の裏側にて左右方向に沿って前記エリアに形成された第一ヒンジ部と、前記屈曲部の裏側にて前記エリアに前記第一ヒンジ部と略平行に形成された第二ヒンジ部と、前記エリアに前記エアバッグの膨張圧力により破断可能に形成され、前記第一ヒンジ部を中心として上方に展開する扉予定部を前記エリアに区画する破断予定部と、を有し、前記破断予定部は、前記第一面部の裏側にて左右方向に沿って形成され、前記エアバッグの展開中心と前記装飾体とに対して下方の位置にある第一部分と、少なくとも前記第一面部の裏側から前記第二ヒンジ部を越えて前記第二面部の裏側に亘り前記エリアの左右の前記壁部に沿う位置に形成された第二部分と、を備える。
【発明の効果】
【0007】
本発明によれば、エアバッグの良好な展開挙動を得ることができる。
【図面の簡単な説明】
【0008】
本発明の一実施の形態のエアバッグ装置のカバー体を示す図3のI-I相当位置の端面図である。
図1の一部を拡大して示す端面図である。
同上カバー体を表側から示す平面図である。
同上カバー体の図3のII-II相当位置の断面図である。
同上カバー体を裏側から示す斜視図である。
同上カバー体を備えるハンドルの一例を示す正面図である。
【発明を実施するための形態】
【0009】
以下、本発明の一実施の形態について、図面を参照して説明する。
【0010】
図6において、1は自動車などの車両の操向用(操舵用)のハンドル(ステアリングハンドル)を示す。ハンドル1は、ハンドル本体部2に対してエアバッグ装置3とロアカバーとが取り付けられて構成されている。本実施の形態において、ハンドル1としては、ハンドル本体部2が、中央部に位置するボス部5と、このボス部5を囲む円環状または円弧状の把持部であるリム部(グリップ)6と、が放射状の連結部であるスポーク部7により連結されたステアリングホイールを例に挙げるが、これに限らず、いわゆるヨーク型などと呼ばれる操縦桿式のものでもよい。ハンドル1は、通常傾斜した状態で車両に備えられる操向用シャフトであるステアリングシャフトに装着されるものであるが、以下、ハンドル1を乗員側から見て、矢印U方向を上側、矢印D方向を下側として説明する。その他、前後左右の方向については、運転席に着座した乗員から見た方向を基準として、各図中において、矢印FR方向を前側または背面側、矢印RR方向を後側または正面側、矢印L方向を左側、矢印R方向を右側とする。また、ハンドル1の各部については、図6に示す操舵基準状態、すなわち中立位置(ニュートラル)を基準として位置や形状を説明する。
(【0011】以降は省略されています)
この特許をJ-PlatPat(特許庁公式サイト)で参照する
関連特許
個人
カーテント
4か月前
個人
タイヤレバー
2か月前
個人
車窓用防虫網戸
4か月前
個人
前輪キャスター
1か月前
個人
上部一体型自動車
今日
個人
タイヤ脱落防止構造
1か月前
個人
ルーフ付きトライク
1か月前
個人
ホイルのボルト締結
3か月前
個人
車輪清掃装置
4か月前
日本精機株式会社
表示装置
2か月前
日本精機株式会社
表示装置
2か月前
個人
車両通過構造物
2か月前
日本精機株式会社
表示装置
1か月前
井関農機株式会社
作業車両
3か月前
個人
マスタシリンダ
7日前
井関農機株式会社
作業車両
3か月前
個人
キャンピングトライク
3か月前
日本精機株式会社
表示装置
2か月前
個人
キャンピングトレーラー
3か月前
個人
車両用スリップ防止装置
3か月前
個人
乗合路線バスの客室装置
2か月前
個人
アクセルのソフトウェア
3か月前
個人
ワイパーゴム性能保持具
4か月前
個人
車載小物入れ兼雨傘収納具
3か月前
個人
円湾曲ホイール及び球体輪
2か月前
個人
音声ガイド、音声サービス
2か月前
日本精機株式会社
車室演出装置
1か月前
日本精機株式会社
車載表示装置
15日前
株式会社豊田自動織機
産業車両
2か月前
日本精機株式会社
車載表示装置
3か月前
株式会社ニフコ
保持装置
3か月前
株式会社ニフコ
照明装置
1か月前
株式会社ニフコ
収納装置
24日前
株式会社クラベ
ヒータユニット
4か月前
井関農機株式会社
収穫作業車両
4か月前
日本精機株式会社
車両用投影装置
3か月前
続きを見る
他の特許を見る