TOP
|
特許
|
意匠
|
商標
特許ウォッチ
Twitter
他の特許を見る
公開番号
2025139192
公報種別
公開特許公報(A)
公開日
2025-09-26
出願番号
2024038001
出願日
2024-03-12
発明の名称
送風装置
出願人
日本プラスト株式会社
代理人
個人
,
個人
,
個人
主分類
F24F
13/14 20060101AFI20250918BHJP(加熱;レンジ;換気)
要約
【課題】気密性を保持することができる送風装置を提供する。
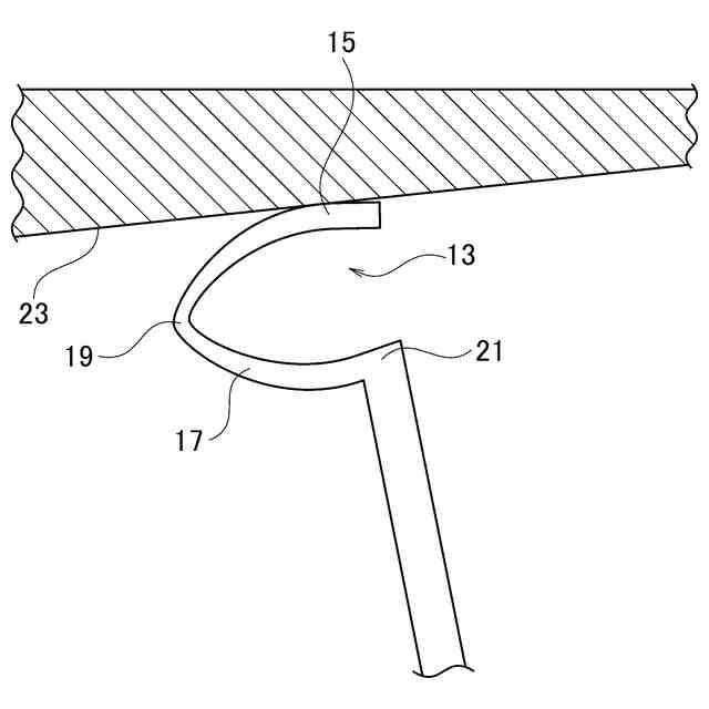
【解決手段】空気が流れる通風路7と、通風路7に対して、通風路7を開放する第1位置と、通風路7を閉塞する第2位置とを移動可能に配置された遮蔽体5とを備えた送風装置1において、遮蔽体5が、通風路7に移動可能に配置された本体部11と、本体部11に弾性変形可能に設けられ遮蔽体5の第2位置で通風路7の内面に当接される当接部13とを有し、当接部13が、本体部11の材料より軟らかく弾性変形可能な軟質材料からなり、通風路7の内面に接触される接触部15と、本体部11側に配置された非接触部17とを有し、接触部15と非接触部17との間に、接触部15と非接触部17とを連結し、弾性変形可能な第1連結部19を設け、非接触部17と本体部11との間に、非接触部17と本体部11とを連結し、弾性変形可能な第2連結部21を設けた。
【選択図】図1
特許請求の範囲
【請求項1】
空気が流れる通風路と、
前記通風路に対して、前記通風路を開放する第1位置と、前記通風路を閉塞する第2位置とを移動可能に配置された遮蔽体と、
を備え、
前記遮蔽体は、前記通風路に移動可能に配置された本体部と、前記本体部に弾性変形可能に設けられ前記遮蔽体の前記第2位置で前記通風路の内面に当接される当接部とを有し、
前記当接部は、前記本体部の材料より軟らかく弾性変形可能な軟質材料からなり、前記通風路の内面に接触される接触部と、前記本体部側に配置された非接触部とを有し、
前記接触部と前記非接触部との間には、前記接触部と前記非接触部とを連結し、弾性変形可能な第1連結部が設けられ、
前記非接触部と前記本体部との間には、前記非接触部と前記本体部とを連結し、弾性変形可能な第2連結部が設けられている送風装置。
続きを表示(約 290 文字)
【請求項2】
前記第1連結部は、前記遮蔽体の前記第1位置において、前記接触部を前記非接触部に近接して配置するように屈曲され、
前記第2連結部は、前記遮蔽体の前記第1位置において、前記非接触部を前記本体部に近接して配置するように屈曲されている請求項1に記載の送風装置。
【請求項3】
前記本体部と前記当接部とは、連続する一部材で形成されている請求項1又は2に記載の送風装置。
【請求項4】
前記通風路の内面には、前記当接部と当接したときに、前記当接部の弾性変形を案内する案内部が設けられている請求項1又は2に記載の送風装置。
発明の詳細な説明
【技術分野】
【0001】
本発明は、送風装置に関する。
続きを表示(約 1,500 文字)
【背景技術】
【0002】
従来、送風装置としては、空気が流れる通風路と、通風路に対して、通風路を開放する第1位置と、通風路を閉塞する第2位置とを移動可能に配置された遮蔽体としてのシャッターバルブとを備えたものが知られている(特許文献1参照)。この送風装置では、シャッターバルブが、通風路に移動可能に配置された本体部と、本体部に弾性変形可能に設けられシャッターバルブの第2位置で通風路の内面に当接される当接部としてのシール体とを有する。このような送風装置では、シャッターバルブの第2位置において、シール体が弾性変形しながら通風路の内面に当接することにより、通風路を閉塞し、通風路内の空気の流れを遮断する。
【先行技術文献】
【特許文献】
【0003】
特開2000-108654号公報
【発明の概要】
【発明が解決しようとする課題】
【0004】
ところで、上記特許文献1の送風装置では、当接部が、本体部の平面部分と平行な状態で、直線的に本体部から突出されている。このような直線的な当接部は、通風路を閉塞する遮蔽体の第2位置において、通風路の内面に当接したときに、本体部側に向けて大きく弾性変形するので、弾性変形量が多い。当接部の弾性変形量が多いと、当接部の表面にシワなどが発生し、通風路の内面と当接部との間に隙間が生じて、気密性が低下する可能性があった。
【0005】
本発明は、このような従来技術が有する課題に鑑みてなされたものである。そして本発明の目的は、気密性を保持することができる送風装置を提供することにある。
【課題を解決するための手段】
【0006】
本実施形態に係る送風装置は、空気が流れる通風路と、前記通風路に対して、前記通風路を開放する第1位置と、前記通風路を閉塞する第2位置とを移動可能に配置された遮蔽体と、を備え、前記遮蔽体は、前記通風路に移動可能に配置された本体部と、前記本体部に弾性変形可能に設けられ前記遮蔽体の前記第2位置で前記通風路の内面に当接される当接部とを有し、前記当接部は、前記本体部の材料より軟らかく弾性変形可能な軟質材料からなり、前記通風路の内面に接触される接触部と、前記本体部側に配置された非接触部とを有し、前記接触部と前記非接触部との間には、前記接触部と前記非接触部とを連結し、弾性変形可能な第1連結部が設けられ、前記非接触部と前記本体部との間には、前記非接触部と前記本体部とを連結し、弾性変形可能な第2連結部が設けられている。
【発明の効果】
【0007】
本発明によれば、気密性を保持することができる送風装置を提供することができる。
【図面の簡単な説明】
【0008】
本実施形態に係る送風装置の断面図である。
図1の要部拡大図である。
本実施形態に係る送風装置の遮蔽体の斜視図である。
【発明を実施するための形態】
【0009】
以下、図面を用いて本実施形態に係る送風装置について詳細に説明する。なお、図面の寸法比率は説明の都合上誇張されており、実際の比率と異なる場合がある。
【0010】
図1に示すように、本実施形態に係る送風装置1は、例えば、車両に搭載された空調装置(不図示)と、空調装置からの空気を吹き出す吹出口(不図示)との間に適用される。送風装置1は、空調装置からの空気の流量を調整し、吹出口から吹き出す空気の流量を変更することができる。
(【0011】以降は省略されています)
この特許をJ-PlatPat(特許庁公式サイト)で参照する
関連特許
日本プラスト株式会社
エアバッグ、エアバッグの折畳み方法
3日前
個人
空気調和機
3か月前
個人
エアコン室内機
3か月前
株式会社コロナ
加湿装置
5か月前
株式会社コロナ
空調装置
1か月前
株式会社コロナ
給湯装置
2か月前
株式会社コロナ
空調装置
5か月前
株式会社コロナ
空調装置
3日前
株式会社コロナ
空調装置
22日前
株式会社コロナ
空調装置
3か月前
株式会社コロナ
加湿装置
4か月前
株式会社コロナ
加湿装置
13日前
株式会社コロナ
空気調和機
2か月前
株式会社コロナ
空気調和機
5か月前
株式会社コロナ
空気調和機
1か月前
個人
住宅換気空調システム
1か月前
株式会社コロナ
風呂給湯機
21日前
ホーコス株式会社
排気フード
1か月前
株式会社パロマ
給湯器
2か月前
株式会社コロナ
直圧式給湯機
1か月前
株式会社コロナ
貯湯式給湯機
7日前
株式会社コロナ
貯湯式給湯機
4か月前
株式会社コロナ
暖房システム
3日前
株式会社コロナ
直圧式給湯機
2か月前
株式会社コロナ
貯湯式給湯装置
5か月前
株式会社コロナ
輻射式冷房装置
1か月前
株式会社コロナ
貯湯式給湯装置
3か月前
三菱電機株式会社
送風機
5か月前
株式会社コロナ
貯湯式給湯装置
2か月前
ホーコス株式会社
換気扇取付枠
22日前
株式会社コロナ
貯湯式給湯装置
4か月前
株式会社パロマ
給湯暖房機
4か月前
株式会社ツインバード
加熱調理器
13日前
株式会社パロマ
給湯暖房機
4か月前
株式会社コロナ
開放式燃焼暖房機
1か月前
株式会社パロマ
給湯暖房機
2か月前
続きを見る
他の特許を見る