TOP
|
特許
|
意匠
|
商標
特許ウォッチ
Twitter
他の特許を見る
公開番号
2025129931
公報種別
公開特許公報(A)
公開日
2025-09-05
出願番号
2024026914
出願日
2024-02-26
発明の名称
連続発酵方法及び連続発酵装置
出願人
住友金属鉱山株式会社
代理人
個人
主分類
C12N
1/16 20060101AFI20250829BHJP(生化学;ビール;酒精;ぶどう酒;酢;微生物学;酵素学;突然変異または遺伝子工学)
要約
【課題】効率よく発酵させて残留する原料を一層低減し得る連続発酵方法及び連続発酵装置の提供。
【解決手段】原料を含む培養液を貯留する複数の発酵槽2a,2b,2cが直列に接続されて、前記原料を発酵(P1a,P1b,P1c)させて発酵生成物を生成しており、複数の発酵槽2a,2b,2cにおいて生じた発酵生成物混合ガスを凝縮(P2a,P2b,P2c)して前記発酵生成物を含む液体成分とガス成分との混合物を得て、前記混合物を分離(P3a,P3b,P3c)して、前記液体成分と前記ガス成分とを得ており、複数の発酵槽2a,2b,2cのうち1段以上に対してキャリアガスを供給し、前記キャリアガスの一部または全部として前記ガス成分を用い、前記培養液の単位体積に対する前記キャリアガスの供給量が各発酵槽2a,2b,2cのうち少なくとも一部の発酵槽と他の発酵槽とで異なる、連続発酵方法、及び当該方法が適用された連続発酵装置。
【選択図】図2
特許請求の範囲
【請求項1】
原料を含む培養液を貯留する複数の発酵槽が直列に接続されて前記培養液が順次後段の発酵槽に送られ、前記複数の発酵槽のそれぞれにおいて、前記培養液中で前記原料を発酵させて発酵生成物を生成しており、
前記複数の発酵槽において生じた前記発酵生成物を含む発酵生成物混合ガスを凝縮して前記発酵生成物を含む液体成分とガス成分との混合物を得て、
前記混合物を分離して、前記液体成分と前記ガス成分とを得る連続発酵方法であって、
前記複数の発酵槽のうち最後段側から少なくとも1段以上に対して、貯留された前記培養液にキャリアガスを供給し、
前記キャリアガスの一部または全部として前記ガス成分を用い、かつ、前記培養液の単位体積に対する前記キャリアガスの供給量が各発酵槽のうち少なくとも一部の発酵槽と他の発酵槽とで異なる、連続発酵方法。
続きを表示(約 600 文字)
【請求項2】
前記キャリアガスの供給量は、前記複数の発酵槽のうち最後段の発酵槽が最も多い、請求項1に記載の連続発酵方法。
【請求項3】
前記複数の発酵槽を減圧状態とする、請求項1に記載の連続発酵方法。
【請求項4】
前記複数の発酵槽の圧力を50kPa以下とする、請求項3に記載の連続発酵方法。
【請求項5】
前記キャリアガスの主成分が二酸化炭素である、請求項1に記載の連続発酵方法。
【請求項6】
前記発酵生成物混合ガスの凝縮において、前記複数の発酵槽で生じたそれぞれの前記発酵生成物混合ガスを別々に凝縮する、請求項1に記載の連続発酵方法。
【請求項7】
前記混合物の分離において、前記発酵生成物混合ガスの凝縮で生じたそれぞれの前記混合物を別々に分離する、請求項6に記載の連続発酵方法。
【請求項8】
前記液体成分を濃縮して、前記発酵生成物の濃度が高い濃縮物を得る、請求項1に記載の連続発酵方法。
【請求項9】
前記複数の発酵槽のそれぞれに貯留された前記培養液にキャビテーションを発生させる、請求項1に記載の連続発酵方法。
【請求項10】
前記培養液へのキャビテーションの発生が間欠的である、請求項9に記載の連続発酵方法。
(【請求項11】以降は省略されています)
発明の詳細な説明
【技術分野】
【0001】
本発明は、連続発酵方法及び連続発酵装置に関する。
続きを表示(約 3,400 文字)
【背景技術】
【0002】
従来より、エタノールの工業的生産は、原料としての糖と、酵母菌と、水とを含む培養液を無酸素状態の発酵槽中で発酵させて、糖を分解することによって実施される。発酵効率を高めてエタノールの収率を上げるために、培養液を貯留する複数の発酵槽を直列に接続し、培養液が順次後段の発酵槽に送られるようにした上で、各発酵槽中で発酵させる連続(多段式)発酵方法や連続(多段式)発酵装置も知られている。
【0003】
しかし、連続発酵方法乃至連続発酵装置であっても、最終的に未発酵の原料がある程度の量残留してしまっていた。そのため、連続発酵方法乃至連続発酵装置においても、より一層発酵効率を高めてエタノールの収率をさらに向上させることが求められている。
【先行技術文献】
【特許文献】
【0004】
特開昭51-91386号公報
特開昭59-59195号公報
【発明の概要】
【発明が解決しようとする課題】
【0005】
したがって、本発明は、効率よく発酵させて残留する原料を一層低減し得る連続発酵方法及び連続発酵装置を提供することを目的とする。
【課題を解決するための手段】
【0006】
上記目的は、以下の本発明により達成される。
[1] 原料を含む培養液を貯留する複数の発酵槽が直列に接続されて前記培養液が順次後段の発酵槽に送られ、前記複数の発酵槽のそれぞれにおいて、前記培養液中で前記原料を発酵させて発酵生成物を生成しており、
前記複数の発酵槽において生じた前記発酵生成物を含む発酵生成物混合ガスを凝縮して前記発酵生成物を含む液体成分とガス成分との混合物を得て、
前記混合物を分離して、前記液体成分と前記ガス成分とを得る連続発酵方法であって、
前記複数の発酵槽のうち最後段側から少なくとも1段以上に対して、貯留された前記培養液にキャリアガスを供給し、
前記キャリアガスの一部または全部として前記ガス成分を用い、かつ、前記培養液の単位体積に対する前記キャリアガスの供給量が各発酵槽のうち少なくとも一部の発酵槽と他の発酵槽とで異なる、連続発酵方法。
[2] 前記キャリアガスの供給量は、前記複数の発酵槽のうち最後段の発酵槽が最も多い、[1]に記載の連続発酵方法。
[3] 前記複数の発酵槽を減圧状態とする、[1]に記載の連続発酵方法。
[4] 前記複数の発酵槽の圧力を50kPa以下とする、[3]に記載の連続発酵方法。
[5] 前記キャリアガスの主成分が二酸化炭素である、[1]に記載の連続発酵方法。
[6] 前記発酵生成物混合ガスの凝縮において、前記複数の発酵槽で生じたそれぞれの前記発酵生成物混合ガスを別々に凝縮する、[1]に記載の連続発酵方法。
[7] 前記混合物の分離において、前記発酵生成物混合ガスの凝縮で生じたそれぞれの前記混合物を別々に分離する、[6]に記載の連続発酵方法。
[8] 前記液体成分を濃縮して、前記発酵生成物の濃度が高い濃縮物を得る、[1]に記載の連続発酵方法。
[9] 前記複数の発酵槽のそれぞれに貯留された前記培養液にキャビテーションを発生させる、[1]に記載の連続発酵方法。
[10] 前記培養液へのキャビテーションの発生が間欠的である、[9]に記載の連続発酵方法。
[11] 前記培養液へキャビテーションを発生させる手段が超音波振動器である、[9]に記載の連続発酵方法。
[12] 原料を含む培養液を貯留し、前記培養液中で前記原料を発酵させて発酵生成物を生成せしめるとともに、直列に接続されて前記培養液が順次後段の発酵槽に送られる複数の発酵槽と、
前記複数の発酵槽において生じた前記発酵生成物を含む発酵生成物混合ガスを凝縮して前記発酵生成物を含む液体成分とガス成分との混合物を得る凝縮手段と、
前記混合物を分離して、前記液体成分と前記ガス成分とを得る分離手段と、
前記複数の発酵槽のうち最後段側から少なくとも1段以上に対して、貯留された前記培養液にキャリアガスを供給するキャリアガス供給手段と、を備え、
前記キャリアガス供給手段において、供給する前記キャリアガスの一部または全部として前記ガス成分を用い、かつ、前記培養液の単位体積に対する前記キャリアガスの供給量が各発酵槽のうち少なくとも一部の発酵槽と他の発酵槽とで異なる、連続発酵装置。
[13] 前記キャリアガス供給手段における前記キャリアガスの供給量は、前記複数の発酵槽のうち最後段の発酵槽が最も多い、[12]に記載の連続発酵装置。
[14] 前記複数の発酵槽が減圧状態である、[12]に記載の連続発酵装置。
[15] 前記複数の発酵槽の圧力が50kPa以下である、[14]に記載の連続発酵装置。
[16] 前記キャリアガス供給手段で供給される前記キャリアガスの主成分が二酸化炭素である、[12]に記載の連続発酵装置。
[17] 前記複数の発酵槽で生じたそれぞれの前記発酵生成物混合ガスを別々に凝縮する、前記発酵槽と同数の前記凝縮手段を備える、[12]に記載の連続発酵装置。
[18] 前記凝縮手段で得られたそれぞれの前記混合物を別々に分離する、前記発酵槽と同数の前記分離手段を備える、[17]に記載の連続発酵装置。
[19] 前記分離手段で分離された前記液体成分を濃縮して、前記発酵生成物の濃度が高い濃縮物を得る濃縮手段を備える、[12]に記載の連続発酵装置。
[20] 前記複数の発酵槽のそれぞれに、貯留された前記培養液にキャビテーションを発生させるキャビテーション発生手段を備える、[12]に記載の連続発酵装置。
[21] 前記キャビテーション発生手段がキャビテーションを間欠的に発生させる、[20]に記載の連続発酵装置。
[22] 前記キャビテーション発生手段が超音波振動器である、[20]に記載の連続発酵装置。
【発明の効果】
【0007】
本発明によれば、効率よく発酵させて残留する原料を一層低減し得る連続発酵方法及び連続発酵装置を提供することができる。
【図面の簡単な説明】
【0008】
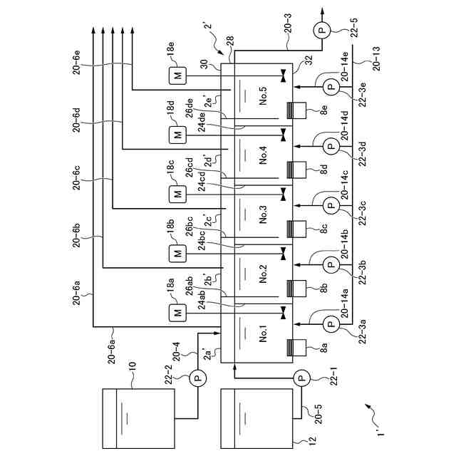
本発明の例示的態様である実施形態にかかる連続発酵装置を示す模式構成図である。
本発明の例示的態様である実施形態にかかる連続発酵方法の工程を示すフロー図である。
本発明の例示的態様である第1の変形例にかかる連続発酵方法の工程を示すフロー図である。
本発明の例示的態様である第2の変形例にかかる連続発酵装置を示す模式構成図である。
【発明を実施するための形態】
【0009】
以下、本発明の例示的態様である実施形態にかかる連続発酵方法及び連続発酵装置について、図面を参照しながら具体的に説明する。
図1は、実施形態にかかる連続発酵装置1の構成を模式的に示す模式構成図である。また、図2は、連続発酵装置1を用いた実施形態にかかる連続発酵方法の工程を示すフロー図である。図1においては、気体や液体等の移動を矢印で表している。また、図2においては、発酵生成物を基本的に含まない気体のみの移動を破線の矢印で、発酵生成物を含む液体や気体の移動を実線の矢印で、それぞれ表している。
【0010】
図1及び図2に示されるように、本実施形態においては、原料を含む培養液を貯留する3つの発酵槽2a,2b,2cが直列に接続されている。なお、本実施形態において「直列に接続」とは、貯留された培養液が順次後段の発酵槽に送られる状態に連続的に接続された状態を指し、配列が直線状であるか否かは問わない。このように、直列に接続された複数の発酵槽は通常「連続発酵槽」と称される。
(【0011】以降は省略されています)
この特許をJ-PlatPat(特許庁公式サイト)で参照する
関連特許
個人
抗遺伝子劣化装置
1か月前
個人
細胞内探査とその利用
2か月前
雪国アグリ株式会社
単糖類の製造方法
15日前
日本バイリーン株式会社
細胞用支持基材
3か月前
個人
細胞培養容器
3か月前
株式会社東洋新薬
経口組成物
2か月前
東洋紡株式会社
改変型RNAポリメラーゼ
3か月前
株式会社タクマ
バイオマス処理装置
2か月前
テルモ株式会社
吐出デバイス
1か月前
株式会社タクマ
バイオマス処理装置
2か月前
日油株式会社
蛋白質安定化剤
3か月前
テルモ株式会社
容器蓋デバイス
1か月前
宝酒造株式会社
アルコール飲料
24日前
島根県
油吸着材とその製造方法
13日前
東ソー株式会社
pH応答性マイクロキャリア
1か月前
大陽日酸株式会社
培養装置
1か月前
大陽日酸株式会社
培養装置
1か月前
トヨタ自動車株式会社
バイオ燃料製造方法
1か月前
株式会社ファンケル
SEC12タンパク発現促進剤
3か月前
株式会社豊田中央研究所
細胞励起装置
22日前
株式会社東海ヒット
灌流培養ユニット
4か月前
個人
有機フッ素化合物を分解する廃液処理法
9日前
アサヒビール株式会社
柑橘風味アルコール飲料
3か月前
アサヒビール株式会社
柑橘風味アルコール飲料
3か月前
オンキヨー株式会社
浸漬酒の製造方法、及び、浸漬酒
3か月前
株式会社シャローム
スフィンゴミエリン製造方法
1か月前
テルモ株式会社
採取組織細切補助デバイス
1か月前
株式会社今宮
瓶詰ビールの加熱殺菌方法および装置
1か月前
新東工業株式会社
培養システム
14日前
株式会社村田製作所
濾過装置および濾過方法
14日前
横河電機株式会社
藻類培養装置
1か月前
株式会社ショウワ
キトサンオリゴマー分画方法
24日前
東ソー株式会社
免疫学的測定法
9日前
住友金属鉱山株式会社
連続発酵方法及び連続発酵装置
1か月前
花王株式会社
リパーゼ変異体
3か月前
公立大学法人北九州市立大学
微生物の検知方法
2か月前
続きを見る
他の特許を見る