TOP
|
特許
|
意匠
|
商標
特許ウォッチ
Twitter
他の特許を見る
公開番号
2025130555
公報種別
公開特許公報(A)
公開日
2025-09-08
出願番号
2024027797
出願日
2024-02-27
発明の名称
半導体結晶ウェハの製造装置
出願人
有限会社サクセス
代理人
弁護士法人滝田三良法律事務所
主分類
B28D
7/04 20060101AFI20250901BHJP(セメント,粘土,または石材の加工)
要約
【課題】高精度なウェハが得られる半導体結晶ウェハの製造装置を提供する。
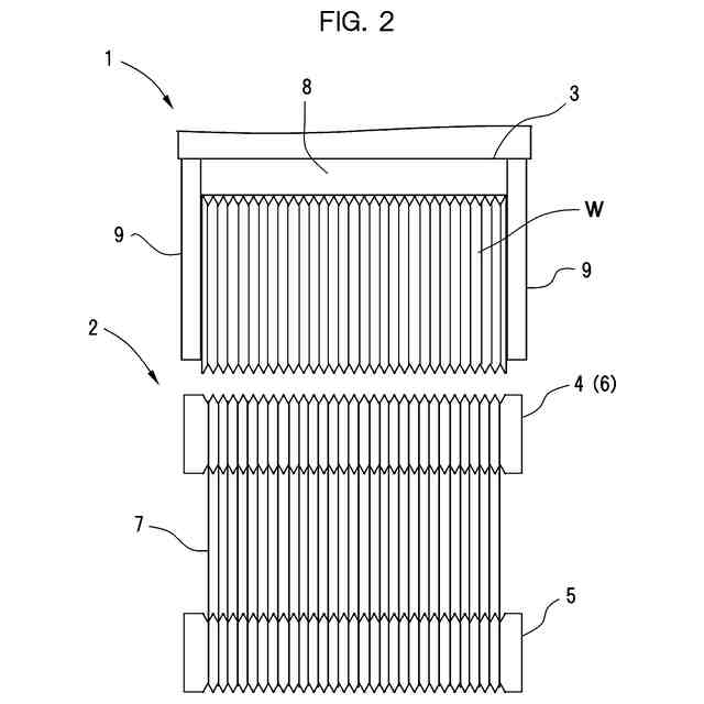
【解決手段】半導体結晶インゴットWを保持する保持装置1と、半導体結晶インゴットWに対してスラリーを供給すると共に複数のワイヤーソー7を無端回動させつつ半導体結晶インゴットWの軸線に直交する方向に進行させて半導体結晶インゴットWを切断する切断装置2とを備える。保持装置1は、スライス用ベース3を介して半導体結晶インゴットWを保持する。スライス用ベース3は、半導体結晶インゴットWの軸線に沿って半導体結晶インゴットWの外周面に接着してワイヤーソーが半導体結晶インゴットWと共に切り込み可能となる保持ブロック8と、保持ブロック8から半導体結晶インゴットWの径方向に沿って延設されて、半導体結晶インゴットWの軸線方向の両端面に接着する保持片9とを備える。
【選択図】図1
特許請求の範囲
【請求項1】
円柱状の半導体結晶インゴットから輪切り状にスライスしてウェハを製造する半導体結晶ウェハの製造装置において、
前記半導体結晶インゴットを保持する保持装置と、前記保持装置に保持された半導体結晶インゴットに対してスラリーを供給すると共に複数のワイヤーソーを無端回動させつつ前記半導体結晶インゴットの軸線に直交する方向に進行させて半導体結晶インゴットを切断する切断装置とを備え、
前記保持装置は、スライス用ベースを介して前記半導体結晶インゴットを保持し、
前記スライス用ベースは、前記半導体結晶インゴットの軸線に沿って前記半導体結晶インゴットの外周面に接着して前記ワイヤーソーが前記半導体結晶インゴットと共に切り込み可能となる保持ブロックと、前記保持ブロックから前記半導体結晶インゴットの径方向に沿って延設されて、前記半導体結晶インゴットの軸線方向の両端面に接着する保持片とを備えることを特徴とする半導体結晶ウェハの製造装置。
続きを表示(約 160 文字)
【請求項2】
前記保持ブロックは、前記半導体結晶インゴットに接触して接着する接触部と、前記接触部における前記半導体結晶インゴットの周方向の両側に形成された一対の側面部とを備え、
両側面部は、前記半導体結晶インゴット側で互いに交差する方向に傾斜していることを特徴とする請求項1記載の半導体結晶ウェハの製造装置。
発明の詳細な説明
【技術分野】
【0001】
本発明は、円柱状の半導体結晶インゴットから輪切り状にスライスしてウェハを製造する半導体結晶ウェハの製造装置に関する。
続きを表示(約 950 文字)
【背景技術】
【0002】
半導体結晶ウェハであるSiCウェハは、結晶成長させた単結晶SiCの塊を円柱状のインゴットに加工した後、単結晶SiCのインゴットをスライスすることにより製造される(例えば、下記特許文献1参照)。
【0003】
従来、インゴットのスライスは、ワイヤーソーを備える切断装置を用いることが知られている(例えば、下記特許文献2参照)。
【0004】
この種の切断装置によってスライスされるインゴットは、保持装置によって保持される。保持装置は、スライス用ベースを介してインゴットを保持する。スライス用ベースは、インゴットに分離可能に接着された状態で設けられる。
【0005】
インゴットを切り進んだワイヤーソーは、スライス用ベースにも切り込んでいく。これにより、インゴットに切残りが生じることなく輪切りにされて、薄板状のウェハが形成される。
【先行技術文献】
【特許文献】
【0006】
特開2020-15646号公報
特開2023-169626号公報
【発明の概要】
【発明が解決しようとする課題】
【0007】
しかし、インゴットを切り進んでインゴットに接着されスライス用ベースに達したワイヤーソーは、スライス用ベースに接し、更にインゴットと共にスライス用ベースに切り込んでいく。
【0008】
このとき、ワイヤーソーによる切断位置に供給されるスラリーが、スライス用ベースの側面に弾かれるように流下してしまい、ワイヤーソーと一緒に切断部分に侵入するスラリー量が少なくなる。
【0009】
このため、ウェハの切断面は、スライス用ベースに達する前にインゴット単独で切断された部分の切断面に比べて、スライス用ベースと共に切断された部分の切断面が粗くなり、高精度なウェハが得られない不都合があった。
【0010】
上記の点に鑑み、本発明は、高精度なウェハが得られる半導体結晶ウェハの製造装置を提供することを目的とする。
【課題を解決するための手段】
(【0011】以降は省略されています)
この特許をJ-PlatPat(特許庁公式サイト)で参照する
関連特許
有限会社サクセス
半導体結晶ウェハの製造装置
1か月前
有限会社サクセス
研削加工装置及び研削加工装置の定盤精度出し方法
1か月前
峰岸株式会社
ドリルビット
8か月前
株式会社丸高工業
湿式穿孔工具
8か月前
株式会社大林組
形成方法
10か月前
株式会社大林組
積層材成型方法
2か月前
ジャパンライフ株式会社
段差形成治具
11か月前
株式会社大林組
形成方法及び形成装置
8か月前
株式会社コンセック
ワイヤーソー装置
10か月前
個人
石膏板の製造方法
1か月前
倉敷紡績株式会社
セメント系造形物の製造方法
4日前
倉敷紡績株式会社
セメント系造形物の製造方法
4日前
株式会社大林組
構造体の製造方法
4か月前
株式会社大林組
構造体の製造方法
4か月前
株式会社シブヤ
穿孔装置
3か月前
セレンディクス株式会社
構造物の製造方法
1か月前
太平洋マテリアル株式会社
軽量繊維層及びその形成方法
3日前
セレンディクス株式会社
建築物の製造方法
2か月前
モリ技巧株式会社
コンクリートスラリー処理装置
10か月前
株式会社奥村組
積層コンクリート集合体の養生方法
6か月前
株式会社マキタ
作業機
10か月前
芝浦メカトロニクス株式会社
基板分離装置
6か月前
シンクス株式会社
室内ボード面の穴開け加工装置
11か月前
戸田建設株式会社
打設現場におけるスランプの調整方法
4か月前
株式会社Polyuse
構造物の製造方法
9か月前
株式会社Polyuse
造形物の製造方法
8か月前
本多産業株式会社
コンクリート離型剤
3か月前
株式会社熊谷組
骨材管理システムおよび骨材管理方法
2か月前
カヤバ株式会社
ミキサドラム制御装置
9か月前
鹿島建設株式会社
フレッシュコンクリートの製造方法
6か月前
株式会社エンプラス
流体取扱装置
10か月前
株式会社大林組
構造物形成方法及び構造物形成システム
5か月前
カヤバ株式会社
ミキサドラムの制御装置
6か月前
鹿島建設株式会社
境界ブロックの製作方法および境界ブロック
4か月前
ノリタケ株式会社
ロールコンパクション成形装置
3日前
ノリタケ株式会社
ロールコンパクション成形装置
3日前
続きを見る
他の特許を見る