TOP
|
特許
|
意匠
|
商標
特許ウォッチ
Twitter
他の特許を見る
10個以上の画像は省略されています。
公開番号
2025145989
公報種別
公開特許公報(A)
公開日
2025-10-03
出願番号
2024046537
出願日
2024-03-22
発明の名称
電磁接触器
出願人
富士電機株式会社
代理人
個人
,
個人
主分類
H01H
50/56 20060101AFI20250926BHJP(基本的電気素子)
要約
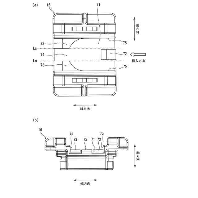
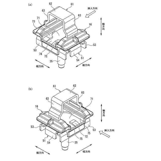
【課題】電磁接触器において、接触スプリングの組立性を向上させる。
【解決手段】接点支え16には、受面71と、傾斜凸部72と、奥側凸部73と、が形成されている。傾斜凸部72は、受面71よりも挿入方向の手前にあり、受面71よりも凸となり、挿入方向の奥に向かうほど高さが高くなる。奥側凸部73は、受面71よりも挿入方向の奥にあり、受面71よりも凸となり、側方から挿入された接触スプリング18の径方向外側に対向する。
【選択図】図9
特許請求の範囲
【請求項1】
受面が形成された接点支えと、
前記接点支えに固定された枠体と、
前記枠体に嵌まり合う可動接触子と、
前記可動接触子と前記受面との間に介在する接触スプリングと、を備え、
前記可動接触子と前記受面との間に側方から前記接触スプリングを挿入する方向を挿入方向とし、
前記接点支えには、
前記受面よりも挿入方向の手前にあり、前記受面よりも凸となり、挿入方向の奥に向かうほど高さが高くなる傾斜凸部と、
前記受面よりも挿入方向の奥にあり、前記受面よりも凸となり、側方から挿入された前記接触スプリングの径方向外側に対向する奥側凸部と、が形成されていることを特徴とする電磁接触器。
続きを表示(約 670 文字)
【請求項2】
前記接触スプリングは、前記傾斜凸部を乗り越えたときに、前記受面、前記傾斜凸部、及び前記奥側凸部に嵌まり合うことを特徴とする請求項1に記載の電磁接触器。
【請求項3】
前記奥側凸部は、前記接触スプリングの軸方向から見て、挿入方向と直交する方向の両側に一つずつ形成されていることを特徴とする請求項1に記載の電磁接触器。
【請求項4】
前記接点支えには、
前記奥側凸部同士の間に、前記受面と同一平面の溝面が形成されていることを特徴とする請求項3に記載の電磁接触器。
【請求項5】
前記奥側凸部は、前記接触スプリングの軸方向から見て、前記接触スプリングの外径に沿って形成されていることを特徴とする請求項3に記載の電磁接触器。
【請求項6】
前記接触スプリングの軸方向から見て、挿入方向と平行な二つの直線を分割線とし、
前記奥側凸部は、二つの前記分割線の外側に形成され、
前記傾斜凸部は、二つの前記分割線の内側に形成されていることを特徴とする請求項3に記載の電磁接触器。
【請求項7】
前記接点支えには、
前記接触スプリングの軸方向から見て、挿入方向と直交する方向の両側に、互いに対向する一対の側壁が形成されていることを特徴とする請求項1に記載の電磁接触器。
【請求項8】
前記奥側凸部は、挿入方向の奥に向かうほど高さが低くなるように傾斜していることを特徴とする請求項1に記載の電磁接触器。
発明の詳細な説明
【技術分野】
【0001】
本発明は、電磁接触器に関するものである。
続きを表示(約 2,200 文字)
【背景技術】
【0002】
特許文献1に開示された電磁接触器は、接点支えにスプリング押さえをインサート成形してあり、スプリング押さえに可動接触子を嵌め合わせてから可動接触子と接点支えとの間に接触スプリングを介在させてある。
【先行技術文献】
【特許文献】
【0003】
特開2023-91238号公報
【発明の概要】
【発明が解決しようとする課題】
【0004】
可動接触子と接点支えとの間に接触スプリングを挟み込むときに、反発力のある接触スプリングが安定せず、組立性に改善の余地があった。
本発明の目的は、電磁接触器において、接触スプリングの組立性を向上させることである。
【課題を解決するための手段】
【0005】
本発明の一態様に係る電磁接触器は、接点支えと、枠体と、可動接触子と、接触スプリングと、を備えている。接点支えは、受面が形成されている。枠体は、接点支えに固定されている。可動接触子は、枠体に嵌まり合っている。接触スプリングは、可動接触子と受面との間に介在している。可動接触子と受面との間に側方から接触スプリングを挿入する方向を挿入方向とする。接点支えには、傾斜凸部と、奥側凸部と、が形成されている。傾斜凸部は、受面よりも挿入方向の手前にあり、受面よりも凸となり、挿入方向の奥に向かうほど高さが高くされている。奥側凸部は、受面よりも挿入方向の奥にあり、受面よりも凸となり、側方から挿入された接触スプリングの径方向外側に対向している。
【発明の効果】
【0006】
本発明によれば、接触スプリングが傾斜凸部によって軸方向に圧縮され、傾斜凸部を乗り越えたときに、受面、傾斜凸部、及び奥側凸部に嵌まり合う。すなわち、反発力のある接触スプリングが安定した状態で案内されるため、接触スプリングの組立性が向上する。
【図面の簡単な説明】
【0007】
電磁接触器の外観を示す図である。
釈放状態にある電磁接触器の断面を示す図である。
投入状態にある電磁接触器の断面を示す図である。
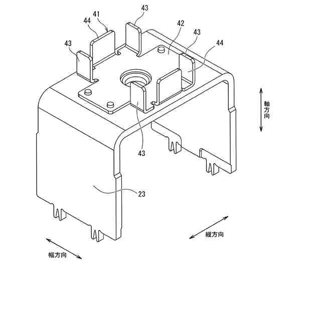
外ヨーク及び固定ガイドを示す図である。
組み付けが完了した接点支えを示す図である。
可動ガイド、ケージを示す図である。
インサート部品を省略した接点支えを示す図である。
インサート部品を省略した接点支えを示す図である。
インサート部品を含めた接点支えを示す図である。
可動接触子、接触スプリングを示す図である。
組み付けが完了した接点支えの断面を示す図である。
接触スプリングがセットされた接点支えを示す図である。
接触スプリングがセットされた接点支えを示す図である。
比較例を示す図である。
【発明を実施するための形態】
【0008】
以下、本発明の実施形態を図面に基づいて説明する。なお、各図面は模式的なものであって、現実のものとは異なる場合がある。また、以下の実施形態は、本発明の技術的思想を具体化するための装置や方法を例示するものであり、構成を下記のものに特定するものでない。すなわち、本発明の技術的思想は、特許請求の範囲に記載された技術的範囲内において、種々の変更を加えることができる。
【0009】
《実施形態》
《構成》
以下の説明では、互いに直交する三方向を、便宜的に、縦方向、幅方向、及び軸方向とする。
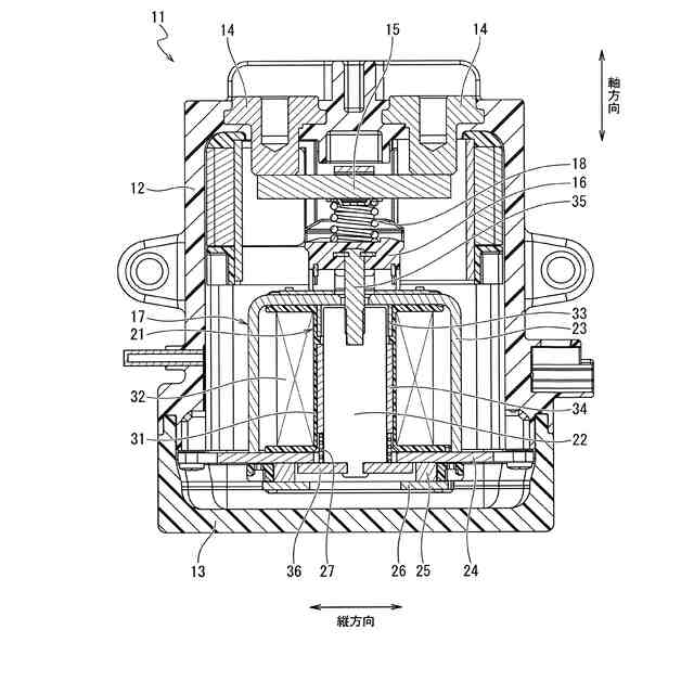
図1は、電磁接触器11の外観を示す図である。
ここでは、電磁接触器11を、縦方向の一方、幅方向の一方、及び軸方向の一方から見た状態を示している。電磁接触器11は、ケース12と、カバー13と、を備えている。
ケース12は、絶縁性を有する樹脂製であり、縦方向の両側、幅方向の両側、及び軸方向の一方が閉塞され、軸方向の他方が開放された深型の容器状に形成されている。
カバー13は、絶縁性を有する樹脂製であり、縦方向の両側、幅方向の両側、及び軸方向の他方が閉塞され、軸方向の一方が開放された浅型の容器状に形成されている。カバー13は、ケース12における軸方向の他方に嵌め合わされ、例えばバインドタッピングねじによって締結され、密閉されている。
【0010】
ケース12及びカバー13の内部には、水素や窒素等の加圧された遮断用ガスが封入されている。そのため、ケース12とカバー13とをエポキシ系の接着剤で固定し、接着した箇所を含めた外周面の全てが粘土結晶の積層膜によってガスバリアコーティングされている。具体的には、精製したスメクタイトの層間イオンを置換し、PVA(ポリビニルアルコール)や水溶性ナイロン等の有機バインダーでつなぎ合わせることで、迷路効果を発現し、水素や窒素等のガス分子の透過を防いでいる。積層膜は厚み方向に積層されており、厚さは例えば2μmである。ガスバリアコーティングは、例えば塗液をミスト化してケース12及びカバー13に塗布するスプレー方式とし、例えば150℃以上の、層間イオンが粘土結晶内に取り込まれる温度で焼成されることで完成される。
(【0011】以降は省略されています)
この特許をJ-PlatPat(特許庁公式サイト)で参照する
関連特許
富士電機株式会社
搬送機構
4日前
富士電機株式会社
冷却装置
7日前
富士電機株式会社
溶接装置
4日前
富士電機株式会社
半導体装置
4日前
富士電機株式会社
電磁接触器
今日
富士電機株式会社
半導体装置
22日前
富士電機株式会社
回路遮断器
1日前
富士電機株式会社
エンコーダ
1日前
富士電機株式会社
半導体装置
23日前
富士電機株式会社
半導体装置
今日
富士電機株式会社
電磁接触器
今日
富士電機株式会社
電磁接触器
今日
富士電機株式会社
電磁接触器
今日
富士電機株式会社
電磁接触器
今日
富士電機株式会社
冷却システム
23日前
富士電機株式会社
チャンネルベース
今日
富士電機株式会社
チャンネルベース
今日
富士電機株式会社
電力変換システム
4日前
富士電機株式会社
電力変換システム
今日
富士電機株式会社
エレベータ制御装置
2日前
富士電機株式会社
エレベータ制御装置
2日前
富士電機株式会社
自動販売機の保護装置
7日前
富士電機株式会社
冷却器及び半導体装置
今日
富士電機株式会社
測定方法及び製造方法
7日前
富士電機株式会社
半導体モジュール及び車両
8日前
富士電機株式会社
冷却装置および電力変換装置
8日前
富士電機株式会社
店舗用冷却装置制御システム
8日前
富士電機株式会社
測定装置および冷却システム
2日前
富士電機株式会社
店舗内位置情報取得システム
1日前
富士電機株式会社
窒化物半導体装置の製造方法
今日
富士電機株式会社
冷却器及び半導体モジュール
今日
富士電機株式会社
半導体装置及びその製造方法
今日
富士電機株式会社
炭化珪素半導体装置の製造方法
今日
富士電機株式会社
最適制御方法、及び最適制御装置
4日前
富士電機株式会社
過電圧保護回路および半導体装置
8日前
富士電機株式会社
情報処理システム及び情報処理方法
14日前
続きを見る
他の特許を見る