TOP
|
特許
|
意匠
|
商標
特許ウォッチ
Twitter
他の特許を見る
公開番号
2025145990
公報種別
公開特許公報(A)
公開日
2025-10-03
出願番号
2024046539
出願日
2024-03-22
発明の名称
電磁接触器
出願人
富士電機株式会社
代理人
個人
,
個人
主分類
H01H
50/14 20060101AFI20250926BHJP(基本的電気素子)
要約
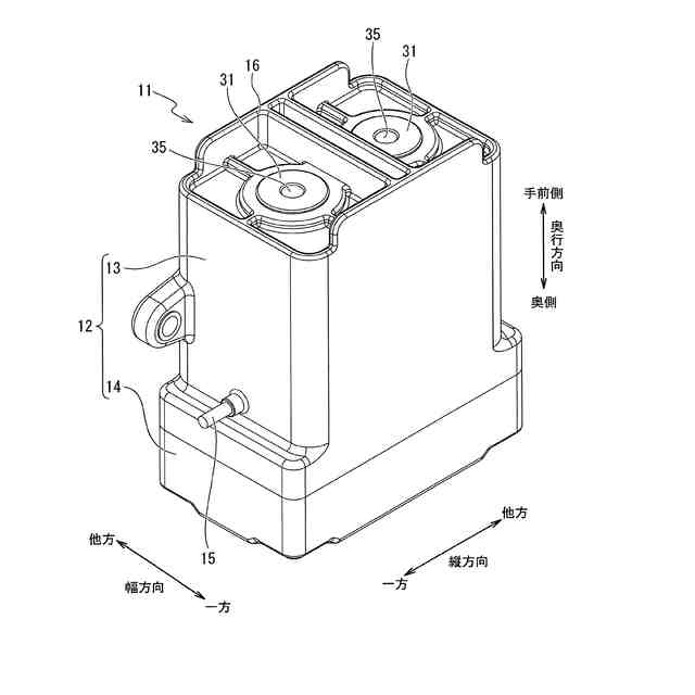
【課題】外部端子にねじ締結する際の固定接触子の高精度の位置決めと、固定接触子の回転防止とを確実に行うことができる電磁接触器を提供する。
【解決手段】一対の固定接触子31及び可動接触子32と電磁石ユニット22とを収納する合成樹脂製の筐体13を備えている。一対の固定接触子は、外部端子60,61にねじ締結されるねじ穴35を外部に露出した状態で筐体に一体化されている。一対の固定接触子に突起部36が形成されているとともに、筐体に、突起部に嵌合する凹部39が形成されている。
【選択図】図2
特許請求の範囲
【請求項1】
固定接点を有する一対の固定接触子と、
前記一対の固定接触子の前記固定接点に接離可能な一対の可動接点を有する可動接触子と、
前記可動接触子を駆動する電磁石ユニットと、
前記一対の固定接触子及び前記可動接触子と前記電磁石ユニットとを収納する合成樹脂製の筐体と、を備えており、
前記一対の固定接触子は、外部端子にねじ締結されるねじ穴を外部に露出した状態で前記筐体に一体化されており、
一体化されている前記一対の固定接触子及び前記筐体の一方に突起部が形成されているとともに、前記一対の固定接触子及び前記筐体の他方に、前記突起部に嵌合する凹部が形成されていることを特徴とする電磁接触器。
続きを表示(約 530 文字)
【請求項2】
固定接点を有する一対の固定接触子と、
前記一対の固定接触子の前記固定接点に接離可能な一対の可動接点を有する可動接触子と、
前記可動接触子を駆動する電磁石ユニットと、
前記一対の固定接触子及び前記可動接触子と前記電磁石ユニットとを収納する合成樹脂製の筐体と、を備えており、
前記一対の固定接触子は、外部端子にねじ締結されるねじ穴を外部に露出した状態で前記筐体に一体化されており、
一体化されている前記一対の固定接触子及び前記筐体の一方に、2箇所以上の第1突起部及び第1凹部が形成されているとともに、前記一対の固定接触子及び前記筐体の他方に、前記第1突起部及び前記第1凹部に嵌合する2箇所以上の第2凹部及び第2突起部が形成されていることを特徴とする電磁接触器。
【請求項3】
前記筐体にはアーク消弧用ガスが封入されており、
前記一対の固定接触子は、インサート成形によって前記筐体に一体化されていることを特徴とする請求項1又は2記載の電磁接触器。
【請求項4】
前記一対の固定接触子には、化学エッチングによる表面処理が施されていることを特徴とする請求項3記載の電磁接触器。
発明の詳細な説明
【技術分野】
【0001】
本発明は、電磁接触器に関する。
続きを表示(約 1,300 文字)
【背景技術】
【0002】
特許文献1の電磁接触器は、筐体に配置した固定接触子と外部端子とをねじ締結する際に、固定接触子に螺合する六角形状のねじ受け部材を筐体内部に設けることで、固定接触子が筐体に対して回転するのを防止している。
【0003】
また、特許文献2の電磁接触器は、筐体と固定接触子とをねじ締結する際に、筐体に設けた収容凹部に、雄ねじに螺合するナットが収納されているが、収容凹部に設けた複数の突起がナットを押圧することで、雄ねじの中心がずれるのを防止している。
【先行技術文献】
【特許文献】
【0004】
特開2021-48026号公報(図7)
特開2023-51349号公報
【発明の概要】
【発明が解決しようとする課題】
【0005】
特許文献1は、外部端子とねじ締結する際の固定接触子の回転を防止のため、筐体内部にねじ受け部材を配置する必要があり、部品点数が多くなることで製造コストが増大する。
【0006】
特許文献2も、筐体に固定接触子を高精度に位置決めするために、収容凹部に複数の突起を設けるといった複雑な製造工程が必要であり、製造コストの面で問題がある。
【0007】
本発明は、部品点数を減らし、複雑な製造工程を無くして製造コストの低減化を図りながら、外部端子にねじ締結する際の固定接触子の高精度の位置決めと、固定接触子の回転防止とを確実に行うことができる電磁接触器を提供することを目的としている。
【課題を解決するための手段】
【0008】
上記目的を達成するために、本発明の電磁接触器は、固定接点を有する一対の固定接触子と、一対の固定接触子の固定接点に接離可能な一対の可動接点を有する可動接触子と、可動接触子を駆動する電磁石ユニットと、一対の固定接触子及び可動接触子と電磁石ユニットとを収納する合成樹脂製の筐体と、を備えており、一対の固定接触子は、外部端子にねじ締結されるねじ穴を外部に露出した状態で筐体に一体化されており、一体化されている一対の固定接触子及び筐体の一方に突起部が形成されているとともに、一対の固定接触子及び筐体の他方に、突起部に嵌合する凹部が形成されている。
【発明の効果】
【0009】
本発明の電磁接触器によれば、部品点数を減らし、複雑な製造工程を無くして製造コストの低減化を図りながら外部端子にねじ締結する際の固定接触子の高精度の位置決めと、固定接触子の回転防止とを確実に行うことができる。
【図面の簡単な説明】
【0010】
本発明に係る電磁接触器を示す斜視図である。
本発明に係る電磁接触器の内部構造を示す断面図である。
本発明に係る電磁接触器を構成する固定接触子を示す図である。
本発明に係る固定接触子と筐体とをインサート成形で一体化した模式図である。
【発明を実施するための形態】
(【0011】以降は省略されています)
この特許をJ-PlatPat(特許庁公式サイト)で参照する
関連特許
富士電機株式会社
冷却装置
1か月前
富士電機株式会社
搬送機構
5日前
富士電機株式会社
溶接装置
5日前
富士電機株式会社
冷却装置
1か月前
富士電機株式会社
冷却装置
8日前
富士電機株式会社
半導体装置
1か月前
富士電機株式会社
半導体装置
5日前
富士電機株式会社
電磁接触器
1日前
富士電機株式会社
半導体装置
23日前
富士電機株式会社
半導体装置
24日前
富士電機株式会社
回路遮断器
2日前
富士電機株式会社
エンコーダ
2日前
富士電機株式会社
自動販売機
1か月前
富士電機株式会社
半導体装置
1か月前
富士電機株式会社
半導体装置
1か月前
富士電機株式会社
半導体装置
1日前
富士電機株式会社
半導体装置
1か月前
富士電機株式会社
半導体装置
1か月前
富士電機株式会社
半導体装置
1か月前
富士電機株式会社
電磁接触器
1日前
富士電機株式会社
電磁接触器
1日前
富士電機株式会社
電磁接触器
1日前
富士電機株式会社
電磁接触器
1日前
富士電機株式会社
半導体装置
1か月前
富士電機株式会社
電力変換装置
1か月前
富士電機株式会社
ショーケース
1か月前
富士電機株式会社
分析システム
1か月前
富士電機株式会社
冷却システム
24日前
富士電機株式会社
硬貨処理装置
1か月前
富士電機株式会社
チャンネルベース
1日前
富士電機株式会社
半導体パッケージ
25日前
富士電機株式会社
電力変換システム
1か月前
富士電機株式会社
チャンネルベース
1日前
富士電機株式会社
電力変換システム
1日前
富士電機株式会社
半導体モジュール
1か月前
富士電機株式会社
半導体モジュール
1か月前
続きを見る
他の特許を見る