TOP
|
特許
|
意匠
|
商標
特許ウォッチ
Twitter
他の特許を見る
公開番号
2025131002
公報種別
公開特許公報(A)
公開日
2025-09-09
出願番号
2024028457
出願日
2024-02-28
発明の名称
超音波内視鏡
出願人
富士フイルム株式会社
代理人
弁理士法人航栄事務所
主分類
A61B
8/12 20060101AFI20250902BHJP(医学または獣医学;衛生学)
要約
【課題】耐久性を向上させた超音波内視鏡を提供する。
【解決手段】超音波内視鏡12は、金属を含んで構成された金属リング41cと、挿入部22の先端部40に設けられた超音波振動子48と、超音波振動子48と金属リング41cの間に設けられたバッキング材層54と、を備え、バッキング材層54は、ポリウレア樹脂、ポリウレタン構造を有するエポキシ樹脂、及びポリエーテルアミン構造を有するエポキシ樹脂のうち、少なくとも1種類を含んで構成されている。
【選択図】図3
特許請求の範囲
【請求項1】
金属を含んで構成された筒状部材と、
前記筒状部材の外周面に沿って設けられた超音波振動子と、
前記超音波振動子と前記筒状部材の間に設けられたバッキング材層と、を備え、
前記バッキング材層は、ポリウレア樹脂、ポリウレタン構造を有するエポキシ樹脂、及びポリエーテルアミン構造を有するエポキシ樹脂のうち、少なくとも1種類を含んで構成されている超音波内視鏡。
続きを表示(約 880 文字)
【請求項2】
請求項1に記載の超音波内視鏡であって、
前記バッキング材層は、放熱フィラーを含んで構成されている超音波内視鏡。
【請求項3】
請求項2に記載の超音波内視鏡であって、
前記放熱フィラーの熱電伝導率は、30W/m・K以上である超音波内視鏡。
【請求項4】
請求項3に記載の超音波内視鏡であって、
前記放熱フィラーは、酸化アルミニウム、酸化タングステン、炭化ケイ素、炭化タングステン、窒化アルミニウム、窒化ケイ素、窒化ホウ素、及び窒化アルミニウムのうち少なくとも1つを含む超音波内視鏡。
【請求項5】
請求項1から4のいずれか1項に記載の超音波内視鏡であって、
前記筒状部材と前記バッキング材層は、中間層を介して固着されている超音波内視鏡。
【請求項6】
請求項5に記載の超音波内視鏡であって、
前記中間層は、前記筒状部材に含まれる金属から発生するイオンが前記バッキング材層に接触するのを防ぐものである超音波内視鏡。
【請求項7】
請求項6に記載の超音波内視鏡であって、
前記バッキング材層は、前記筒状部材の外周面に形成された前記中間層に固着されている超音波内視鏡。
【請求項8】
請求項1から4のいずれか1項に記載の超音波内視鏡であって、
前記筒状部材を収容する収容部と、
前記収容部における前記筒状部材の周囲に充填された充填剤と、を備え、
前記充填剤は、非硬化状態のせん断速度0.01/sにおける粘度が100Pa・秒未満である超音波内視鏡。
【請求項9】
請求項8に記載の超音波内視鏡であって、
前記充填剤は、樹脂を基材とし、チキソ剤を含んで構成される超音波内視鏡。
【請求項10】
請求項9に記載の超音波内視鏡であって、
前記チキソ剤は、フュームドシリカを含む超音波内視鏡。
(【請求項11】以降は省略されています)
発明の詳細な説明
【技術分野】
【0001】
本発明は、超音波内視鏡に関する。
続きを表示(約 1,200 文字)
【背景技術】
【0002】
特許文献1、特許文献2、及び特許文献3には、複数の超音波振動子が円筒形状に配列された超音波振動子アレイを含む超音波内視鏡が記載されている。
【先行技術文献】
【特許文献】
【0003】
特開2022-124502号公報
国際公開第2018/003737号
特開2022-175241号公報
【発明の概要】
【発明が解決しようとする課題】
【0004】
本開示の目的は、耐久性を向上させた超音波内視鏡を提供することにある。
【課題を解決するための手段】
【0005】
本開示の技術に係る一つの実施形態の超音波内視鏡は、金属を含んで構成された筒状部材と、上記筒状部材の外周面に沿って設けられた超音波振動子と、上記超音波振動子と上記筒状部材の間に設けられたバッキング材層と、を備え、上記バッキング材層は、ポリウレア樹脂、ポリウレタン構造を有するエポキシ樹脂、及びポリエーテルアミン構造を有するエポキシ樹脂のうち、少なくとも1種類を含んで構成されているものである。
【発明の効果】
【0006】
本開示の技術によれば、耐久性を向上させることができる。
【図面の簡単な説明】
【0007】
図1は、本開示の技術の一態様である超音波内視鏡を使用する内視鏡装置を示す概略構成図である。
図2は、図1に示す超音波内視鏡の先端部の一例の外観を示す部分拡大斜視図である。
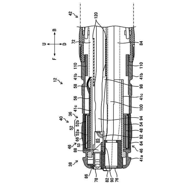
図3は、図2に示す超音波内視鏡の先端部の軸線に沿う縦断面図である。
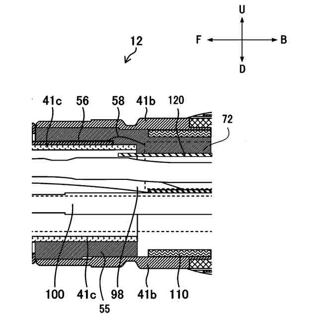
図4は、図3の部分拡大図である。
【発明を実施するための形態】
【0008】
図1は、本開示の技術の一態様である超音波内視鏡12を使用する内視鏡装置10を示す概略構成図である。図2は、図1に示す超音波内視鏡12の先端部の一例の外観を示す部分拡大斜視図である。図3は、図2に示す超音波内視鏡12の先端部の軸線に沿う縦断面図である。
【0009】
図1に示すように、内視鏡装置10は、超音波内視鏡12と、超音波画像を生成する超音波用プロセッサ装置14と、内視鏡画像を生成する内視鏡用プロセッサ装置16と、体腔内を照明する照明光を超音波内視鏡12に供給する光源装置18と、超音波画像及び内視鏡画像等を表示するモニタ20と、洗浄水などを貯留する送水タンク21aと、体腔内の吸引物を吸引する吸引ポンプ21bと、を備える。
【0010】
超音波内視鏡12は、被検体の体腔内に挿入される挿入部22と、挿入部22の基端部に連設され、術者が操作を行うための操作部24と、操作部24に一端が接続されたユニバーサルコード26とを有する。
(【0011】以降は省略されています)
この特許をJ-PlatPat(特許庁公式サイト)で参照する
関連特許
富士フイルム株式会社
内視鏡
6日前
富士フイルム株式会社
積層体
今日
富士フイルム株式会社
超音波診断器
5日前
富士フイルム株式会社
超音波診断装置
1日前
富士フイルム株式会社
超音波診断装置
5日前
富士フイルム株式会社
超音波診断装置
5日前
富士フイルム株式会社
超音波診断装置
5日前
富士フイルム株式会社
超音波診断装置
5日前
富士フイルム株式会社
医療機器用カート
6日前
富士フイルム株式会社
計測装置及び方法
1日前
富士フイルム株式会社
X線管およびX線検査装置
6日前
富士フイルム株式会社
マウント装置及び撮像装置
今日
富士フイルム株式会社
組成物、硬化物および光学部材
5日前
富士フイルム株式会社
画像処理装置、方法およびプログラム
5日前
富士フイルム株式会社
画像処理装置、方法およびプログラム
今日
富士フイルム株式会社
情報処理装置、及び情報処理プログラム
6日前
富士フイルム株式会社
情報処理装置、及び情報処理プログラム
7日前
富士フイルム株式会社
情報処理装置、及び情報処理プログラム
7日前
富士フイルム株式会社
情報処理装置、及び情報処理プログラム
7日前
富士フイルム株式会社
支援装置、支援方法、及び支援プログラム
5日前
富士フイルム株式会社
磁気共鳴撮像装置及び中心周波数の補正方法
5日前
富士フイルム株式会社
制御装置、撮像装置、制御方法、及びプログラム
1日前
富士フイルム株式会社
制御装置、撮像装置、制御方法、及びプログラム
1日前
富士フイルム株式会社
制御装置、撮像装置、制御方法、及びプログラム
1日前
富士フイルム株式会社
超音波診断装置用カートおよび超音波診断ユニット
6日前
富士フイルム株式会社
超音波診断装置用カートおよび超音波診断ユニット
5日前
富士フイルム株式会社
超音波診断装置用カートおよび超音波診断ユニット
5日前
富士フイルム株式会社
画像処理装置、画像処理方法、及び画像処理プログラム
今日
富士フイルム株式会社
画像処理装置、画像処理方法、及び画像処理プログラム
今日
富士フイルム株式会社
画像処理装置、画像処理方法、及び画像処理プログラム
5日前
富士フイルム株式会社
画像処理装置、画像処理方法、及び画像処理プログラム
1日前
富士フイルム株式会社
画像処理装置、画像処理方法、及び画像処理プログラム
5日前
富士フイルム株式会社
医用画像取得案内装置、医用画像取得案内システム、及びプログラム
1日前
富士フイルム株式会社
インクジェットインク、画像記録方法、及び、ラミネート体の製造方法
今日
富士フイルム株式会社
インクジェット記録方法、メラミン化粧板の製造方法、及びメラミン化粧板
5日前
富士フイルム株式会社
画像処理装置、方法およびプログラム並びに学習装置、方法およびプログラム
今日
続きを見る
他の特許を見る